REG7105060-mA, 5.0-V, Buck/Boost Charge Pump in ThinSOT-23 | Voltage Regulators - DC DC Switching Regulators | 4 | Active | The REG710 family of devices are switched capacitor voltage converters that generate regulated, low-ripple output voltage from an unregulated input voltage. A wide input supply voltage from 1.8 V to 5.5 V makes the REG710 family of devices ideal for a variety of battery sources, such as single-cell Li-Ion, or 2-cell and 3-cell nickel-based or alkaline-based chemistries.
The input voltage may vary above and below the output voltage and the output remains in regulation. The device works as step-up or step-down converters without the need of an inductor, providing low EMI DC-DC conversion. The high switching frequency allows the use of small surface-mount capacitors, saving board space and reducing cost. The REG710 device is thermally protected and current limited, protecting the load and the regulator during fault conditions. Typical ground pin current (quiescent current) is 65 μA with no load, and less than 1 μA in shutdown mode.
The REG710 family of devices are switched capacitor voltage converters that generate regulated, low-ripple output voltage from an unregulated input voltage. A wide input supply voltage from 1.8 V to 5.5 V makes the REG710 family of devices ideal for a variety of battery sources, such as single-cell Li-Ion, or 2-cell and 3-cell nickel-based or alkaline-based chemistries.
The input voltage may vary above and below the output voltage and the output remains in regulation. The device works as step-up or step-down converters without the need of an inductor, providing low EMI DC-DC conversion. The high switching frequency allows the use of small surface-mount capacitors, saving board space and reducing cost. The REG710 device is thermally protected and current limited, protecting the load and the regulator during fault conditions. Typical ground pin current (quiescent current) is 65 μA with no load, and less than 1 μA in shutdown mode. |
REG7105560-mA, 5.5V, Buck/boost Charge Pump in ThinSOT-23 | Voltage Regulators - DC DC Switching Regulators | 1 | Unknown | The REG710 family of devices are switched capacitor voltage converters that generate regulated, low-ripple output voltage from an unregulated input voltage. A wide input supply voltage from 1.8 V to 5.5 V makes the REG710 family of devices ideal for a variety of battery sources, such as single-cell Li-Ion, or 2-cell and 3-cell nickel-based or alkaline-based chemistries.
The input voltage may vary above and below the output voltage and the output remains in regulation. The device works as step-up or step-down converters without the need of an inductor, providing low EMI DC-DC conversion. The high switching frequency allows the use of small surface-mount capacitors, saving board space and reducing cost. The REG710 device is thermally protected and current limited, protecting the load and the regulator during fault conditions. Typical ground pin current (quiescent current) is 65 μA with no load, and less than 1 μA in shutdown mode.
The REG710 family of devices are switched capacitor voltage converters that generate regulated, low-ripple output voltage from an unregulated input voltage. A wide input supply voltage from 1.8 V to 5.5 V makes the REG710 family of devices ideal for a variety of battery sources, such as single-cell Li-Ion, or 2-cell and 3-cell nickel-based or alkaline-based chemistries.
The input voltage may vary above and below the output voltage and the output remains in regulation. The device works as step-up or step-down converters without the need of an inductor, providing low EMI DC-DC conversion. The high switching frequency allows the use of small surface-mount capacitors, saving board space and reducing cost. The REG710 device is thermally protected and current limited, protecting the load and the regulator during fault conditions. Typical ground pin current (quiescent current) is 65 μA with no load, and less than 1 μA in shutdown mode. |
| Development Boards, Kits, Programmers | 12 | Active | The REG711 is a switched capacitor voltage converter, which produces a regulated, low ripple output voltage from an unregulated input voltage. A wide input supply voltage of 1.8V to 5.5V makes the REG711 ideal for a variety of battery sources, such as single cell Li-Ion, or two and three cell Nickel or Alkaline based chemistries.
The input voltage may vary above and below the output voltage and the output will remain in regulation. It works equally well for step up or down without the need for an inductor, providing low EMI DC/DC conversion. The high switching frequency allows the use of small surface-mount capacitors, saving board space and reducing cost. The REG711 is thermally protected and current limited, protecting the load and the regulator during fault conditions. Typical ground pin current (quiescent current) is 1mA at full load, 60uA with no load, and less than 1uA in shutdown mode. This regulator comes in a thin MSOP-8 package with a component height of less than 1.1mm.
The REG711 is a switched capacitor voltage converter, which produces a regulated, low ripple output voltage from an unregulated input voltage. A wide input supply voltage of 1.8V to 5.5V makes the REG711 ideal for a variety of battery sources, such as single cell Li-Ion, or two and three cell Nickel or Alkaline based chemistries.
The input voltage may vary above and below the output voltage and the output will remain in regulation. It works equally well for step up or down without the need for an inductor, providing low EMI DC/DC conversion. The high switching frequency allows the use of small surface-mount capacitors, saving board space and reducing cost. The REG711 is thermally protected and current limited, protecting the load and the regulator during fault conditions. Typical ground pin current (quiescent current) is 1mA at full load, 60uA with no load, and less than 1uA in shutdown mode. This regulator comes in a thin MSOP-8 package with a component height of less than 1.1mm. |
RES11ALow-noise matched thin-film resistor divider network with 1kΩ fixed input | Resistors | 1 | Active | The RES11A is a matched pair of resistive dividers, implemented in thin-film SiCr with Texas Instruments’ modern, high-performance, analog CMOS process. The device has a nominal input resistance of 1 kΩ, for low thermal and current noise, and is available in several nominal ratios to meet a wide array of system needs. Use the RES11A in an inverse gain configuration by simply rotating the device placement by 180°. This feature supports layout reuse and increases flexibility for applications such as discrete instrumentation or difference amplifier implementations.
The RES11A series features high ratio-matching precision, with the measured ratio of each divider within ±120 ppm (typical) of the nominal. This precision is maintained over the temperature range, with a maximum ratio drift of only ±2 ppm/°C. Additionally, the biased long-term stability of the device has been proven through thorough characterization.
The RES11A is specified with a temperature range from –40°C to +125°C. The device is offered in an 8‑pin, SOT‑23-THIN package, with a body size of 2.9 mm × 1.6 mm (body size is a nominal value and does not include pins).
The RES11A is a matched pair of resistive dividers, implemented in thin-film SiCr with Texas Instruments’ modern, high-performance, analog CMOS process. The device has a nominal input resistance of 1 kΩ, for low thermal and current noise, and is available in several nominal ratios to meet a wide array of system needs. Use the RES11A in an inverse gain configuration by simply rotating the device placement by 180°. This feature supports layout reuse and increases flexibility for applications such as discrete instrumentation or difference amplifier implementations.
The RES11A series features high ratio-matching precision, with the measured ratio of each divider within ±120 ppm (typical) of the nominal. This precision is maintained over the temperature range, with a maximum ratio drift of only ±2 ppm/°C. Additionally, the biased long-term stability of the device has been proven through thorough characterization.
The RES11A is specified with a temperature range from –40°C to +125°C. The device is offered in an 8‑pin, SOT‑23-THIN package, with a body size of 2.9 mm × 1.6 mm (body size is a nominal value and does not include pins). |
RF-HDT-DVBB13.56-MHz Overmolded Transponder Based on Tag-it HF-I Plus Die | RFID Transponders, Tags | 7 | Active | Texas Instruments’ 13.56-MHz encapsulated plus transponder is compliant with the ISO/IEC 15693 and ISO/IEC 18000-3 global open standards. This product offers a user accessible memory of 2048 bits, organized in 64 blocks and an extensive command set.
Designed for harsh environments, such as garment tracking in laundries, each transponder has a 64-bit factory programmed Read Only Number, which is also laser engraved on the transponder housing. Prior to delivery, transponders undergo complete functional and parametric testing to provide the high quality that customers have come to expect from TI.
The 13.56-MHz encapsulated plus transponders are well suited for a variety of applications including but not limited to: laundry garment tracking, process automation, product authentication, and asset management.
Texas Instruments’ 13.56-MHz encapsulated plus transponder is compliant with the ISO/IEC 15693 and ISO/IEC 18000-3 global open standards. This product offers a user accessible memory of 2048 bits, organized in 64 blocks and an extensive command set.
Designed for harsh environments, such as garment tracking in laundries, each transponder has a 64-bit factory programmed Read Only Number, which is also laser engraved on the transponder housing. Prior to delivery, transponders undergo complete functional and parametric testing to provide the high quality that customers have come to expect from TI.
The 13.56-MHz encapsulated plus transponders are well suited for a variety of applications including but not limited to: laundry garment tracking, process automation, product authentication, and asset management. |
RF37S114Tag-it HF-I Type 5 NFC, ISO15693 Transponder, 4 mm × 4 mm | RFID Transponders, Tags | 1 | Active | The TI RF37S114 Tag-it HF-I Type 5 NFC transponder is compliant with the ISO/IEC 15693 and ISO/IEC 18000-3 global open standards. This product offers a user-accessible memory of 256 bits, organized in 8 blocks, and an optimized command set. This transponder product comes with an integrated antenna and, therefore, is ready for application without the need for an external antenna.
The TI RF37S114 Tag-it HF-I Type 5 NFC transponder is compliant with the ISO/IEC 15693 and ISO/IEC 18000-3 global open standards. This product offers a user-accessible memory of 256 bits, organized in 8 blocks, and an optimized command set. This transponder product comes with an integrated antenna and, therefore, is ready for application without the need for an external antenna. |
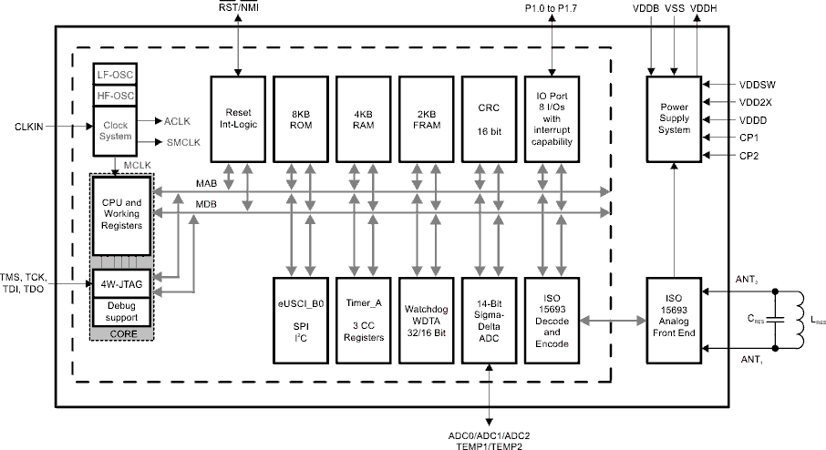
RF430FRL154HNFC ISO15693 Sensor Transponder With SPI/I2C Interface and 14-Bit Sigma-Delta ADC | RF, RFID, Wireless Evaluation Boards | 14 | Active | The TI RF430F5978 system-in-package adds a 3D low-frequency (LF) wake-up and transponder interface to the CC430 ultra-low-power microcontroller system-on-chip (SoC) with integrated sub-1-GHz RF transceiver. This architecture allows activation and deactivation of the device in a dedicated and well-defined area "on-demand" to achieve extended battery life for the whole system. The embedded LF transponder interface is always functional even without battery supply and offers the highest level of security through its 128-bit AES encryption for challenge/response and mutual authentication. The embedded LF transponder interface also adds 2KB of programmable EEPROM memory to the system.
The CC430 ultra-low-power microcontroller system-on-chip (SoC) combines the CC1101 sub-1-GHz RF transceiver with the powerful MSP430 16-bit RISC CPU. Sixteen-bit registers and constant generators contribute to maximum code efficiency. The RF430F5978 device features the MSP430 CPUXV2, 32KB of in-system programmable flash memory, 4KB of RAM, two 16-bit timers, a high-performance 12-bit ADC with six external inputs plus internal temperature and battery sensors, a comparator, two USCIs, a 128-bit AES security accelerator, a hardware multiplier, DMA, and an RTC module with alarm capabilities.
The RF430F5978 provides a tight integration between the microcontroller core, its peripherals, software, and the integrated sub-1-GHz RF transceiver and 3D LF transceiver for wake-up and transponder interface, making these solutions easy to use while improving performance.
For complete module descriptions, see the (SLAU378).
The TI RF430F5978 system-in-package adds a 3D low-frequency (LF) wake-up and transponder interface to the CC430 ultra-low-power microcontroller system-on-chip (SoC) with integrated sub-1-GHz RF transceiver. This architecture allows activation and deactivation of the device in a dedicated and well-defined area "on-demand" to achieve extended battery life for the whole system. The embedded LF transponder interface is always functional even without battery supply and offers the highest level of security through its 128-bit AES encryption for challenge/response and mutual authentication. The embedded LF transponder interface also adds 2KB of programmable EEPROM memory to the system.
The CC430 ultra-low-power microcontroller system-on-chip (SoC) combines the CC1101 sub-1-GHz RF transceiver with the powerful MSP430 16-bit RISC CPU. Sixteen-bit registers and constant generators contribute to maximum code efficiency. The RF430F5978 device features the MSP430 CPUXV2, 32KB of in-system programmable flash memory, 4KB of RAM, two 16-bit timers, a high-performance 12-bit ADC with six external inputs plus internal temperature and battery sensors, a comparator, two USCIs, a 128-bit AES security accelerator, a hardware multiplier, DMA, and an RTC module with alarm capabilities.
The RF430F5978 provides a tight integration between the microcontroller core, its peripherals, software, and the integrated sub-1-GHz RF transceiver and 3D LF transceiver for wake-up and transponder interface, making these solutions easy to use while improving performance.
For complete module descriptions, see the (SLAU378). |
| Development Boards, Kits, Programmers | 5 | Obsolete | |
| RF and Wireless | 5 | Obsolete | |
| RFID Accessories | 3 | Obsolete | |