ONET4251PA1-Gbps to 4.25-Gbps limiting amplifier with LOS & RSSI | Special Purpose Amplifiers | 2 | Active | The ONET4251PA is a versatile high-speed limiting amplifier for multiple fiber optic applications with data rates up to 4.25 Gbps.
This device provides a gain of about 50 dB, which ensures a full 800-mVp-pdifferential output swing over its wide input signal dynamic range.
The high input signal dynamic range ensures low jitter output signals even when overdriven with input signal swings as high as 1200 mVp-p.
The ONET4251PA comprises a loss of signal detection as well as a received signal strength indicator.
The part is available in a small footprint 3-mm × 3-mm 16-pin QFN package. It requires a single 3.3-V supply.
This power efficient limiting amplifier dissipates less than 89 mW typical. It is characterized for operation from -40°C to 85°C.
The ONET4251PA is a versatile high-speed limiting amplifier for multiple fiber optic applications with data rates up to 4.25 Gbps.
This device provides a gain of about 50 dB, which ensures a full 800-mVp-pdifferential output swing over its wide input signal dynamic range.
The high input signal dynamic range ensures low jitter output signals even when overdriven with input signal swings as high as 1200 mVp-p.
The ONET4251PA comprises a loss of signal detection as well as a received signal strength indicator.
The part is available in a small footprint 3-mm × 3-mm 16-pin QFN package. It requires a single 3.3-V supply.
This power efficient limiting amplifier dissipates less than 89 mW typical. It is characterized for operation from -40°C to 85°C. |
ONET4291VA1-Gbps to 4.25-Gbps rate-selectable limiting amplifier | Special Purpose Amplifiers | 5 | Obsolete | The ONET4291PA is a versatile, high-speed, rate-selectable limiting amplifier for multiple fiber-optic applications with data rates up to 4.25 Gbps.
The device provides a two-wire interface, which allows digital bandwidth selection, digital output amplitude selection, and digital loss of signal threshold adjust.
This device provides a gain of about 43 dB, which ensures a fully differential output swing for input signals as low as 5 mVp-p.
The ONET4291PA provides loss-of-signal detection with either digital or analog threshold adjust.
The part is available in a small-footprint, 4-mm × 4-mm, 16-terminal QFN package. It requires a single 3.3-V supply.
This power-efficient, rate-selectable limiting amplifier is characterized for operation from -40°C to 85°C ambient temperature.
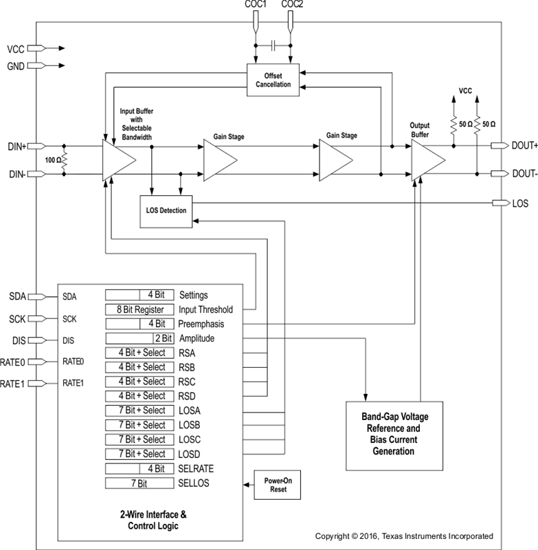
The ONET4291PA is a versatile, high-speed, rate-selectable limiting amplifier for multiple fiber-optic applications with data rates up to 4.25 Gbps.
The device provides a two-wire interface, which allows digital bandwidth selection, digital output amplitude selection, and digital loss of signal threshold adjust.
This device provides a gain of about 43 dB, which ensures a fully differential output swing for input signals as low as 5 mVp-p.
The ONET4291PA provides loss-of-signal detection with either digital or analog threshold adjust.
The part is available in a small-footprint, 4-mm × 4-mm, 16-terminal QFN package. It requires a single 3.3-V supply.
This power-efficient, rate-selectable limiting amplifier is characterized for operation from -40°C to 85°C ambient temperature. |
ONET8501PB11.3-Gbps rate-selectable limiting amplifier | Instrumentation, Op Amps, Buffer Amps | 6 | Active | The ONET8501PB device is a high-speed, 3.3-V limiting amplifier for multiple fiber optic and copper cable applications with data rates from 2 Gbps up to 11.3 Gbps.
The device provides a two-wire serial interface which allows digital control of the bandwidth, output amplitude, output preemphasis, input threshold voltage (slice level), and the loss of signal assert level. Predetermined settings for bandwidth and LOS assert levels can also be selected with external rate selection pins.
The ONET8501PB provides a gain of about 34 dB which ensures a fully differential output swing for input signals as low as 20 mVpp. The output amplitude can be adjusted to 350 mVpp, 650 mVpp, or 850 mVpp. To compensate for frequency-dependent loss of microstrips or striplines connected to the output of the device, programmable preemphasis is included in the output stage. A settable loss of signal detection and output disable are also provided.
The device, available in RoHS compliant small footprint 3-mm × 3-mm, 16-pin VQFN package, typically dissipates less than 170 mW and is characterized for operation from &3150;40°C to 100°C.
The ONET8501PB device is a high-speed, 3.3-V limiting amplifier for multiple fiber optic and copper cable applications with data rates from 2 Gbps up to 11.3 Gbps.
The device provides a two-wire serial interface which allows digital control of the bandwidth, output amplitude, output preemphasis, input threshold voltage (slice level), and the loss of signal assert level. Predetermined settings for bandwidth and LOS assert levels can also be selected with external rate selection pins.
The ONET8501PB provides a gain of about 34 dB which ensures a fully differential output swing for input signals as low as 20 mVpp. The output amplitude can be adjusted to 350 mVpp, 650 mVpp, or 850 mVpp. To compensate for frequency-dependent loss of microstrips or striplines connected to the output of the device, programmable preemphasis is included in the output stage. A settable loss of signal detection and output disable are also provided.
The device, available in RoHS compliant small footprint 3-mm × 3-mm, 16-pin VQFN package, typically dissipates less than 170 mW and is characterized for operation from &3150;40°C to 100°C. |
| Amplifiers | 1 | Obsolete | |
ONET8521T9-GHz, 2.4-kΩ transimpedance amplifier with RSSI | Amplifiers | 1 | Active | The ONET8521T is a high-speed, limiting transimpedance amplifier used in optical receivers with data rates up to 11.3Gbps. It features low input referred noise, 9GHz bandwidth, 2.4kΩ small signal transimpedance, and a received signal strength indicator (RSSI).
The ONET8521T is available in die form, includes an on-chip VCCbypass capacitor and is optimized for packaging in a TO can.
The ONET8521T requires a single 3.3V ±10% supply and its power efficient design typically dissipates less than 90mW. The device is characterized for operation from –40°C to 100°C case (IC back side) temperature.
The ONET8521T is a high-speed, limiting transimpedance amplifier used in optical receivers with data rates up to 11.3Gbps. It features low input referred noise, 9GHz bandwidth, 2.4kΩ small signal transimpedance, and a received signal strength indicator (RSSI).
The ONET8521T is available in die form, includes an on-chip VCCbypass capacitor and is optimized for packaging in a TO can.
The ONET8521T requires a single 3.3V ±10% supply and its power efficient design typically dissipates less than 90mW. The device is characterized for operation from –40°C to 100°C case (IC back side) temperature. |
| Instrumentation, Op Amps, Buffer Amps | 3 | Active | |
ONET8541T9-GHz, 4-kΩ transimpedance amplifier with RSSI | Linear | 1 | Active | The ONET8541T is a high-speed, high gain, limiting transimpedance amplifier used in optical receivers with data rates up to 11.3Gbps. It features low input referred noise, 9GHz bandwidth, 4kΩ small signal transimpedance, and a received signal strength indicator (RSSI).
The ONET8541T is available in die form, includes an on-chip VCCbypass capacitor and is optimized for packaging in a TO can.
The ONET8541T requires a single 3.3V ±10% supply and its power efficient design typically dissipates less than 90mW. The device is characterized for operation from –40°C to 100°C case (IC back side) temperature.
The ONET8541T is a high-speed, high gain, limiting transimpedance amplifier used in optical receivers with data rates up to 11.3Gbps. It features low input referred noise, 9GHz bandwidth, 4kΩ small signal transimpedance, and a received signal strength indicator (RSSI).
The ONET8541T is available in die form, includes an on-chip VCCbypass capacitor and is optimized for packaging in a TO can.
The ONET8541T requires a single 3.3V ±10% supply and its power efficient design typically dissipates less than 90mW. The device is characterized for operation from –40°C to 100°C case (IC back side) temperature. |
ONET8551T11.3-Gbps limiting transimpedance amplifier with RSSI | Linear | 3 | Active | The ONET8551T device is a high-speed, high-gain, limiting transimpedance amplifier used in optical receivers with data rates up to 11.3 Gbps. It features low-input referred noise, 9-GHz bandwidth, 10-kΩ small signal transimpedance, and a received signal strength indicator (RSSI.
The ONET8551T device is available in die form, includes an on-chip VCC bypass capacitor, and is optimized for packaging in a TO can.
The ONET8551T device requires a single +3.3-V supply. The power-efficient design typically dissipates less than 95 mW. The device is characterized for operation from –40°C to 100°C case (IC back-side) temperature.
The ONET8551T device is a high-speed, high-gain, limiting transimpedance amplifier used in optical receivers with data rates up to 11.3 Gbps. It features low-input referred noise, 9-GHz bandwidth, 10-kΩ small signal transimpedance, and a received signal strength indicator (RSSI.
The ONET8551T device is available in die form, includes an on-chip VCC bypass capacitor, and is optimized for packaging in a TO can.
The ONET8551T device requires a single +3.3-V supply. The power-efficient design typically dissipates less than 95 mW. The device is characterized for operation from –40°C to 100°C case (IC back-side) temperature. |
| Amplifiers | 3 | Obsolete | |
OP-07Low-offset voltage, single operational amplifier | Linear | 11 | Active | The OP07C and OP07D (OP07x) devices offer low offset and long-term stability by means of a low-noise, chopperless, bipolar‑input‑transistor amplifier circuit. For most applications, external components are not required for offset nulling and frequency compensation. The true differential input, with a wide input-voltage range and outstanding common-mode rejection, provides maximum flexibility and performance in high-noise environments and in noninverting applications. Low bias currents and extremely high input impedances are maintained over the entire temperature range.
For improved performance and wider temperature range, see the next generationOPA207with low power, andOPA202with heavy capacitive load drive capability.
The OP07C and OP07D (OP07x) devices offer low offset and long-term stability by means of a low-noise, chopperless, bipolar‑input‑transistor amplifier circuit. For most applications, external components are not required for offset nulling and frequency compensation. The true differential input, with a wide input-voltage range and outstanding common-mode rejection, provides maximum flexibility and performance in high-noise environments and in noninverting applications. Low bias currents and extremely high input impedances are maintained over the entire temperature range.
For improved performance and wider temperature range, see the next generationOPA207with low power, andOPA202with heavy capacitive load drive capability. |