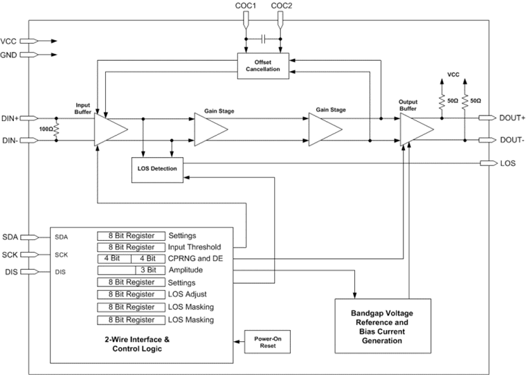
| Laser Drivers | 1 | Active | The ONET1141L is a high-speed, 3.3V electroabsorption modulator driver designed to bias and modulate an electroabsorptive modulated laser (EML) at data rates from 1 Gbps up to 11.3 Gbps.
The device provides a two-wire serial interface which allows digital control of the modulation and bias currents, eliminating the need for external components. Output waveform control, in the form of cross-point adjustment and rise and fall time adjustment are available to improve the optical eye mask margin. An optional input equalizer can be used for equalization of up to 150mm (6") of microstrip or stripline transmission line on FR4 printed circuit boards. The device contains internal analog to digital and digital to analog converters to eliminate the need for special purpose microcontrollers.
The ONET1141L includes an integrated automatic power control (APC) loop which compensates for variations in laser average optical power over voltage and temperature and circuitry to support laser safety and transceiver management systems.
The modulator driver is characterized for operation from –40°C to 100°C case temperatures and is available in a small footprint 4mm × 4mm 24 pin RoHS compliant QFN package.
The ONET1141L is a high-speed, 3.3V electroabsorption modulator driver designed to bias and modulate an electroabsorptive modulated laser (EML) at data rates from 1 Gbps up to 11.3 Gbps.
The device provides a two-wire serial interface which allows digital control of the modulation and bias currents, eliminating the need for external components. Output waveform control, in the form of cross-point adjustment and rise and fall time adjustment are available to improve the optical eye mask margin. An optional input equalizer can be used for equalization of up to 150mm (6") of microstrip or stripline transmission line on FR4 printed circuit boards. The device contains internal analog to digital and digital to analog converters to eliminate the need for special purpose microcontrollers.
The ONET1141L includes an integrated automatic power control (APC) loop which compensates for variations in laser average optical power over voltage and temperature and circuitry to support laser safety and transceiver management systems.
The modulator driver is characterized for operation from –40°C to 100°C case temperatures and is available in a small footprint 4mm × 4mm 24 pin RoHS compliant QFN package. |
ONET1151M11.35-Gbps differential modulator driver with output waveform shaping | Laser Drivers | 4 | Active | The ONET1151L device is a 3.3-V laser driver designed to directly modulate a laser at data rates from 1 to 11.3 Gbps.
The device provides a 2-wire serial interface, which allows digital control of the modulation and bias currents, eliminating the need for external components. Output waveform control, in the form of cross-point adjustment, de-emphasis, and output termination resistance are available to improve the optical eye mask margin. An optional input equalizer can be used for equalization of up to 150 mm (6 in.) of microstrip or stripline transmission line on FR4-printed circuit boards. The device contains internal ADC and DACs to eliminate the need for special purpose microcontrollers.
The ONET1151L device includes an integrated automatic power control (APC) loop, which compensates for variations in laser average power over voltage and temperature and circuitry to support laser safety and transceiver management systems.
The laser driver is characterized for operation from –40°C ambient to +100°C temperatures and is available in a small footprint 4-mm × 4-mm, 24-pin, RoHS-compliant QFN package that is pin-compatible to the ONET1101L device.
The ONET1151L device is a 3.3-V laser driver designed to directly modulate a laser at data rates from 1 to 11.3 Gbps.
The device provides a 2-wire serial interface, which allows digital control of the modulation and bias currents, eliminating the need for external components. Output waveform control, in the form of cross-point adjustment, de-emphasis, and output termination resistance are available to improve the optical eye mask margin. An optional input equalizer can be used for equalization of up to 150 mm (6 in.) of microstrip or stripline transmission line on FR4-printed circuit boards. The device contains internal ADC and DACs to eliminate the need for special purpose microcontrollers.
The ONET1151L device includes an integrated automatic power control (APC) loop, which compensates for variations in laser average power over voltage and temperature and circuitry to support laser safety and transceiver management systems.
The laser driver is characterized for operation from –40°C ambient to +100°C temperatures and is available in a small footprint 4-mm × 4-mm, 24-pin, RoHS-compliant QFN package that is pin-compatible to the ONET1101L device. |
| Amplifiers | 2 | Obsolete | |
| Integrated Circuits (ICs) | 2 | Obsolete | |
| Instrumentation, Op Amps, Buffer Amps | 1 | Obsolete | |
| Amplifiers | 1 | Obsolete | |
ONET2804TLP28-Gbps low-power 4-channel limiting transimpedance amplifier with RSSI | Integrated Circuits (ICs) | 2 | Active | The ONET2804T is a high gain limiting transimpedance amplifier for parallel optical interconnects with data rates up to 28 Gbps. The device is used in conjunction with a 750 µm pitch photodiode array to convert an optical signal into a differential output voltage. An internal circuit provides the photodiode reverse bias voltage and senses the average photocurrent supplied to each photodiode.
The device can be used with pin control or a two-wire serial interface to allow control of the output amplitude, gain, bandwidth and input threshold.
The ONET2804T provides 21 GHz bandwidth, a gain of 10 kΩ, an input referred noise of 1.8 µArmsand a received signal strength indicator (RSSI) for each channel. 40 dB isolation between channels results in low crosstalk penalty in the receiver.
The part requires a single 3.3 V supply and typically dissipates 139 mW per channel with a differential output amplitude of 500 mVPP. It is characterized for operation from –40°C to 100°C temperatures and is available in die form with a 750 µm channel pitch.
To request a full data sheet, please send an email to:onet2804t_request@ti.com.
The ONET2804T is a high gain limiting transimpedance amplifier for parallel optical interconnects with data rates up to 28 Gbps. The device is used in conjunction with a 750 µm pitch photodiode array to convert an optical signal into a differential output voltage. An internal circuit provides the photodiode reverse bias voltage and senses the average photocurrent supplied to each photodiode.
The device can be used with pin control or a two-wire serial interface to allow control of the output amplitude, gain, bandwidth and input threshold.
The ONET2804T provides 21 GHz bandwidth, a gain of 10 kΩ, an input referred noise of 1.8 µArmsand a received signal strength indicator (RSSI) for each channel. 40 dB isolation between channels results in low crosstalk penalty in the receiver.
The part requires a single 3.3 V supply and typically dissipates 139 mW per channel with a differential output amplitude of 500 mVPP. It is characterized for operation from –40°C to 100°C temperatures and is available in die form with a 750 µm channel pitch.
To request a full data sheet, please send an email to:onet2804t_request@ti.com. |
| Amplifiers | 1 | Obsolete | |
ONET4201PA155-Mbps to 4.25-Gbps laser driver with active back termination | Amplifiers | 6 | Active | The ONET4201PA is a versatile high-speed, 3.3-V limiting amplifier for multiple fiber optic applications with data rates up to 4.25 Gbps.
This device provides a gain of about 50 dB, which ensures a fully differential output swing for input signals as low as 3 mVp-p.
The high input signal dynamic range ensures low jitter output signals even when overdriven with input signal swings as high as 1200 mVp-p.
The ONET4201PA provides a loss of signal detection as well as a received signal strength indicator.
The part is available in a small footprint 3-mm × 3-mm 16-pin QFN package and is pin-compatible with the ONET2501PA and ONET3301PA.
This power efficient limiting amplifier typically dissipates less than 89 mW and it is characterized for operation from -40°C to 85°C.
The ONET4201PA is a versatile high-speed, 3.3-V limiting amplifier for multiple fiber optic applications with data rates up to 4.25 Gbps.
This device provides a gain of about 50 dB, which ensures a fully differential output swing for input signals as low as 3 mVp-p.
The high input signal dynamic range ensures low jitter output signals even when overdriven with input signal swings as high as 1200 mVp-p.
The ONET4201PA provides a loss of signal detection as well as a received signal strength indicator.
The part is available in a small footprint 3-mm × 3-mm 16-pin QFN package and is pin-compatible with the ONET2501PA and ONET3301PA.
This power efficient limiting amplifier typically dissipates less than 89 mW and it is characterized for operation from -40°C to 85°C. |
| Power Management (PMIC) | 1 | Active | The ONET4211LD is a laser driver for multiple fiber optic applications up to 4.25 Gbps. The device accepts CML input data and provides bias and modulation currents for driving a laser diode. Also provided are automatic power control (APC), temperature compensation of modulation current, fault detection, and current monitor features.
The device is available in a small-footprint, 4 mm × 4 mm 24-pin QFN package. The circuit requires a single 3.3-V supply.
This power-efficient laser driver is characterized for operation from -40°C to 85°C.
The ONET4211LD is a laser driver for multiple fiber optic applications up to 4.25 Gbps. The device accepts CML input data and provides bias and modulation currents for driving a laser diode. Also provided are automatic power control (APC), temperature compensation of modulation current, fault detection, and current monitor features.
The device is available in a small-footprint, 4 mm × 4 mm 24-pin QFN package. The circuit requires a single 3.3-V supply.
This power-efficient laser driver is characterized for operation from -40°C to 85°C. |