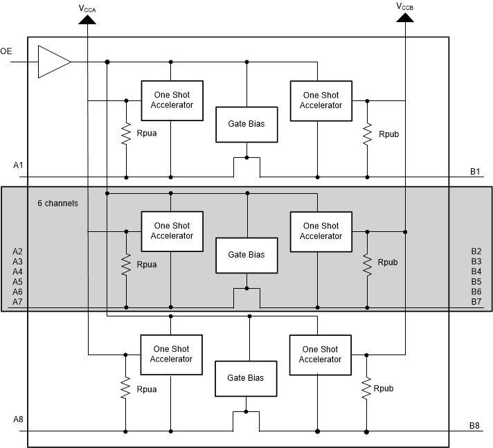
TXS0104Automotive four-bit bidirectional voltage-level translator for open-drain applications | Integrated Circuits (ICs) | 12 | Active | This 4-bit non-inverting translator uses two separate configurable power-supply rails. The A port is designed to track V CCA. V CCA accepts any supply voltage from 1.65 V to 3.6 V. V CCA must be less than or equal to V CCB. The B port is designed to track V CCB. V CCB accepts any supply voltage from 2.3 V to 5.5 V. This allows for low-voltage bidirectional translation between any of the 1.8-V, 2.5-V, 3.3-V, and 5-V voltage nodes.
When the output-enable (OE) input is low, all outputs are placed in the high-impedance state.
The TXS0104E is designed so that the OE input circuit is supplied by V CCA.
For the high-impedance state during power up or power down, tie OE to GND through a pull-down resistor; the minimum value of the resistor is determined by the current-sourcing capability of the driver.
This 4-bit non-inverting translator uses two separate configurable power-supply rails. The A port is designed to track V CCA. V CCA accepts any supply voltage from 1.65 V to 3.6 V. V CCA must be less than or equal to V CCB. The B port is designed to track V CCB. V CCB accepts any supply voltage from 2.3 V to 5.5 V. This allows for low-voltage bidirectional translation between any of the 1.8-V, 2.5-V, 3.3-V, and 5-V voltage nodes.
When the output-enable (OE) input is low, all outputs are placed in the high-impedance state.
The TXS0104E is designed so that the OE input circuit is supplied by V CCA.
For the high-impedance state during power up or power down, tie OE to GND through a pull-down resistor; the minimum value of the resistor is determined by the current-sourcing capability of the driver. |
TXS0104EFour-bit bidirectional voltage-level shifter for open-drain and push-pull applications | Integrated Circuits (ICs) | 2 | Active | This 4-bit non-inverting translator uses two separate configurable power-supply rails. The A port is designed to track V CCA. V CCA accepts any supply voltage from 1.65 V to 3.6 V. V CCA must be less than or equal to V CCB. The B port is designed to track V CCB. V CCB accepts any supply voltage from 2.3 V to 5.5 V. This allows for low-voltage bidirectional translation between any of the 1.8-V, 2.5-V, 3.3-V, and 5-V voltage nodes.
When the output-enable (OE) input is low, all outputs are placed in the high-impedance state.
The TXS0104E is designed so that the OE input circuit is supplied by V CCA.
For the high-impedance state during power up or power down, tie OE to GND through a pull-down resistor; the minimum value of the resistor is determined by the current-sourcing capability of the driver.
This 4-bit non-inverting translator uses two separate configurable power-supply rails. The A port is designed to track V CCA. V CCA accepts any supply voltage from 1.65 V to 3.6 V. V CCA must be less than or equal to V CCB. The B port is designed to track V CCB. V CCB accepts any supply voltage from 2.3 V to 5.5 V. This allows for low-voltage bidirectional translation between any of the 1.8-V, 2.5-V, 3.3-V, and 5-V voltage nodes.
When the output-enable (OE) input is low, all outputs are placed in the high-impedance state.
The TXS0104E is designed so that the OE input circuit is supplied by V CCA.
For the high-impedance state during power up or power down, tie OE to GND through a pull-down resistor; the minimum value of the resistor is determined by the current-sourcing capability of the driver. |
TXS0104E-Q1Automotive four-bit bidirectional voltage-level translator for open-drain applications | Logic | 2 | Active | The TXS0104E-Q1 device connects an incompatible logic communication from chip-to-chip due to voltage mismatch. This auto-direction translator can be conveniently used to bridge the gap without the need of direction control from the host. Each channel can be mixed and matched with different output types (open-drain or push-pull) and mixed data flows (transmit or receive) without intervention from the host. This 4-bit noninverting translator uses two separate configurable power-supply rails. The A and B ports are designed to track VCCA and VCCB respectively. The VCCB pin accepts any supply voltage from 2.3 V to 5.5 V while the VCCA pin accepts any supply voltage from 1.65 V to 3.6 V such that VCCA is less than or equal to VCCB. This tracking allows for low-voltage bidirectional translation between any of the 1.8-V, 2.5-V, 3.3-V, and 5-V voltage nodes.
When the output-enable (OE) input is low, all outputs are placed in the high-impedance state.
The TXS0104E-Q1 device is designed so that the OE input circuit is supplied by VCCA.
To be in the high-impedance state during power up or power down, the OE pin must be tied to the GND pin through a pull down resistor; the minimum value of the resistor is determined by the current-sourcing capability of the driver.
The TXS0104E-Q1 device connects an incompatible logic communication from chip-to-chip due to voltage mismatch. This auto-direction translator can be conveniently used to bridge the gap without the need of direction control from the host. Each channel can be mixed and matched with different output types (open-drain or push-pull) and mixed data flows (transmit or receive) without intervention from the host. This 4-bit noninverting translator uses two separate configurable power-supply rails. The A and B ports are designed to track VCCA and VCCB respectively. The VCCB pin accepts any supply voltage from 2.3 V to 5.5 V while the VCCA pin accepts any supply voltage from 1.65 V to 3.6 V such that VCCA is less than or equal to VCCB. This tracking allows for low-voltage bidirectional translation between any of the 1.8-V, 2.5-V, 3.3-V, and 5-V voltage nodes.
When the output-enable (OE) input is low, all outputs are placed in the high-impedance state.
The TXS0104E-Q1 device is designed so that the OE input circuit is supplied by VCCA.
To be in the high-impedance state during power up or power down, the OE pin must be tied to the GND pin through a pull down resistor; the minimum value of the resistor is determined by the current-sourcing capability of the driver. |
TXS0104VFour-bit bidirectional level shifter for open-drain and push-pull applications | Integrated Circuits (ICs) | 7 | Active | This 4-bit non-inverting translator uses two separate configurable power-supply rails. The A port is designed to track VCCA. VCCA accepts any supply voltage from 1.65V to 3.6V. VCCA must be less than or equal to VCCB. The B port is designed to track VCCB. VCCB accepts any supply voltage from 2.3V to 5.5V. This allows for low-voltage bidirectional translation between any of the 1.8V, 2.5V, 3.3V, and 5V voltage nodes.
When the output-enable (OE) input is low, all outputs are placed in the high-impedance state.
The TXS0104V is designed so that the OE input circuit is supplied by VCCA.
For the high-impedance state during power up or power down, tie OE to GND through a pull-down resistor; the current-sourcing capability of the driver determines the minimum value of the resistor.
This 4-bit non-inverting translator uses two separate configurable power-supply rails. The A port is designed to track VCCA. VCCA accepts any supply voltage from 1.65V to 3.6V. VCCA must be less than or equal to VCCB. The B port is designed to track VCCB. VCCB accepts any supply voltage from 2.3V to 5.5V. This allows for low-voltage bidirectional translation between any of the 1.8V, 2.5V, 3.3V, and 5V voltage nodes.
When the output-enable (OE) input is low, all outputs are placed in the high-impedance state.
The TXS0104V is designed so that the OE input circuit is supplied by VCCA.
For the high-impedance state during power up or power down, tie OE to GND through a pull-down resistor; the current-sourcing capability of the driver determines the minimum value of the resistor. |
TXS0104V-Q1Automotive 4-bit bidirectional level shifter for open-drain and push-pull applications | Integrated Circuits (ICs) | 1 | Active | This 4-bit non-inverting translator uses two separate configurable power-supply rails. The A port is designed to track VCCA. VCCA accepts any supply voltage from 1.65V to 3.6V. VCCA must be less than or equal to VCCB. The B port is designed to track VCCB. VCCB accepts any supply voltage from 2.3V to 5.5V. This allows for low-voltage bidirectional translation between any of the 1.8V, 2.5V, 3.3V, and 5V voltage nodes.
When the output-enable (OE) input is low, all outputs are placed in the high-impedance state.
The TXS0104V-Q1 is designed so that the OE input circuit is supplied by VCCA.
For the high-impedance state during power up or power down, tie OE to GND through a pull-down resistor; the current-sourcing capability of the driver determines the minimum value of the resistor.
This 4-bit non-inverting translator uses two separate configurable power-supply rails. The A port is designed to track VCCA. VCCA accepts any supply voltage from 1.65V to 3.6V. VCCA must be less than or equal to VCCB. The B port is designed to track VCCB. VCCB accepts any supply voltage from 2.3V to 5.5V. This allows for low-voltage bidirectional translation between any of the 1.8V, 2.5V, 3.3V, and 5V voltage nodes.
When the output-enable (OE) input is low, all outputs are placed in the high-impedance state.
The TXS0104V-Q1 is designed so that the OE input circuit is supplied by VCCA.
For the high-impedance state during power up or power down, tie OE to GND through a pull-down resistor; the current-sourcing capability of the driver determines the minimum value of the resistor. |
TXS0108Eight-bit bidirectional voltage-level shifter for open-drain and push-pull applications | Translators, Level Shifters | 6 | Active | This device is an 8-bit non-inverting level translator which uses two separate configurable power-supply rails. The A port tracks the VCCA pin supply voltage. The VCCA pin accepts any supply voltage between 1.4V and 3.6V. The B port tracks the VCCB pin supply voltage. The VCCB pin accepts any supply voltage between 1.65V and 5.5V. Two input supply pins allows for low Voltage bidirectional translation between any of the 1.5V, 1.8V, 2.5V, 3.3V, and 5V voltage nodes.
When the output-enable (OE) input is low, all outputs are placed in the high-impedance (Hi-Z) state.
To put the device in the Hi-Z state during power-up or power-down periods, tie OE to GND through a pull-down resistor. The current-sourcing capability of the driver determines the minimum value of the resistor.
This device is an 8-bit non-inverting level translator which uses two separate configurable power-supply rails. The A port tracks the VCCA pin supply voltage. The VCCA pin accepts any supply voltage between 1.4V and 3.6V. The B port tracks the VCCB pin supply voltage. The VCCB pin accepts any supply voltage between 1.65V and 5.5V. Two input supply pins allows for low Voltage bidirectional translation between any of the 1.5V, 1.8V, 2.5V, 3.3V, and 5V voltage nodes.
When the output-enable (OE) input is low, all outputs are placed in the high-impedance (Hi-Z) state.
To put the device in the Hi-Z state during power-up or power-down periods, tie OE to GND through a pull-down resistor. The current-sourcing capability of the driver determines the minimum value of the resistor. |
TXS0108EEight-bit bidirectional voltage-level shifter for open-drain and push-pull applications | Translators, Level Shifters | 1 | Active | This device is an 8-bit non-inverting level translator which uses two separate configurable power-supply rails. The A port tracks the VCCA pin supply voltage. The VCCA pin accepts any supply voltage between 1.4V and 3.6V. The B port tracks the VCCB pin supply voltage. The VCCB pin accepts any supply voltage between 1.65V and 5.5V. Two input supply pins allows for low Voltage bidirectional translation between any of the 1.5V, 1.8V, 2.5V, 3.3V, and 5V voltage nodes.
When the output-enable (OE) input is low, all outputs are placed in the high-impedance (Hi-Z) state.
To put the device in the Hi-Z state during power-up or power-down periods, tie OE to GND through a pull-down resistor. The current-sourcing capability of the driver determines the minimum value of the resistor.
This device is an 8-bit non-inverting level translator which uses two separate configurable power-supply rails. The A port tracks the VCCA pin supply voltage. The VCCA pin accepts any supply voltage between 1.4V and 3.6V. The B port tracks the VCCB pin supply voltage. The VCCB pin accepts any supply voltage between 1.65V and 5.5V. Two input supply pins allows for low Voltage bidirectional translation between any of the 1.5V, 1.8V, 2.5V, 3.3V, and 5V voltage nodes.
When the output-enable (OE) input is low, all outputs are placed in the high-impedance (Hi-Z) state.
To put the device in the Hi-Z state during power-up or power-down periods, tie OE to GND through a pull-down resistor. The current-sourcing capability of the driver determines the minimum value of the resistor. |
TXS0108E-Q1Automotive eight-bit bidirectional voltage level shifter for open-drain and push-pull applications | Integrated Circuits (ICs) | 2 | Active | This device is an 8-bit non-inverting level translator which uses two separate configurable power-supply rails. The A port tracks the VCCA pin supply voltage. The VCCA pin accepts any supply voltage between 1.4V and 3.6V. The B port tracks the VCCB pin supply voltage. The VCCB pin accepts any supply voltage between 1.65V and 5.5V. Two input supply pins allows for low Voltage bidirectional translation between any of the 1.5V, 1.8V, 2.5V, 3.3V, and 5V voltage nodes.
When the output-enable (OE) input is low, all outputs are placed in the high-impedance (Hi-Z) state.
To put the device in the Hi-Z state during power-up or power-down periods, tie OE to GND through a pull-down resistor. The current-sourcing capability of the driver determines the minimum value of the resistor.
This device is an 8-bit non-inverting level translator which uses two separate configurable power-supply rails. The A port tracks the VCCA pin supply voltage. The VCCA pin accepts any supply voltage between 1.4V and 3.6V. The B port tracks the VCCB pin supply voltage. The VCCB pin accepts any supply voltage between 1.65V and 5.5V. Two input supply pins allows for low Voltage bidirectional translation between any of the 1.5V, 1.8V, 2.5V, 3.3V, and 5V voltage nodes.
When the output-enable (OE) input is low, all outputs are placed in the high-impedance (Hi-Z) state.
To put the device in the Hi-Z state during power-up or power-down periods, tie OE to GND through a pull-down resistor. The current-sourcing capability of the driver determines the minimum value of the resistor. |
TXS0202Voltage-Level Shifter for IC-USB Interface | Evaluation and Demonstration Boards and Kits | 2 | Active | The TXS0202 is a 2-bit voltage level translator optimized for use in Interchip USB (IC-USB) applications. VCCAand VCCBcan each operate over the full range of 1.65 V to 3.6 V. The device has been designed to maintain cross-over skew to be less than 1 ns. The device has integrated pull-ups and pull-down resistors to aid in the protocol communication between a host and a peripheral. The translator is a buffered auto-direction sensing type translator. When the output-enable (OE) input is low, all outputs are placed in the high-impedance state.
This device is fully specified for partial-power-down applications using Ioff. The Ioffcircuitry disables the outputs, preventing damaging current backflow through the device when it is powered down. To ensure the high-impedance state during power up or power down, OE should be tied to GND through a pull-down resistor; the minimum value of the resistor is determined by the current-sourcing capability of the driver.
The TXS0202 is a 2-bit voltage level translator optimized for use in Interchip USB (IC-USB) applications. VCCAand VCCBcan each operate over the full range of 1.65 V to 3.6 V. The device has been designed to maintain cross-over skew to be less than 1 ns. The device has integrated pull-ups and pull-down resistors to aid in the protocol communication between a host and a peripheral. The translator is a buffered auto-direction sensing type translator. When the output-enable (OE) input is low, all outputs are placed in the high-impedance state.
This device is fully specified for partial-power-down applications using Ioff. The Ioffcircuitry disables the outputs, preventing damaging current backflow through the device when it is powered down. To ensure the high-impedance state during power up or power down, OE should be tied to GND through a pull-down resistor; the minimum value of the resistor is determined by the current-sourcing capability of the driver. |
TXS0206MMC, SD Card, MemoryStick Voltage-Translation Transceiver With ESD Protection and EMI Filtering | Development Boards, Kits, Programmers | 5 | Active | The TXS0206-29 is a complete solution for interfacing microprocessors with MultiMediaCards (MMCs), secure digital (SD) cards, and Memory Stick™ cards. It is comprised of a high-speed level translator, a low-dropout (LDO) voltage regulator, IEC level ESD protection, and EMI filtering circuitry.
The voltage-level translator has two supply voltage pins. VCCAcan be operated over the full range of 1.1 V to 3.6 V. VCCBis set at 2.9 V and is supplied by an internal LDO. The integrated LDO accepts input voltages from 3.05 V to as high as 5.5 V and outputs 2.9 V, 200 mA to the B-side circuitry and to the external memory card. The TXS0206-29 enables system designers to easily interface low-voltage microprocessors to memory cards operating at 2.9 V.
Memory card standards recommend high-ESD protection for devices that connect directly to the external memory card. To meet this need, the TXS0206-29 incorporates ±8-kV Contact Discharge protection on the card side.
Since memory cards are widely used in mobile phones, PDAs, digital cameras, personal media players, camcorders, set-top boxes, etc. Low static power consumption and small package size make the TXS0206-29 an ideal choice for these applications. The TXS0206-29 is offered in a 20-bump wafer chip scale package (WCSP). This package has dimensions of 1.96 mm × 1.56 mm, with a 0.4-mm ball pitch for effective board-space savings.
The TXS0206-29 is a complete solution for interfacing microprocessors with MultiMediaCards (MMCs), secure digital (SD) cards, and Memory Stick™ cards. It is comprised of a high-speed level translator, a low-dropout (LDO) voltage regulator, IEC level ESD protection, and EMI filtering circuitry.
The voltage-level translator has two supply voltage pins. VCCAcan be operated over the full range of 1.1 V to 3.6 V. VCCBis set at 2.9 V and is supplied by an internal LDO. The integrated LDO accepts input voltages from 3.05 V to as high as 5.5 V and outputs 2.9 V, 200 mA to the B-side circuitry and to the external memory card. The TXS0206-29 enables system designers to easily interface low-voltage microprocessors to memory cards operating at 2.9 V.
Memory card standards recommend high-ESD protection for devices that connect directly to the external memory card. To meet this need, the TXS0206-29 incorporates ±8-kV Contact Discharge protection on the card side.
Since memory cards are widely used in mobile phones, PDAs, digital cameras, personal media players, camcorders, set-top boxes, etc. Low static power consumption and small package size make the TXS0206-29 an ideal choice for these applications. The TXS0206-29 is offered in a 20-bump wafer chip scale package (WCSP). This package has dimensions of 1.96 mm × 1.56 mm, with a 0.4-mm ball pitch for effective board-space savings. |