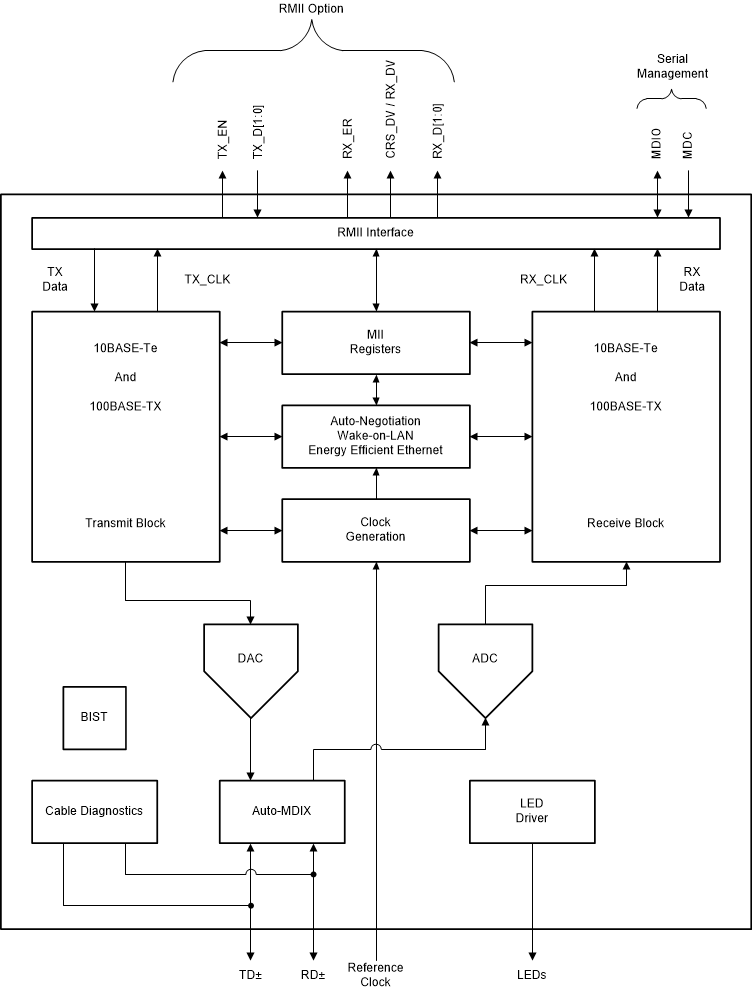
DP83825ISmallest form factor (3-mm by 3-mm), low-power 10/100-Mbps Ethernet PHY transceiver with 50-MHz c | Interface | 2 | Active | The DP83825I is an ultra small form factor, very low power Ethernet Physical Layer transceiver with integrated PMD sublayers to support 10BASE-Te, 100BASE-TX Ethernet protocols. The PHY supports up to 150 meters reach over CAT5e cable. The DP83825I interfaces directly to twisted pair media via an external transformer.
The DP83825I also supports Energy Efficient Ethernet, Wake-on-LAN and MAC isolation to further lower the system power consumption. Energy Efficient Mode can be enabled through register configuration for legacy MACs not supporting EEE signaling over MAC. DP83825I can operate in unmanaged repeater mode. In this mode, DP83825I works as a repeater without register configuration. The DP83825I offers integrated cable diagnostic tools, built-in self-test and loopback capabilities for ease of development and debug.
The DP83825I is an ultra small form factor, very low power Ethernet Physical Layer transceiver with integrated PMD sublayers to support 10BASE-Te, 100BASE-TX Ethernet protocols. The PHY supports up to 150 meters reach over CAT5e cable. The DP83825I interfaces directly to twisted pair media via an external transformer.
The DP83825I also supports Energy Efficient Ethernet, Wake-on-LAN and MAC isolation to further lower the system power consumption. Energy Efficient Mode can be enabled through register configuration for legacy MACs not supporting EEE signaling over MAC. DP83825I can operate in unmanaged repeater mode. In this mode, DP83825I works as a repeater without register configuration. The DP83825I offers integrated cable diagnostic tools, built-in self-test and loopback capabilities for ease of development and debug. |
DP83826ELow latency 10/100-Mbps PHY, MII interface and enhanced mode with an industrial temperature range | Development Boards, Kits, Programmers | 4 | Active | The DP83826 offers low and deterministic latency, low power and supports 10BASE-Te, 100BASE-TX Ethernet protocols to meet stringent requirements in real-time industrial Ethernet systems. The device includes hardware bootstraps to achieve fast link-up time, fast link-drop detection modes and dedicated reference CLKOUT to clock synchronize other modules on the systems.
The two configurable modes are BASIC standard Ethernet mode that uses a common Ethernet pinout, and ENHANCED Ethernet mode which supports standard Ethernet mode and multiple industrial Ethernet fieldbus applications with the additional features and hardware bootstraps configuration.
The DP83826 offers low and deterministic latency, low power and supports 10BASE-Te, 100BASE-TX Ethernet protocols to meet stringent requirements in real-time industrial Ethernet systems. The device includes hardware bootstraps to achieve fast link-up time, fast link-drop detection modes and dedicated reference CLKOUT to clock synchronize other modules on the systems.
The two configurable modes are BASIC standard Ethernet mode that uses a common Ethernet pinout, and ENHANCED Ethernet mode which supports standard Ethernet mode and multiple industrial Ethernet fieldbus applications with the additional features and hardware bootstraps configuration. |
| Controllers | 15 | Obsolete | |
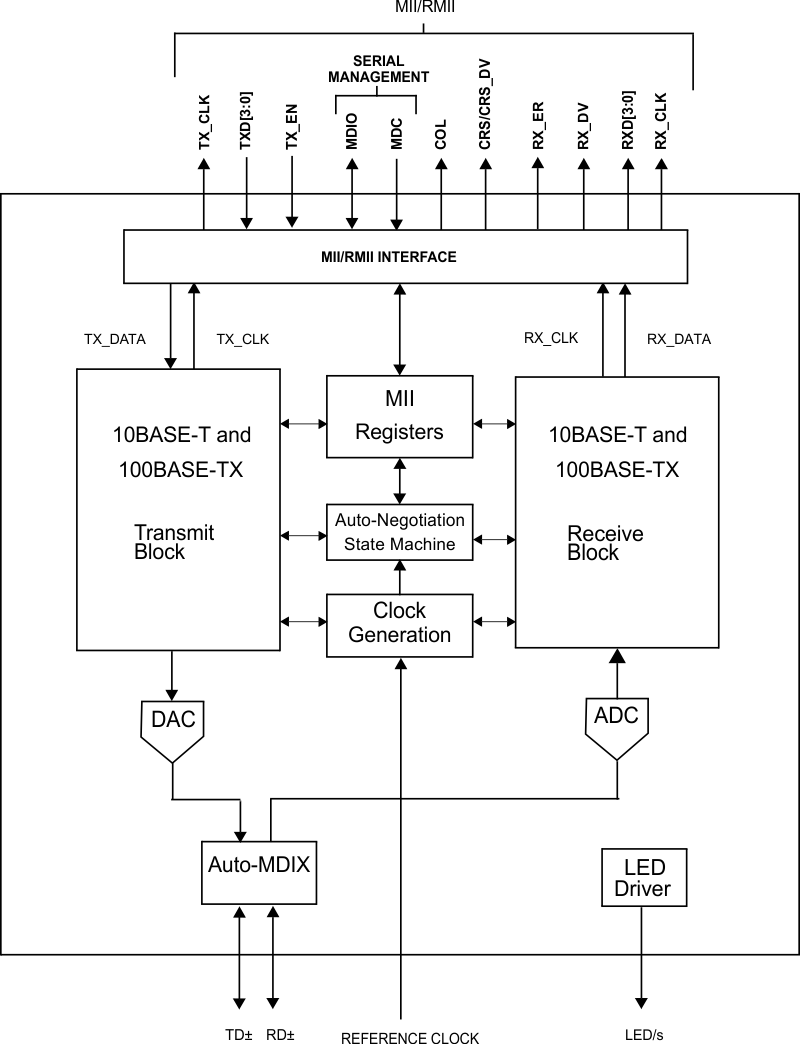
DP8384310/100-Mbps Ethernet PHY transceiver with fiber & AUI support | Drivers, Receivers, Transceivers | 1 | Active | The DP83843BVJE is a full feature Physical Layer device with integrated PMD sublayers to support both 10BASE-T and 100BASE-X Ethernet protocols.
This VLSI device is designed for easy implementation of 10/100 Mb/s Ethernet LANs. It interfaces directly to Twisted Pair media through an external transformer or to fiber media via industry standard electrical/optical fiber PMD transceivers. This device also interfaces directly to the MAC layer through the IEEE 802.3u standard Media Independent Interface (MII), ensuring interoperability between products from different vendors.
The DP83843 is designed with National Semiconductor’s advanced CMOS process. Its system architecture is based on the integration of several of National's industry proven core technologies:
The DP83843BVJE is a full feature Physical Layer device with integrated PMD sublayers to support both 10BASE-T and 100BASE-X Ethernet protocols.
This VLSI device is designed for easy implementation of 10/100 Mb/s Ethernet LANs. It interfaces directly to Twisted Pair media through an external transformer or to fiber media via industry standard electrical/optical fiber PMD transceivers. This device also interfaces directly to the MAC layer through the IEEE 802.3u standard Media Independent Interface (MII), ensuring interoperability between products from different vendors.
The DP83843 is designed with National Semiconductor’s advanced CMOS process. Its system architecture is based on the integration of several of National's industry proven core technologies: |
DP83846ASingle 10/100 DsPHYTER Ethernet physical layer transceiver | Integrated Circuits (ICs) | 1 | NRND | The DP83846A is a full feature single Physical Layer device with integrated PMD sublayers to support both 10BASE-T and 100BASE-TX Ethernet protocols over Category 3 (10 Mb/s) or Category 5 Unsheilded twisted pair cables.
The DP83846A is designed for easy implementation of 10/100 Mb/s Ethernet home or office solutions. It interfaces to Twisted Pair media via an external transformer. This device interfaces directly to MAC devices through the IEEE 802.3u standard Media Independent Interface (MII) ensuring interoperability between products from different vendors.
The DP83846A utilizes on chip Digital Signal Processing (DSP) technology and digital Phase Lock Loops (PLLs) for robust performance under all operating conditions, enhanced noise immunity, and lower external component count when compared to analog solutions.
The DP83846A is a full feature single Physical Layer device with integrated PMD sublayers to support both 10BASE-T and 100BASE-TX Ethernet protocols over Category 3 (10 Mb/s) or Category 5 Unsheilded twisted pair cables.
The DP83846A is designed for easy implementation of 10/100 Mb/s Ethernet home or office solutions. It interfaces to Twisted Pair media via an external transformer. This device interfaces directly to MAC devices through the IEEE 802.3u standard Media Independent Interface (MII) ensuring interoperability between products from different vendors.
The DP83846A utilizes on chip Digital Signal Processing (DSP) technology and digital Phase Lock Loops (PLLs) for robust performance under all operating conditions, enhanced noise immunity, and lower external component count when compared to analog solutions. |
DP8384710/100-Mbps Ethernet PHY transceiver with 5-V tolerant I/Os | Interface | 2 | Active | The DP83847 is a full feature single Physical Layer device with integrated PMD sublayers to support both 10BASE-T and 100BASE-TX Ethernet protocols over Category 3 (10 Mb/s) or Category 5 unshielded twisted pair cables.
The DP83847 is designed for easy implementation of 10/100 Mb/s Ethernet home or office solutions. It interfaces to Twisted Pair media via an external transformer. This device interfaces directly to MAC devices through the IEEE 802.3u standard Media Independent Interface (MII) ensuring interoperability between products from different vendors.
The DP83847 utilizes on chip Digital Signal Processing (DSP) technology and digital Phase Lock Loops (PLLs) for robust performance under all operating conditions, enhanced noise immunity, and lower external component count when compared to analog solutions.
The DP83847 is a full feature single Physical Layer device with integrated PMD sublayers to support both 10BASE-T and 100BASE-TX Ethernet protocols over Category 3 (10 Mb/s) or Category 5 unshielded twisted pair cables.
The DP83847 is designed for easy implementation of 10/100 Mb/s Ethernet home or office solutions. It interfaces to Twisted Pair media via an external transformer. This device interfaces directly to MAC devices through the IEEE 802.3u standard Media Independent Interface (MII) ensuring interoperability between products from different vendors.
The DP83847 utilizes on chip Digital Signal Processing (DSP) technology and digital Phase Lock Loops (PLLs) for robust performance under all operating conditions, enhanced noise immunity, and lower external component count when compared to analog solutions. |
DP83848Q-Q1Commercial temperature, 10/100-Mbps Ethernet PHY transceiver with SNI interface & JTAG support | Evaluation Boards | 18 | Active | The number of applications requiring Ethernet connectivity continues to increase, driving Ethernet enabled devices into harsher environments.
The DP83848C/I/VYB/YB was designed to meet the challenge of these new applications with an extended temperature performance that goes beyond the typical Industrial temperature range. The DP83848C/I/VYB/YB is a highly reliable, feature rich, robust device which meets IEEE 802.3 standards over multiple temperature ranges from commercial to extreme temperatures. This device is ideally suited for harsh environments such as wireless remote base stations, automotive/transportation, and industrial control applications.
It offers enhanced ESD protection and the choice of an MII or RMII interface for maximum flexibility in MPU selection; all in a 48 pin package.
The DP83848VYB extends the leadership position of the PHYTER™ family of devices with a wide operating temperature range. The TI line of PHYTER transceivers builds on decades of Ethernet expertise to offer the high performance and flexibility that allows the end user an easy implementation tailored to meet these application needs.
The number of applications requiring Ethernet connectivity continues to increase, driving Ethernet enabled devices into harsher environments.
The DP83848C/I/VYB/YB was designed to meet the challenge of these new applications with an extended temperature performance that goes beyond the typical Industrial temperature range. The DP83848C/I/VYB/YB is a highly reliable, feature rich, robust device which meets IEEE 802.3 standards over multiple temperature ranges from commercial to extreme temperatures. This device is ideally suited for harsh environments such as wireless remote base stations, automotive/transportation, and industrial control applications.
It offers enhanced ESD protection and the choice of an MII or RMII interface for maximum flexibility in MPU selection; all in a 48 pin package.
The DP83848VYB extends the leadership position of the PHYTER™ family of devices with a wide operating temperature range. The TI line of PHYTER transceivers builds on decades of Ethernet expertise to offer the high performance and flexibility that allows the end user an easy implementation tailored to meet these application needs. |
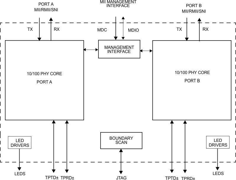
DP83849IFIndustrial temperature, dual-port 10/100-Mbps Ethernet PHY transceiver with fiber support & flexible | Evaluation Boards | 7 | Active | The number of applications requiring Ethernet Connectivity continues to expand. Along with this increased market demand is a change in application requirements. Where single channel Ethernet used to be sufficient, many applications such as wireless remote base stations and industrial networking now require DUAL Port functionality for redundancy or system management.
The DP83849IF is a highly reliable, feature rich device perfectly suited for industrial applications enabling Ethernet on the factory floor. The DP83849IF features two fully independent 10/100 ports for multi-port applications. Texas Instruments’ unique port switching capability also allows the two ports to be configured to provide fully integrated range extension, media conversion, hardware based failover and port monitoring.
The DP83849IF provides optimum flexibility in MPU selection by supporting both MII and RMII interfaces. The device also provides flexibility by supporting both copper and fiber media. In addition this device includes a powerful new diagnostics tool to ensure initial network operation and maintenance.
In addition to the TDR scheme, commonly used for detecting faults during installation, TI’s innovative cable diagnostics provides for real time continuous monitoring of the link quality. This allows the system designer to implement a fault prediction mechanism to detect and warn of changing or deteriorating link conditions.
With the DP83849IF, TI continues to build on its Ethernet expertise and leadership position by providing a powerful combination of features and flexibility, easing Ethernet implementation for the system designer.
The number of applications requiring Ethernet Connectivity continues to expand. Along with this increased market demand is a change in application requirements. Where single channel Ethernet used to be sufficient, many applications such as wireless remote base stations and industrial networking now require DUAL Port functionality for redundancy or system management.
The DP83849IF is a highly reliable, feature rich device perfectly suited for industrial applications enabling Ethernet on the factory floor. The DP83849IF features two fully independent 10/100 ports for multi-port applications. Texas Instruments’ unique port switching capability also allows the two ports to be configured to provide fully integrated range extension, media conversion, hardware based failover and port monitoring.
The DP83849IF provides optimum flexibility in MPU selection by supporting both MII and RMII interfaces. The device also provides flexibility by supporting both copper and fiber media. In addition this device includes a powerful new diagnostics tool to ensure initial network operation and maintenance.
In addition to the TDR scheme, commonly used for detecting faults during installation, TI’s innovative cable diagnostics provides for real time continuous monitoring of the link quality. This allows the system designer to implement a fault prediction mechanism to detect and warn of changing or deteriorating link conditions.
With the DP83849IF, TI continues to build on its Ethernet expertise and leadership position by providing a powerful combination of features and flexibility, easing Ethernet implementation for the system designer. |
| Interface | 1 | Obsolete | |
| Evaluation and Demonstration Boards and Kits | 1 | Obsolete | |