| Voltage Regulators - Linear + Switching | 2 | Obsolete | |
| Evaluation Boards | 3 | Active | |
| Power Management (PMIC) | 2 | Active | |
TPS61150ADual, 2x 27V, 700mA switch, 1.2MHz boost converter with Single Inductor white LED driver (up to 2x6) | LED Driver Evaluation Boards | 5 | Active | The TPS6115x is a high-frequency boost converter with two regulated current outputs for driving WLEDs. Each current output can be individually programmed through external resistors. There is a dedicated selection pin for each output so the two outputs can be turned on separately or simultaneously. The output current can be reduced by a pulse width modulation (PWM) signal on SEL pins or an analog voltage on the ISET pins, resulting in PWM dimming of the WLEDs. The boost regulator runs at a 1.2-MHz fixed switching frequency to reduce output ripple and avoid audible noises associated with pulse frequency modulation (PFM) control.
The two current outputs are ideal for driving WLED backlights for the sub and main displays in clamshell phones. The two outputs can also be used for driving display and keypad backlights. When used together, the two outputs can drive up to 14 WLEDs for one large display.
In addition to the small inductor, small capacitor, and 3-mm × 3-mm VSON package, the built-in MOSFET and diode eliminate the need for any external power devices. Overall, the device provides an extremely compact solution with high efficiency and plenty of flexibility.
The TPS6115x is a high-frequency boost converter with two regulated current outputs for driving WLEDs. Each current output can be individually programmed through external resistors. There is a dedicated selection pin for each output so the two outputs can be turned on separately or simultaneously. The output current can be reduced by a pulse width modulation (PWM) signal on SEL pins or an analog voltage on the ISET pins, resulting in PWM dimming of the WLEDs. The boost regulator runs at a 1.2-MHz fixed switching frequency to reduce output ripple and avoid audible noises associated with pulse frequency modulation (PFM) control.
The two current outputs are ideal for driving WLED backlights for the sub and main displays in clamshell phones. The two outputs can also be used for driving display and keypad backlights. When used together, the two outputs can drive up to 14 WLEDs for one large display.
In addition to the small inductor, small capacitor, and 3-mm × 3-mm VSON package, the built-in MOSFET and diode eliminate the need for any external power devices. Overall, the device provides an extremely compact solution with high efficiency and plenty of flexibility. |
TPS61151Dual, 2x 27V, 700mA switch, 1.2MHz boost converter with Single Inductor white LED diver (up to 2x6) | Power Management (PMIC) | 1 | Active | The TPS6115x is a high-frequency boost converter with two regulated current outputs for driving WLEDs. Each current output can be individually programmed through external resistors. There is a dedicated selection pin for each output so the two outputs can be turned on separately or simultaneously. The output current can be reduced by a pulse width modulation (PWM) signal on SEL pins or an analog voltage on the ISET pins, resulting in PWM dimming of the WLEDs. The boost regulator runs at a 1.2-MHz fixed switching frequency to reduce output ripple and avoid audible noises associated with pulse frequency modulation (PFM) control.
The two current outputs are ideal for driving WLED backlights for the sub and main displays in clamshell phones. The two outputs can also be used for driving display and keypad backlights. When used together, the two outputs can drive up to 14 WLEDs for one large display.
In addition to the small inductor, small capacitor, and 3-mm × 3-mm VSON package, the built-in MOSFET and diode eliminate the need for any external power devices. Overall, the device provides an extremely compact solution with high efficiency and plenty of flexibility.
The TPS6115x is a high-frequency boost converter with two regulated current outputs for driving WLEDs. Each current output can be individually programmed through external resistors. There is a dedicated selection pin for each output so the two outputs can be turned on separately or simultaneously. The output current can be reduced by a pulse width modulation (PWM) signal on SEL pins or an analog voltage on the ISET pins, resulting in PWM dimming of the WLEDs. The boost regulator runs at a 1.2-MHz fixed switching frequency to reduce output ripple and avoid audible noises associated with pulse frequency modulation (PFM) control.
The two current outputs are ideal for driving WLED backlights for the sub and main displays in clamshell phones. The two outputs can also be used for driving display and keypad backlights. When used together, the two outputs can drive up to 14 WLEDs for one large display.
In addition to the small inductor, small capacitor, and 3-mm × 3-mm VSON package, the built-in MOSFET and diode eliminate the need for any external power devices. Overall, the device provides an extremely compact solution with high efficiency and plenty of flexibility. |
| Power Management (PMIC) | 2 | Active | |
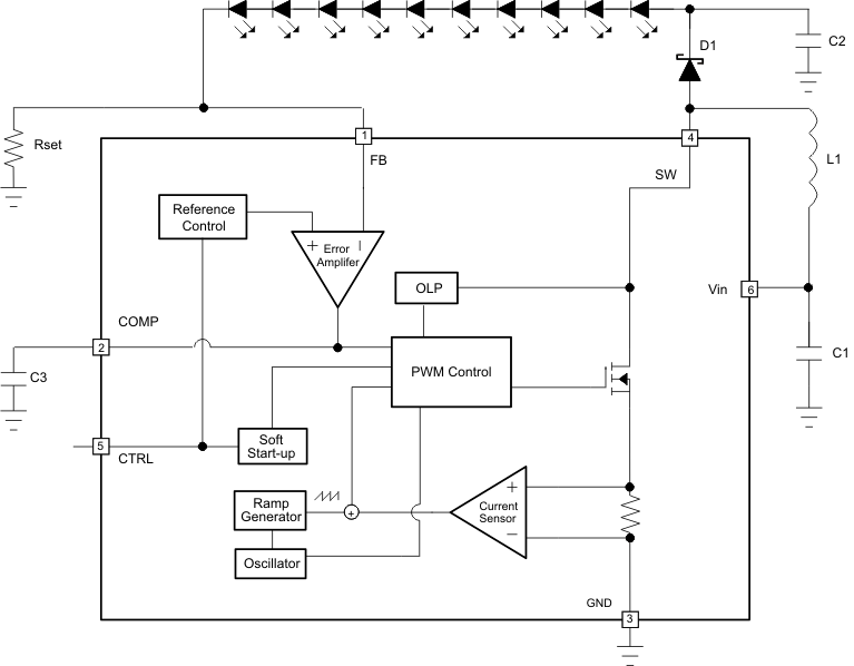
TPS61160AWhite LED driver with PWM brightness control in 2mm x 2mm Package. up to 10 LEDs in Series | Evaluation Boards | 7 | Active | With a 40-V rated integrated switch FET, the TPS61160A/61A is a boost converter that drives LEDs in series. The boost converter runs at 600-kHz fixed switching frequency to reduce output ripple, improve conversion efficiency, and allows for the use of small external components.
The default white LED current is set with the external sensor resistor Rset, and the feedback voltage is regulated to 200 mV, as shown in the typical application. During the operation, the LED current can be controlled by a pulse width modulation (PWM) signal applied to the CTRL pin through which the duty cycle determines the feedback reference voltage. In PWM dimming mode, the TPS61160A/61A does not burst the LED current; therefore, it does not generate audible noises on the output capacitor. For maximum protection, the device features integrated open LED protection that disables the TPS61160A/61A to prevent the output from exceeding the absolute maximum ratings during open LED conditions.
The TPS61160A/61A is available in a space-saving, 2-mm × 2-mm WSON package with thermal pad.
With a 40-V rated integrated switch FET, the TPS61160A/61A is a boost converter that drives LEDs in series. The boost converter runs at 600-kHz fixed switching frequency to reduce output ripple, improve conversion efficiency, and allows for the use of small external components.
The default white LED current is set with the external sensor resistor Rset, and the feedback voltage is regulated to 200 mV, as shown in the typical application. During the operation, the LED current can be controlled by a pulse width modulation (PWM) signal applied to the CTRL pin through which the duty cycle determines the feedback reference voltage. In PWM dimming mode, the TPS61160A/61A does not burst the LED current; therefore, it does not generate audible noises on the output capacitor. For maximum protection, the device features integrated open LED protection that disables the TPS61160A/61A to prevent the output from exceeding the absolute maximum ratings during open LED conditions.
The TPS61160A/61A is available in a space-saving, 2-mm × 2-mm WSON package with thermal pad. |
TPS61161-Q1White LED driver with PWM brightness control in 2mm x 2mm WSON Package. up to 10 LEDs in Series | LED Driver Evaluation Boards | 6 | Active | With a 40-V rated integrated switch FET, the TPS61161-Q1 is a boost converter that drives up to 10 LEDs in series. The boost converter runs at 600-kHz fixed switching frequency to reduce output ripple, improve conversion efficiency, and allow for the use of small external components.
The default white LED current is set with the external sensor resistor Rset, and the feedback voltage is regulated to 200 mV, as shown in the typical application. During the operation, the LED current can be controlled using the 1-wire digital interface (EasyScale protocol) through the CTRL pin. Alternatively, a pulse width modulation (PWM) signal can be applied to the CTRL pin through which the duty cycle determines the feedback reference voltage. In either digital or PWM mode, the TPS61161-Q1 does not burst the LED current; therefore, it does not generate audible noises on the output capacitor. For maximum protection, the device features integrated open LED protection that disables the TPS61161-Q1 to prevent the output from exceeding the absolute maximum ratings during open LED conditions.
The TPS61161 is available in a space-saving, 2-mm × 2-mm QFN (DRV) package with thermal pad.
With a 40-V rated integrated switch FET, the TPS61161-Q1 is a boost converter that drives up to 10 LEDs in series. The boost converter runs at 600-kHz fixed switching frequency to reduce output ripple, improve conversion efficiency, and allow for the use of small external components.
The default white LED current is set with the external sensor resistor Rset, and the feedback voltage is regulated to 200 mV, as shown in the typical application. During the operation, the LED current can be controlled using the 1-wire digital interface (EasyScale protocol) through the CTRL pin. Alternatively, a pulse width modulation (PWM) signal can be applied to the CTRL pin through which the duty cycle determines the feedback reference voltage. In either digital or PWM mode, the TPS61161-Q1 does not burst the LED current; therefore, it does not generate audible noises on the output capacitor. For maximum protection, the device features integrated open LED protection that disables the TPS61161-Q1 to prevent the output from exceeding the absolute maximum ratings during open LED conditions.
The TPS61161 is available in a space-saving, 2-mm × 2-mm QFN (DRV) package with thermal pad. |
| LED Drivers | 1 | Unknown | |
TPS61163ADual-channel WLED drivers for small display | LED Drivers | 2 | Active | The TPS61162A and TPS61163A are dual-channel WLED drivers which provide highly integrated solutions for single-cell Li-ion battery powered smart phone backlight. The devices have a built-in high efficiency boost regulator with integrated 1.5A, 40V power MOSFET and support as low as 2.7V input voltage. With two high current-matching capability current sink regulators, the devices can drive up to 10s2p WLED diodes. The boost output can automatically adjust to the WLED forward voltage and allow very low voltage headroom control, thus to improve LED strings efficiency effectively.
The TPS61162A and TPS61163A support both the PWM dimming interface and one-wire digital EasyScale™ dimming interface and can realize 9-bit brightness code programming.
The TPS61162A and TPS61163A integrate built-in soft start, as well as overvoltage, overcurrent, and thermal shutdown protections.
The TPS61162A and TPS61163A are dual-channel WLED drivers which provide highly integrated solutions for single-cell Li-ion battery powered smart phone backlight. The devices have a built-in high efficiency boost regulator with integrated 1.5A, 40V power MOSFET and support as low as 2.7V input voltage. With two high current-matching capability current sink regulators, the devices can drive up to 10s2p WLED diodes. The boost output can automatically adjust to the WLED forward voltage and allow very low voltage headroom control, thus to improve LED strings efficiency effectively.
The TPS61162A and TPS61163A support both the PWM dimming interface and one-wire digital EasyScale™ dimming interface and can realize 9-bit brightness code programming.
The TPS61162A and TPS61163A integrate built-in soft start, as well as overvoltage, overcurrent, and thermal shutdown protections. |