T
Texas Instruments
| Series | Category | # Parts | Status | Description |
|---|---|---|---|---|
| Part | Spec A | Spec B | Spec C | Spec D | Description |
|---|---|---|---|---|---|
| Series | Category | # Parts | Status | Description |
|---|---|---|---|---|
| Part | Spec A | Spec B | Spec C | Spec D | Description |
|---|---|---|---|---|---|
| Part | Category | Description |
|---|---|---|
Texas Instruments | Integrated Circuits (ICs) | BUS DRIVER, BCT/FBT SERIES |
Texas Instruments | Integrated Circuits (ICs) | 12BIT 3.3V~3.6V 210MHZ PARALLEL VQFN-48-EP(7X7) ANALOG TO DIGITAL CONVERTERS (ADC) ROHS |
Texas Instruments | Integrated Circuits (ICs) | TMX320DRE311 179PIN UBGA 200MHZ |
Texas Instruments TPS61040DRVTG4Unknown | Integrated Circuits (ICs) | IC LED DRV RGLTR PWM 350MA 6WSON |
Texas Instruments LP3876ET-2.5Obsolete | Integrated Circuits (ICs) | IC REG LINEAR 2.5V 3A TO220-5 |
Texas Instruments LMS1585ACSX-ADJObsolete | Integrated Circuits (ICs) | IC REG LIN POS ADJ 5A DDPAK |
Texas Instruments INA111APG4Obsolete | Integrated Circuits (ICs) | IC INST AMP 1 CIRCUIT 8DIP |
Texas Instruments | Integrated Circuits (ICs) | AUTOMOTIVE, QUAD 36V 1.2MHZ OPERATIONAL AMPLIFIER |
Texas Instruments OPA340NA/3KG4Unknown | Integrated Circuits (ICs) | IC OPAMP GP 1 CIRCUIT SOT23-5 |
Texas Instruments PT5112AObsolete | Power Supplies - Board Mount | DC DC CONVERTER 8V 8W |
| Series | Category | # Parts | Status | Description |
|---|---|---|---|---|
| Evaluation Boards | 1 | Active | ||
TPS4811-Q1Automotive, 3.5V to 100V high-side driver with protection and diagnostics | Power Management (PMIC) | 1 | Active | The TPS4811x-Q1 family is a 100V smart high side driver with protection and diagnostics. With wide operating voltage range of 3.5V–80V, the device is suitable for 12V, 24V, and 48V system designs.
It has a strong 3.7A peak source (PU) and 4A peak sink (PD) GATE driver that enables power switching using parallel FETs in high current system designs. Use INP as the gate driver control input.
The device has accurate current sensing (±2%) output (IMON) enabling system designs for energy management. The device has integrated two-level overcurrent protection with FLT_I output with complete adjustability of thresholds and response time. Auto-retry and latch-off fault behavior can be configured. The device features remote overtemperature protection with FLT_T output.
The TPS48111-Q1 integrates a pre-charge driver (G) with control input (INP_G). This features enables designs that must drive large capacitive loads. In shutdown mode, the controller draws a total shutdown current of 1.6µA at 48V supply input.
The TPS4811x-Q1 is available in a 19-pin VSSOP package with a pin removed between adjacent high voltage and low voltage pins, providing 0.8mm clearance.
The TPS4811x-Q1 family is a 100V smart high side driver with protection and diagnostics. With wide operating voltage range of 3.5V–80V, the device is suitable for 12V, 24V, and 48V system designs.
It has a strong 3.7A peak source (PU) and 4A peak sink (PD) GATE driver that enables power switching using parallel FETs in high current system designs. Use INP as the gate driver control input.
The device has accurate current sensing (±2%) output (IMON) enabling system designs for energy management. The device has integrated two-level overcurrent protection with FLT_I output with complete adjustability of thresholds and response time. Auto-retry and latch-off fault behavior can be configured. The device features remote overtemperature protection with FLT_T output.
The TPS48111-Q1 integrates a pre-charge driver (G) with control input (INP_G). This features enables designs that must drive large capacitive loads. In shutdown mode, the controller draws a total shutdown current of 1.6µA at 48V supply input.
The TPS4811x-Q1 is available in a 19-pin VSSOP package with a pin removed between adjacent high voltage and low voltage pins, providing 0.8mm clearance. |
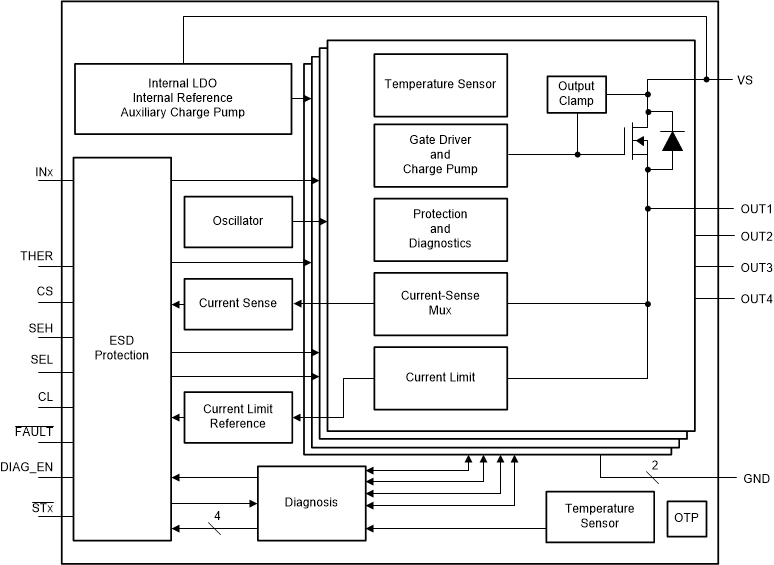
TPS4H000-Q140-V, 1-Ω, 4-ch automotive smart high-side switch with adjustable current limit | Power Management (PMIC) | 2 | Active | The TPS4H000-Q1 family is a fully protected quad-channel smart high-side switch, with integrated 1000‑mΩ NMOS power FETs.
Full diagnostics and high-accuracy current-sense features enable intelligent control of the load.
An external adjustable current limit improves reliability of the whole system by limiting the inrush or overload current.
The TPS4H000-Q1 family is a fully protected quad-channel smart high-side switch, with integrated 1000‑mΩ NMOS power FETs.
Full diagnostics and high-accuracy current-sense features enable intelligent control of the load.
An external adjustable current limit improves reliability of the whole system by limiting the inrush or overload current. |
TPS4H160-Q140-V, 160-mΩ, 4-ch automotive smart high-side switch with adjustable current limit | Integrated Circuits (ICs) | 1 | Active | The TPS4H160-Q1 device is fully protected quad-channel smart high-side switch with four integrated 160-mΩ NMOS power FETs.
Full diagnostics and high-accuracy current sense enable intelligent control of the load.
An external adjustable current limit improves the reliability of whole system by limiting the inrush or overload current.
The TPS4H160-Q1 device is fully protected quad-channel smart high-side switch with four integrated 160-mΩ NMOS power FETs.
Full diagnostics and high-accuracy current sense enable intelligent control of the load.
An external adjustable current limit improves the reliability of whole system by limiting the inrush or overload current. |
TPS50301-HT1.6-V to 6.3-V INPUT, 3-A SYNCHRONOUS STEP DOWN CONVERTER | Power Management (PMIC) | 1 | Active | The TPS50301-HT is a 6.3-V, 3-A synchronous step-down converter, which is optimized for small designs through high efficiency and integrating the high-side and low-side MOSFETs. Further space savings are achieved through current mode control, which reduces component count, and a high switching frequency, reducing the inductor’s footprint. The devices are offered in a thermally enhanced 20-pin ceramic, dual in-line flatpack package.
The output voltage start-up ramp is controlled by the SS/TR pin which allows operation as either a standalone power supply or in tracking situations. Power sequencing is also possible by correctly configuring the enable and the open drain power good pins.
Cycle-by-cycle current limiting on the high-side FET protects the device in overload situations and is enhanced by a low-side sourcing current limit which prevents current runaway. There is also a low-side sinking current limit which turns off the low-side MOSFET to prevent excessive reverse current. Thermal shutdown disables the part when die temperature exceeds thermal shutdown temperature.
The TPS50301-HT is a 6.3-V, 3-A synchronous step-down converter, which is optimized for small designs through high efficiency and integrating the high-side and low-side MOSFETs. Further space savings are achieved through current mode control, which reduces component count, and a high switching frequency, reducing the inductor’s footprint. The devices are offered in a thermally enhanced 20-pin ceramic, dual in-line flatpack package.
The output voltage start-up ramp is controlled by the SS/TR pin which allows operation as either a standalone power supply or in tracking situations. Power sequencing is also possible by correctly configuring the enable and the open drain power good pins.
Cycle-by-cycle current limiting on the high-side FET protects the device in overload situations and is enhanced by a low-side sourcing current limit which prevents current runaway. There is also a low-side sinking current limit which turns off the low-side MOSFET to prevent excessive reverse current. Thermal shutdown disables the part when die temperature exceeds thermal shutdown temperature. |
TPS50601-SPRadiation-hardened QMLV, 3-V to 6.3-V input, 6-A synchronous step-down converter | Voltage Regulators - DC DC Switching Regulators | 2 | Unknown | The TPS50601-SP is a radiation hardened, 6.3-V, 6-A synchronous step-down converter, which is optimized for small designs through high efficiency and integrating the high-side and low-side MOSFETs. Further space savings are achieved through current mode control, which reduces component count, and a high switching frequency, reducing the inductor's footprint. The devices are offered in a thermally enhanced 20-pin ceramic, dual in-line flatpack package.
The output voltage startup ramp is controlled by the SS/TR pin which allows operation as either a stand alone power supply or in tracking situations. Power sequencing is also possible by correctly configuring the enable and the open drain power good pins.
Cycle-by-cycle current limiting on the high-side FET protects the device in overload situations and is enhanced by a low-side sourcing current limit which prevents current runaway. There is also a low-side sinking current limit which turns off the low-side MOSFET to prevent excessive reverse current. Thermal shutdown disables the part when die temperature exceeds thermal shutdown temperature.
The TPS50601-SP is a radiation hardened, 6.3-V, 6-A synchronous step-down converter, which is optimized for small designs through high efficiency and integrating the high-side and low-side MOSFETs. Further space savings are achieved through current mode control, which reduces component count, and a high switching frequency, reducing the inductor's footprint. The devices are offered in a thermally enhanced 20-pin ceramic, dual in-line flatpack package.
The output voltage startup ramp is controlled by the SS/TR pin which allows operation as either a stand alone power supply or in tracking situations. Power sequencing is also possible by correctly configuring the enable and the open drain power good pins.
Cycle-by-cycle current limiting on the high-side FET protects the device in overload situations and is enhanced by a low-side sourcing current limit which prevents current runaway. There is also a low-side sinking current limit which turns off the low-side MOSFET to prevent excessive reverse current. Thermal shutdown disables the part when die temperature exceeds thermal shutdown temperature. |
TPS50601A-SPRadiation-hardened QMLV, 3-V to 7-V input, 6-A synchronous step-down converter | DC DC Switching Controllers | 1 | Active | The TPS50601A-SP is a radiation hardened, 7-V, 6-A synchronous step-down converter, which is optimized for small designs through high efficiency and integrating the high-side and low-side MOSFETs. Further space savings are achieved through current mode control, which reduces component count, and a high switching frequency, reducing the inductor’s footprint. The devices are offered in an ultra small, thermally enhanced 20-pin ceramic flatpack package.
The output voltage startup ramp is controlled by the SS/TR pin which allows operation as either a stand alone power supply or in tracking situations. Power sequencing is also possible by correctly configuring the enable and the open drain power good pins. In addition, the TPS50601A-SP can be configured in master-slave mode to provide up to 12-A of output current.
Cycle-by-cycle current limiting on the high-side FET protects the device in overload situations and is enhanced by a low-side sourcing current limit which prevents current runaway. There is also a low-side sinking current limit which turns off the low-side MOSFET to prevent excessive reverse current. Thermal shutdown disables the part when die temperature exceeds thermal shutdown temperature.
The TPS50601A-SP is a radiation hardened, 7-V, 6-A synchronous step-down converter, which is optimized for small designs through high efficiency and integrating the high-side and low-side MOSFETs. Further space savings are achieved through current mode control, which reduces component count, and a high switching frequency, reducing the inductor’s footprint. The devices are offered in an ultra small, thermally enhanced 20-pin ceramic flatpack package.
The output voltage startup ramp is controlled by the SS/TR pin which allows operation as either a stand alone power supply or in tracking situations. Power sequencing is also possible by correctly configuring the enable and the open drain power good pins. In addition, the TPS50601A-SP can be configured in master-slave mode to provide up to 12-A of output current.
Cycle-by-cycle current limiting on the high-side FET protects the device in overload situations and is enhanced by a low-side sourcing current limit which prevents current runaway. There is also a low-side sinking current limit which turns off the low-side MOSFET to prevent excessive reverse current. Thermal shutdown disables the part when die temperature exceeds thermal shutdown temperature. |
| Evaluation Boards | 1 | Obsolete | ||
| Integrated Circuits (ICs) | 3 | Obsolete | ||
TPS51024.5-V to 25-V, dual-output synchronous buck controller for notebook power | Special Purpose Regulators | 1 | Active | The TPS5102 is a dual, high efficiency controller designed for notebook system power requirements. Under light load conditions, high efficiency is maintained as the controller switches from the PWM mode to the lower frequency Skip mode.
These two operating modes, along with the synchronous-rectifier drivers, dead-time, and very low quiescent current, allow power to be conserved and the battery life extended, under all load conditions.
The resistor-less current protection and fixed high-side driver voltage simplify the system design and reduce the external parts count. The wide input voltage range and adjustable output voltages allow flexibility for using the TPS5102 in notebook power supply applications.
The TPS5102 is a dual, high efficiency controller designed for notebook system power requirements. Under light load conditions, high efficiency is maintained as the controller switches from the PWM mode to the lower frequency Skip mode.
These two operating modes, along with the synchronous-rectifier drivers, dead-time, and very low quiescent current, allow power to be conserved and the battery life extended, under all load conditions.
The resistor-less current protection and fixed high-side driver voltage simplify the system design and reduce the external parts count. The wide input voltage range and adjustable output voltages allow flexibility for using the TPS5102 in notebook power supply applications. |