THS73754-Channel SDTV Video Amplifier with 6th-Order Filters and 15-dB Gain | Amplifiers | 2 | Active | Fabricated using the revolutionary complementary Silicon-Germanium (SiGe) BiCom3X process, the THS7375 is a low-power, single-supply, 3 V to 5 V four-channel integrated video buffer. It incorporates a sixth-order Butterworth filter (able to be bypassed) that is useful as a digital-to-analog converter (DAC) reconstruction filter or an analog-to-digital converter (ADC) anti-aliasing filter. The 9.5-MHz filter is a perfect choice for SDTV video that includes composite (CVBS), S-video, Y'U'V', G'B'R' (R'G'B'), Y'P'BP'R480i/576i, and SCART systems.
As part of the THS7375 flexibility, the input can be configured for either ac or dc-coupled inputs. The 320-mV output level shift allows for a full sync dynamic range at the output with 0-V input. The ac-coupled modes include a transparent sync-tip clamp option for CVBS, Y', and G'B'R' signals with sync. AC-coupled biasing for C'/P'B/P'Rchannels can easily be achieved by adding an external resistor to VS+.
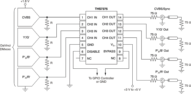
The THS7375 is the perfect choice for all video buffer applications. Its rail-to-rail output stage with 5.6-V/V gain allows for both ac and dc line driving. This architecture makes the THS7375 an ideal choice for DaVinci™ processors. The ability to drive two lines per channel, or 75-Ω loads, allows for maximum flexibility as a video line driver. The 9.8-mA total quiescent current at 3.3 V and 0.1-µA disabled current makes it an excellent choice for USB-powered, portable, or other power-sensitive applications.
The THS7375 is available in a TSSOP-14 package that is lead-free and green (RoHS) compliant.
Fabricated using the revolutionary complementary Silicon-Germanium (SiGe) BiCom3X process, the THS7375 is a low-power, single-supply, 3 V to 5 V four-channel integrated video buffer. It incorporates a sixth-order Butterworth filter (able to be bypassed) that is useful as a digital-to-analog converter (DAC) reconstruction filter or an analog-to-digital converter (ADC) anti-aliasing filter. The 9.5-MHz filter is a perfect choice for SDTV video that includes composite (CVBS), S-video, Y'U'V', G'B'R' (R'G'B'), Y'P'BP'R480i/576i, and SCART systems.
As part of the THS7375 flexibility, the input can be configured for either ac or dc-coupled inputs. The 320-mV output level shift allows for a full sync dynamic range at the output with 0-V input. The ac-coupled modes include a transparent sync-tip clamp option for CVBS, Y', and G'B'R' signals with sync. AC-coupled biasing for C'/P'B/P'Rchannels can easily be achieved by adding an external resistor to VS+.
The THS7375 is the perfect choice for all video buffer applications. Its rail-to-rail output stage with 5.6-V/V gain allows for both ac and dc line driving. This architecture makes the THS7375 an ideal choice for DaVinci™ processors. The ability to drive two lines per channel, or 75-Ω loads, allows for maximum flexibility as a video line driver. The 9.8-mA total quiescent current at 3.3 V and 0.1-µA disabled current makes it an excellent choice for USB-powered, portable, or other power-sensitive applications.
The THS7375 is available in a TSSOP-14 package that is lead-free and green (RoHS) compliant. |
| Instrumentation, Op Amps, Buffer Amps | 2 | Obsolete | |
THS7530-Q1Automotive, 300MHz, Fully Differential, Continuously Variable Gain Amplifier | Op Amp Evaluation Boards | 2 | Active | The THS7530-Q1 device is fabricated using Texas Instruments' state-of-the-art BiCom III SiGe complementary bipolar process. The THS7530-Q1 device is a DC-coupled, wide bandwidth amplifier with voltage-controlled gain. The amplifier has high-impedance differential inputs and low-impedance differential outputs with high-bandwidth gain control, output common-mode control, and output voltage clamping.
Signal-channel performance is exceptional with300-MHz bandwidth, and third harmonic distortion of –61 dBc at 32 MHz with 1-VPPoutput into 400 Ω.
Gain control is linear in dB with 0 V to 0.9 V varying the gain from 11.6 dB to 46.5 dB with 38.8-dB/V gain slope.
Output voltage limiting is provided to limit the output voltage swing and to prevent saturating following stages.
The device is characterized for operation over the automotive temperature range, –40°C to +125°C.
The THS7530-Q1 device is fabricated using Texas Instruments' state-of-the-art BiCom III SiGe complementary bipolar process. The THS7530-Q1 device is a DC-coupled, wide bandwidth amplifier with voltage-controlled gain. The amplifier has high-impedance differential inputs and low-impedance differential outputs with high-bandwidth gain control, output common-mode control, and output voltage clamping.
Signal-channel performance is exceptional with300-MHz bandwidth, and third harmonic distortion of –61 dBc at 32 MHz with 1-VPPoutput into 400 Ω.
Gain control is linear in dB with 0 V to 0.9 V varying the gain from 11.6 dB to 46.5 dB with 38.8-dB/V gain slope.
Output voltage limiting is provided to limit the output voltage swing and to prevent saturating following stages.
The device is characterized for operation over the automotive temperature range, –40°C to +125°C. |
| Op Amp Evaluation Boards | 1 | Obsolete | |
THS770006High-Speed Fully Differential ADC Driver Amplifier with +6dB Fixed Gain | Amplifiers | 1 | Active | The THS770006 is a fixed-gain of +6dB, wideband, fully-differential amplifier designed and optimized specifically for driving 16-bit analog-to-digital converters (ADCs) at input frequencies up to 130MHz, and 14-bit ADCs at input frequencies up to 200MHz. This device provides high bandwidth, high-voltage output with low distortion and low noise, critical in high-speed data acquisition systems that require very high dynamic range, such as wireless base stations and test and measurement applications. This device also makes an excellent differential amplifier for general-purpose, high-speed differential signal chain and short line driver applications.
The THS770006 operates on a nominal +5V single supply, offers very fast, 7.5ns maximum recovery time from overdrive conditions, and has a power-down mode for power saving. The THS770006 is offered in a Pb-free (RoHS compliant) and green, QFN-24 thermally-enhanced package. It is characterized for operation over the industrial temperature range of –40°C to +85°C.
The THS770006 is a fixed-gain of +6dB, wideband, fully-differential amplifier designed and optimized specifically for driving 16-bit analog-to-digital converters (ADCs) at input frequencies up to 130MHz, and 14-bit ADCs at input frequencies up to 200MHz. This device provides high bandwidth, high-voltage output with low distortion and low noise, critical in high-speed data acquisition systems that require very high dynamic range, such as wireless base stations and test and measurement applications. This device also makes an excellent differential amplifier for general-purpose, high-speed differential signal chain and short line driver applications.
The THS770006 operates on a nominal +5V single supply, offers very fast, 7.5ns maximum recovery time from overdrive conditions, and has a power-down mode for power saving. The THS770006 is offered in a Pb-free (RoHS compliant) and green, QFN-24 thermally-enhanced package. It is characterized for operation over the industrial temperature range of –40°C to +85°C. |
| Special Purpose Amplifiers | 2 | Active | |
THS788Quad channel time measurement unit | Application Specific Clock/Timing | 1 | NRND | The THS788 device is a four-channel timing measurement unit (TMU) that incorporates a time-to-digital converter (TDC) architecture for fast and accurate measurements. The TMU can provide 8 ps of single-shot accuracy. The TDC has a 13-ps resolution (LSB), which is derived from an external master clock of 200 MHz. The TDC uses fast LVDS-compatible interfaces for all of its event inputs and serial result outputs, which allows for fast and reliable data transfer. Each channel can process timestamps at a maximum speed of 200 MSPS.
The THS788 device has a wide range of programmability that makes it flexible in different applications. The serial-result interface has programmable data length, frequency, and data-rate mode (DDR and normal). The event channels can be programmed to take timestamps on rising edges or falling edges. The TMU has a mode for event management, in which the user can program wait times before measurements. This programming is achieved through a 50-MHz LVCMOS interface.
The THS788 device is available in an HTQFP-100 package with a heat slug on top for easy heat-sink access. The device is built using TI’s RF SiGe process technology, which allows for maximum timing accuracy with low power.
The THS788 device is a four-channel timing measurement unit (TMU) that incorporates a time-to-digital converter (TDC) architecture for fast and accurate measurements. The TMU can provide 8 ps of single-shot accuracy. The TDC has a 13-ps resolution (LSB), which is derived from an external master clock of 200 MHz. The TDC uses fast LVDS-compatible interfaces for all of its event inputs and serial result outputs, which allows for fast and reliable data transfer. Each channel can process timestamps at a maximum speed of 200 MSPS.
The THS788 device has a wide range of programmability that makes it flexible in different applications. The serial-result interface has programmable data length, frequency, and data-rate mode (DDR and normal). The event channels can be programmed to take timestamps on rising edges or falling edges. The TMU has a mode for event management, in which the user can program wait times before measurements. This programming is achieved through a 50-MHz LVCMOS interface.
The THS788 device is available in an HTQFP-100 package with a heat slug on top for easy heat-sink access. The device is built using TI’s RF SiGe process technology, which allows for maximum timing accuracy with low power. |
| Integrated Circuits (ICs) | 1 | NRND | |
| Video Processing | 2 | Obsolete | |
| Data Acquisition | 5 | Obsolete | |