S
STMicroelectronics
| Series | Category | # Parts | Status | Description |
|---|---|---|---|---|
| Clock/Timing | 1 | Obsolete | ||
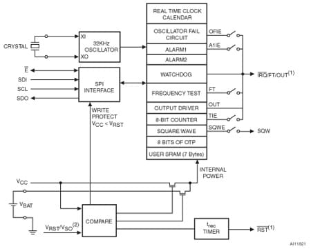
M41T82Serial I²C bus real-time clock (RTC) with battery switchover | Real Time Clocks | 1 | Obsolete | The M41T8x are low-power serial I2C real-time clocks (RTCs) with a built-in 32.768 kHz oscillator (external crystal-controlled for the QFN16 and SO8 packages, embedded crystal for the SOX18 package). Eight bytes of the register map (see Table 2 on page 23) are used for the clock/calendar function and are configured in binary-coded decimal (BCD) format. An additional 17 bytes of the register map provide status/control of the two alarms, watchdog, 8-bit counter, and square wave functions. An additional seven bytes are made available as user SRAM.
Addresses and data are transferred serially via a two-line, bidirectional I2C interface. The built-in address register is incremented automatically after each WRITE or READ data byte. The M41T8x has a built-in power sense circuit which detects power failures and automatically switches to the battery supply when a power failure occurs. The energy needed to sustain the clock operations can be supplied by a small lithium button battery when a power failure occurs.
Functions available to the user include a non-volatile, time-of-day clock/calendar, two alarm interrupts, watchdog timer, programmable 8-bit counter, and square wave outputs. The eight clock address locations contain the century, year, month, date, day, hour, minute, second, and tenths/hundredths of a second in 24-hour BCD format. Corrections for 28, 29 (leap year), 30, and 31 day months are made automatically. The M41T83 is supplied in either a QFN16 or an SOX18, 300 mil SOIC which includes an embedded 32 KHz crystal. The SOX18 package requires only a user-supplied battery to provide non-volatile operation. The M41T82 is available only in an SO8 package. |
M41T83Serial I²C bus real-time clock (RTC) with battery switchover | Integrated Circuits (ICs) | 4 | Active | The M41T8x are low-power serial I2C real-time clocks (RTCs) with a built-in 32.768 kHz oscillator (external crystal-controlled for the QFN16 and SO8 packages, embedded crystal for the SOX18 package). Eight bytes of the register map (see Table 2 on page 23) are used for the clock/calendar function and are configured in binary-coded decimal (BCD) format. An additional 17 bytes of the register map provide status/control of the two alarms, watchdog, 8-bit counter, and square wave functions. An additional seven bytes are made available as user SRAM.
Addresses and data are transferred serially via a two-line, bidirectional I2C interface. The built-in address register is incremented automatically after each WRITE or READ data byte. The M41T8x has a built-in power sense circuit which detects power failures and automatically switches to the battery supply when a power failure occurs. The energy needed to sustain the clock operations can be supplied by a small lithium button battery when a power failure occurs.
Functions available to the user include a non-volatile, time-of-day clock/calendar, two alarm interrupts, watchdog timer, programmable 8-bit counter, and square wave outputs. The eight clock address locations contain the century, year, month, date, day, hour, minute, second, and tenths/hundredths of a second in 24-hour BCD format. Corrections for 28, 29 (leap year), 30, and 31 day months are made automatically. The M41T83 is supplied in either a QFN16 or an SOX18, 300 mil SOIC which includes an embedded 32 KHz crystal. The SOX18 package requires only a user-supplied battery to provide non-volatile operation. The M41T82 is available only in an SO8 package. |
M41T93Serial SPI bus real-time clock (RTC) with battery switchover | Integrated Circuits (ICs) | 5 | Active | The M41T93 is a low-power serial SPI bus real-time clock (RTC) with a built-in 32.768 kHz oscillator (external crystal-controlled for the QFN16 package, and embedded crystal for the SOX18 package). Eight bytes of the register map are used for the clock/calendar function and are configured in binary coded decimal (BCD) format. An additional 17 bytes of the register map provide status/control of the two alarms, watchdog, 8-bit counter, and square wave functions. An additional seven bytes are made available as user SRAM.
Addresses and data are transferred serially via a serial SPI bus-compatible interface. The built-in address register is incremented automatically after each WRITE or READ data byte. The M41T93 has a built-in power sense circuit which detects power failures and automatically switches to the battery supply when a power failure occurs. The energy needed to sustain the clock operations can be supplied by a small lithium button battery when a power failure occurs.
Functions available to the user include a non-volatile, time-of-day clock/calendar, alarm interrupt, watchdog timer, programmable 8-bit counter, and square wave outputs. The eight clock address locations contain the century, year, month, date, day, hour, minute, second, and tenths/hundredths of a second in 24-hour BCD format. Corrections for 28, 29 (leap year), 30, and 31 day months are made automatically. The M41T93 is supplied in either a QFN16 or an SOX18, 300 mil SOIC which includes an embedded 32 KHz crystal. The SOX18 package requires only a user-supplied battery to provide non-volatile operation. |
| Clock/Timing | 2 | Active | ||
M48T025.0 V, 16 Kbit (2 Kb x 8) TIMEKEEPER® SRAM | Integrated Circuits (ICs) | 1 | Active | The M48T02/12 TIMEKEEPER®RAM is a 2 Kb x 8 non-volatile static RAM and real-time clock which is pin and functional compatible with the DS1642.
A special 24-pin, 600 mil DIP CAPHAT™package houses the M48T02/12 silicon with a quartz crystal and a long life lithium button cell to form a highly integrated battery-backed memory and real-time clock solution.
The M48T02/12 button cell has sufficient capacity and storage life to maintain data and clock functionality for an accumulated time period of at least 10 years in the absence of power over the operating temperature range.
The M48T02/12 is a non-volatile pin and function equivalent to any JEDEC standard 2 Kb x 8 SRAM. It also easily fits into many ROM, EPROM, and EEPROM sockets, providing the non-volatility of PROMs without any requirement for special WRITE timing or limitations on the number of WRITEs that can be performed. |
M48T08Y5 V, 64 Kbit (8 Kb x 8) TIMEKEEPER® SRAM | Real Time Clocks | 2 | Active | The M48T08/18/08Y TIMEKEEPER®RAM is an 8 K x 8 non-volatile static RAM and real-time clock which is pin and function compatible with the DS1643. The monolithic chip is available in two special packages to provide a highly integrated battery-backed memory and real-time clock solution.
The M48T08/18/08Y is a non-volatile pin and function equivalent to any JEDEC standard 8 K x 8 SRAM. It also easily fits into many ROM, EPROM, and EEPROM sockets, providing the non-volatility of PROMs without any requirement for special WRITE timing or limitations on the number of WRITEs that can be performed.
The 28-pin, 600 mil DIP CAPHAT™ houses the M48T08/18/08Y silicon with a quartz crystal and a long-life lithium button cell in a single package.
The 28-pin, 330 mil SOIC provides sockets with gold-plated contacts at both ends for direct connection to a separate SNAPHAT®housing containing the battery and crystal. The unique design allows the SNAPHAT®battery package to be mounted on top of the SOIC package after the completion of the surface mount process. Insertion of the SNAPHAT®housing after reflow prevents potential battery and crystal damage due to the high temperatures required for device surface-mounting. The SNAPHAT®housing is keyed to prevent reverse insertion.
The SOIC and battery/crystal packages are shipped separately in plastic anti-static tubes or in tape & reel form. For the 28-lead SOIC, the battery/crystal package (e.g., SNAPHAT®) part number is "M4T28-BR12SH" or "M4T32-BR12SH". |
| Clock/Timing | 2 | Obsolete | ||
M48T185 V, 64 Kbit (8 Kb x 8) TIMEKEEPER® SRAM | Real Time Clocks | 1 | Active | The M48T08/18/08Y TIMEKEEPER®RAM is an 8 K x 8 non-volatile static RAM and real-time clock which is pin and function compatible with the DS1643. The monolithic chip is available in two special packages to provide a highly integrated battery-backed memory and real-time clock solution.
The M48T08/18/08Y is a non-volatile pin and function equivalent to any JEDEC standard 8 K x 8 SRAM. It also easily fits into many ROM, EPROM, and EEPROM sockets, providing the non-volatility of PROMs without any requirement for special WRITE timing or limitations on the number of WRITEs that can be performed.
The 28-pin, 600 mil DIP CAPHAT™ houses the M48T08/18/08Y silicon with a quartz crystal and a long-life lithium button cell in a single package.
The 28-pin, 330 mil SOIC provides sockets with gold-plated contacts at both ends for direct connection to a separate SNAPHAT®housing containing the battery and crystal. The unique design allows the SNAPHAT®battery package to be mounted on top of the SOIC package after the completion of the surface mount process. Insertion of the SNAPHAT®housing after reflow prevents potential battery and crystal damage due to the high temperatures required for device surface-mounting. The SNAPHAT®housing is keyed to prevent reverse insertion.
The SOIC and battery/crystal packages are shipped separately in plastic anti-static tubes or in tape & reel form. For the 28-lead SOIC, the battery/crystal package (e.g., SNAPHAT®) part number is "M4T28-BR12SH" or "M4T32-BR12SH". |
| Real Time Clocks | 1 | Obsolete | ||
Standalone parts(2458)
...
| Part | Category | Description |
|---|---|---|
STMicroelectronics EMIF09-SD01F3Obsolete | Filters | FILTER RC(PI) 40 OHM/20PF SMD |
STMicroelectronics | Integrated Circuits (ICs) | STM32 DYNAMIC EFFICIENCY MCU WITH BAM, HIGH-PERFORMANCE AND DSP WITH FPU, ARM CORTEX-M4 MCU WITH 1 MBYTE OF FLASH MEMORY, 100 MHZ CPU, ART ACCELERATOR, DFSDM |
STMicroelectronics | Integrated Circuits (ICs) | 32-BIT POWER ARCHITECTURE MCU FOR AUTOMOTIVE BODY AND GATEWAY APPLICATIONS |
STMicroelectronics | Integrated Circuits (ICs) | MCU 32-BIT E200Z0H RISC 128KB FLASH 3.3V/5V AUTOMOTIVE AEC-Q100 64-PIN LQFP T/R |
STMicroelectronics | Development Boards Kits Programmers | DEMONSTRATION BOARD FOR SINGLE CHANNEL OP-AMP IN SO8 PACKAGE |
STMicroelectronics LDLN025J30RLTB | Integrated Circuits (ICs) | IC REG LINEAR 3V 250MA 4FLIPCHIP |
STMicroelectronics ST25RU3993-EVALObsolete | Development Boards Kits Programmers | ST25RU3993 READER IC EVALUATION BOARD |
STMicroelectronics | Integrated Circuits (ICs) | ARM-BASED 32-BIT MCU+FPU, 84MHZ, 128KB FLASH, 49-PIN WLCSP, -40 TO 85°C T/R |
STMicroelectronics STP12NM60NObsolete | Discrete Semiconductor Products | MOSFET N-CH 600V 10A TO220AB |
STMicroelectronics VND1NV04Obsolete | Integrated Circuits (ICs) | IC PWR DRIVER N-CHANNEL 1:1 DPAK |