PGA309-HTVoltage Output Programmable Sensor Conditioner, PGA309-HT | Sensor and Detector Interfaces | 4 | Active | The PGA309 is a programmable analog signal conditioner designed for bridge sensors. The analog signal path amplifies the sensor signal and provides digital calibration for zero, span, zero drift, span drift, and sensor linearization errors with applied stress (pressure, strain, etc.). The calibration is done via a One-Wire digital serial interface or through a Two-Wire industry-standard connection. The calibration parameters are stored in external nonvolatile memory (typically SOT23-5) to eliminate manual trimming and achieve long-term stability.
The all-analog signal path contains a 2x2 input multiplexer (mux), auto-zero programmable-gain instrumentation amplifier, linearization circuit, voltage reference, internal oscillator, control logic, and an output amplifier. Programmable level shifting compensates for sensor dc offsets.
The core of the PGA309 is the precision, low-drift, no 1/f noise Front-End PGA (Programmable Gain Amplifier). The overall gain of the Front-End PGA + Output Amplifier can be adjusted from 2.7V/V to 1152V/V. The polarity of the inputs can be switched through the input mux to accommodate sensors with unknown polarity output. The Fault Monitor circuit detects and signals sensor burnout, overload, and system fault conditions.
For reference application information, see the commercial device PGA309 User's Guide (SBOU024) available for download atwww.ti.com.
The PGA309 is a programmable analog signal conditioner designed for bridge sensors. The analog signal path amplifies the sensor signal and provides digital calibration for zero, span, zero drift, span drift, and sensor linearization errors with applied stress (pressure, strain, etc.). The calibration is done via a One-Wire digital serial interface or through a Two-Wire industry-standard connection. The calibration parameters are stored in external nonvolatile memory (typically SOT23-5) to eliminate manual trimming and achieve long-term stability.
The all-analog signal path contains a 2x2 input multiplexer (mux), auto-zero programmable-gain instrumentation amplifier, linearization circuit, voltage reference, internal oscillator, control logic, and an output amplifier. Programmable level shifting compensates for sensor dc offsets.
The core of the PGA309 is the precision, low-drift, no 1/f noise Front-End PGA (Programmable Gain Amplifier). The overall gain of the Front-End PGA + Output Amplifier can be adjusted from 2.7V/V to 1152V/V. The polarity of the inputs can be switched through the input mux to accommodate sensors with unknown polarity output. The Fault Monitor circuit detects and signals sensor burnout, overload, and system fault conditions.
For reference application information, see the commercial device PGA309 User's Guide (SBOU024) available for download atwww.ti.com. |
| Development Boards, Kits, Programmers | 3 | Active | |
| Development Boards, Kits, Programmers | 2 | Obsolete | |
| Audio Special Purpose | 2 | Obsolete | |
| Audio Special Purpose | 4 | Active | |
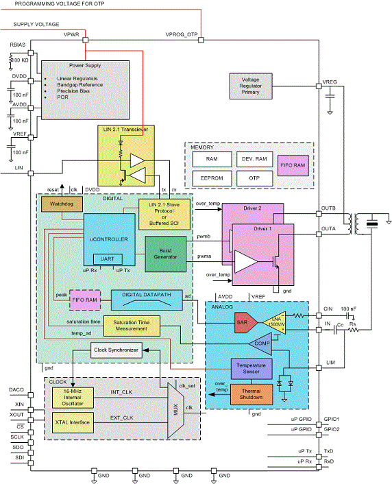
PGA450-Q1Ultrasonic Sensor Signal Processor with Integrated Microcontroller (MCU) | Evaluation and Demonstration Boards and Kits | 2 | Active | The PGA450-Q1 device is a fully integrated system-on-a-chip analog front-end for ultrasonic sensing in automotive park-assist, object-detection through air, level sensing in large tanks, and distance measurements for anti-collision and landing assist of unmanned systems (such as drones, cameras, and robots). This highly integrated device enables a small form-factor and cost-optimized solution compared to discrete ultrasonic-sensor solutions. The PGA450-Q1 device can measure distances ranging from less than 1 meter up to 7 meters, at a resolution of 1 cm depending on the transducer-transformer sensor pair used in the system.
The PGA450-Q1 device has an integrated 8051 8-bit microcontroller and OTP memory for program storage to process the echo signal and calculate the distance between the transducer and targeted object. Full programmability is available for optimization of specific end applications, and to accommodate a wide-range of closed-top or open-top transducers. Configurable variables include the number of transmit pulses, driving frequency, LNA gain, and comparison signal thresholds. External communication with the PGA450-Q1 device is capable through the LIN 2.1 protocol, SPI, or UART interfaces.
The PGA450-Q1 device is a fully integrated system-on-a-chip analog front-end for ultrasonic sensing in automotive park-assist, object-detection through air, level sensing in large tanks, and distance measurements for anti-collision and landing assist of unmanned systems (such as drones, cameras, and robots). This highly integrated device enables a small form-factor and cost-optimized solution compared to discrete ultrasonic-sensor solutions. The PGA450-Q1 device can measure distances ranging from less than 1 meter up to 7 meters, at a resolution of 1 cm depending on the transducer-transformer sensor pair used in the system.
The PGA450-Q1 device has an integrated 8051 8-bit microcontroller and OTP memory for program storage to process the echo signal and calculate the distance between the transducer and targeted object. Full programmability is available for optimization of specific end applications, and to accommodate a wide-range of closed-top or open-top transducers. Configurable variables include the number of transmit pulses, driving frequency, LNA gain, and comparison signal thresholds. External communication with the PGA450-Q1 device is capable through the LIN 2.1 protocol, SPI, or UART interfaces. |
| Data Acquisition | 1 | Unknown | |
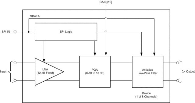
PGA5807AHigh Performance, Integrated 8-channel AFE with LNA, PGA, and LPF | Evaluation and Demonstration Boards and Kits | 3 | Active | The PGA5807A is an 8-channel, high-bandwidth, analog front-end (AFE). The device functions on a single 3.3-V analog supply. The device supports high-bandwidth input frequencies with a total power of 60 mW per channel. The PGA5807A consists of a low-noise amplifier (LNA), a programmable gain amplifier (PGA), and a programmable low-pass filter (LPF). The LNA has a fixed 12-dB gain (the differential amplifier supports both direct and capacitive input coupling) and supports a maximum linear input range of 500 mVPP.
The device provides gain options from 0 dB to 18 dB, in 3-dB gain steps. This 18-dB PGA gain can be programmed using either the serial interface or external pins. The PGA5807A integrates an antialiasing filter in the form of an LPF to reduce noise. The device is available in a very small, 9-mm × 9-mm QFN-64 package and is specified for operation over the –40°C to +85°C temperature range.
The PGA5807A is an 8-channel, high-bandwidth, analog front-end (AFE). The device functions on a single 3.3-V analog supply. The device supports high-bandwidth input frequencies with a total power of 60 mW per channel. The PGA5807A consists of a low-noise amplifier (LNA), a programmable gain amplifier (PGA), and a programmable low-pass filter (LPF). The LNA has a fixed 12-dB gain (the differential amplifier supports both direct and capacitive input coupling) and supports a maximum linear input range of 500 mVPP.
The device provides gain options from 0 dB to 18 dB, in 3-dB gain steps. This 18-dB PGA gain can be programmed using either the serial interface or external pins. The PGA5807A integrates an antialiasing filter in the form of an LPF to reduce noise. The device is available in a very small, 9-mm × 9-mm QFN-64 package and is specified for operation over the –40°C to +85°C temperature range. |
PGA855Low-noise, wide-bandwidth, fully-differential-output programmable-gain instrumentation amplifier | Special Purpose Amplifiers | 1 | Active | The PGA855 is a high-bandwidth programmable gain instrumentation amplifier with fully differential outputs. The PGA855 is equipped with eight binary gain settings, from an attenuating gain of 0.125 V/V to a maximum of 16 V/V, using three digital gain selection pins. The output common-mode voltage can be independently set using the VOCM pin.
The PGA855 architecture is optimized to drive inputs of high-resolution, precision analog-to-digital converters (ADCs) with sampling rates up to 1 MSPS without the need for an additional ADC driver. The output-stage power supplies (LVSS/LVDD) are decoupled from the input stage and can be connected to power supplies of the ADC to protect the ADC or downstream device against overdrive damage.
The super-beta input transistors offer an impressively low input bias current, which in turn provides a very low input current noise density of 0.3 pA/√ Hz, making the PGA855 a versatile choice for virtually any sensor type. The low-noise current-feedback front-end architecture offers excellent gain flatness, even at high frequencies, making the PGA855 an excellent high-impedance sensor readout device. Integrated protection circuitry on the input pins handles overvoltages up to ±40 V beyond the power-supply voltages.
The PGA855 is a high-bandwidth programmable gain instrumentation amplifier with fully differential outputs. The PGA855 is equipped with eight binary gain settings, from an attenuating gain of 0.125 V/V to a maximum of 16 V/V, using three digital gain selection pins. The output common-mode voltage can be independently set using the VOCM pin.
The PGA855 architecture is optimized to drive inputs of high-resolution, precision analog-to-digital converters (ADCs) with sampling rates up to 1 MSPS without the need for an additional ADC driver. The output-stage power supplies (LVSS/LVDD) are decoupled from the input stage and can be connected to power supplies of the ADC to protect the ADC or downstream device against overdrive damage.
The super-beta input transistors offer an impressively low input bias current, which in turn provides a very low input current noise density of 0.3 pA/√ Hz, making the PGA855 a versatile choice for virtually any sensor type. The low-noise current-feedback front-end architecture offers excellent gain flatness, even at high frequencies, making the PGA855 an excellent high-impedance sensor readout device. Integrated protection circuitry on the input pins handles overvoltages up to ±40 V beyond the power-supply voltages. |
PGA870High-Speed Fully Differential Programmable Gain Amplifier | Amplifiers | 1 | Active | The PGA870 is a wideband programmable-gain amplifier (PGA) for high-speed signal chain and data acquisition systems. The PGA870 has been optimized to provide high bandwidth, low distortion, and low noise, making it ideally suited as a 14-bit analog-to-digital converter (ADC) driver for wireless base station signal chain applications. The wide gain range of –11.5 dB to +20 dB can be adjusted in 0.5-dB gain steps through a 6-bit control word applied to the parallel interface. The gain control interface may be configured as a level-triggered latch or an edge-triggered latch, or it may be placed in an unlatched (transparent) mode. In addition to the 6-bit gain control, the PGA870 contains a power-down pin (PD) that can be used to put the device into a low-current, power-down mode. In this mode, the quiescent current drops to 2 mA, but the gain control circuitry remains active, allowing the gain of the PGA870 to be set before device power-up. The PGA870 is offered in a QFN-28 PowerPAD™ package.
The PGA870 is a wideband programmable-gain amplifier (PGA) for high-speed signal chain and data acquisition systems. The PGA870 has been optimized to provide high bandwidth, low distortion, and low noise, making it ideally suited as a 14-bit analog-to-digital converter (ADC) driver for wireless base station signal chain applications. The wide gain range of –11.5 dB to +20 dB can be adjusted in 0.5-dB gain steps through a 6-bit control word applied to the parallel interface. The gain control interface may be configured as a level-triggered latch or an edge-triggered latch, or it may be placed in an unlatched (transparent) mode. In addition to the 6-bit gain control, the PGA870 contains a power-down pin (PD) that can be used to put the device into a low-current, power-down mode. In this mode, the quiescent current drops to 2 mA, but the gain control circuitry remains active, allowing the gain of the PGA870 to be set before device power-up. The PGA870 is offered in a QFN-28 PowerPAD™ package. |