| Digital to Analog Converters (DAC) | 12 | Active | |
DAC81401Single-channel 16-bit high-voltage-output DAC with precision internal reference | Data Acquisition | 1 | Active | The 16-bit DAC81401 and 12-bit DAC61401 (DACx1401) devices are a pin-compatible family of single-channel, buffered, high-voltage-output digital-to-analog converters (DACs) with an integrated 2.5V internal reference. These devices are specified monotonic and provide an exceptional linearity of less than 1LSB (maximum).
The DACx1401 offer bipolar output voltages of ±20V, ±10V, ±5V, and full-scale unipolar output voltages of 40V, 10V, and 5V. The DAC output range is programmable.
The DACx1401 incorporate a power-on-reset (POR) circuit that powers up the DAC output and keeps the devices in power-down mode until the outputs enable.
Communication to the devices is done through a high-speed, 4-wire serial interface compatible with industry-standard microprocessors and microcontrollers supporting 1.7V to 5.5V operation.
The DACx1401 are characterized for operation over the temperature range of –55°C to +125°C, and are available in a small 16-pin QFN and 20-pin TSSOP package.
The 16-bit DAC81401 and 12-bit DAC61401 (DACx1401) devices are a pin-compatible family of single-channel, buffered, high-voltage-output digital-to-analog converters (DACs) with an integrated 2.5V internal reference. These devices are specified monotonic and provide an exceptional linearity of less than 1LSB (maximum).
The DACx1401 offer bipolar output voltages of ±20V, ±10V, ±5V, and full-scale unipolar output voltages of 40V, 10V, and 5V. The DAC output range is programmable.
The DACx1401 incorporate a power-on-reset (POR) circuit that powers up the DAC output and keeps the devices in power-down mode until the outputs enable.
Communication to the devices is done through a high-speed, 4-wire serial interface compatible with industry-standard microprocessors and microcontrollers supporting 1.7V to 5.5V operation.
The DACx1401 are characterized for operation over the temperature range of –55°C to +125°C, and are available in a small 16-pin QFN and 20-pin TSSOP package. |
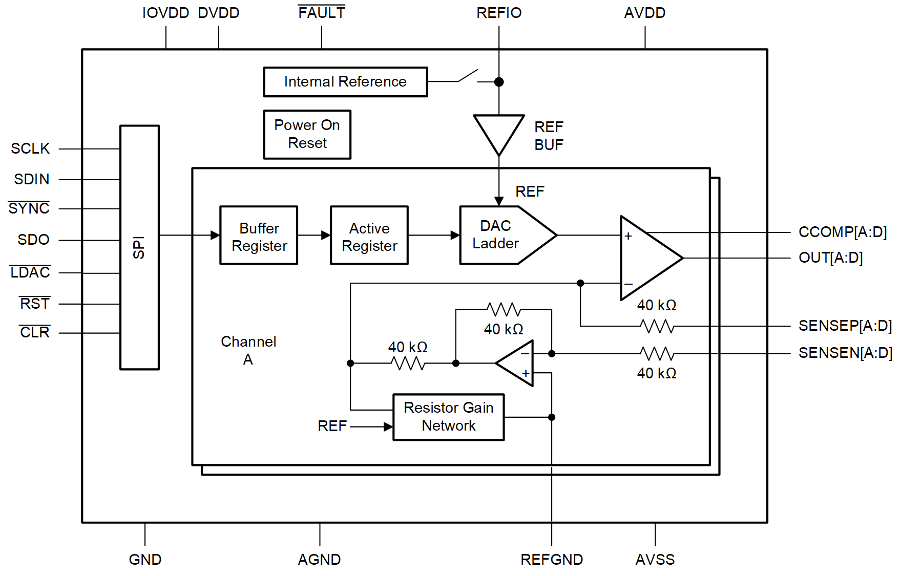
DAC81402Dual-channel 16-bit high-voltage-output DAC with precision internal reference | Data Acquisition | 2 | Active | The 16-bit DAC81402 and 12-bit DAC61402 (DACx1402) are pin-compatible, dual-channel, buffered, high-voltage-output, digital-to-analog converters (DACs). These devices include a low-drift, 2.5-V internal reference that eliminates the need for an external precision reference in most applications. The devices are specified monotonic and provide high linearity of ±1 LSB INL. Additionally, the devices implement per channel sense pins that eliminate IR drops and sense up to ±12 V of ground bounce.
A user-selectable output configuration enables full-scale bipolar output voltages of ±20 V, ±10 V, and ±5 V; and full-scale unipolar output voltages of 40 V, 20 V, 10 V and 5 V. The full-scale output range for each DAC channel is independently programmable. The integrated DAC output buffers can sink or source up to 15 mA, thus limiting the need for additional operational amplifiers.
The DACx1402 incorporate a power-on-reset circuit that connects the DAC outputs to ground at power up. The outputs remain in this mode until the device is properly configured for operation. The devices include additional reliability features such as a CRC error check, short-circuit protection, and a thermal alarm.
Communication to the devices is performed through a 4-wire serial interface that supports operation from 1.7 V to 5.5 V.
The 16-bit DAC81402 and 12-bit DAC61402 (DACx1402) are pin-compatible, dual-channel, buffered, high-voltage-output, digital-to-analog converters (DACs). These devices include a low-drift, 2.5-V internal reference that eliminates the need for an external precision reference in most applications. The devices are specified monotonic and provide high linearity of ±1 LSB INL. Additionally, the devices implement per channel sense pins that eliminate IR drops and sense up to ±12 V of ground bounce.
A user-selectable output configuration enables full-scale bipolar output voltages of ±20 V, ±10 V, and ±5 V; and full-scale unipolar output voltages of 40 V, 20 V, 10 V and 5 V. The full-scale output range for each DAC channel is independently programmable. The integrated DAC output buffers can sink or source up to 15 mA, thus limiting the need for additional operational amplifiers.
The DACx1402 incorporate a power-on-reset circuit that connects the DAC outputs to ground at power up. The outputs remain in this mode until the device is properly configured for operation. The devices include additional reliability features such as a CRC error check, short-circuit protection, and a thermal alarm.
Communication to the devices is performed through a 4-wire serial interface that supports operation from 1.7 V to 5.5 V. |
DAC81404Quad-channel, 16-bit, high-voltage-output DAC with precision internal reference | Digital to Analog Converters (DAC) | 2 | Active | The 16-bit DAC81404 and 12-bit DAC61404 (DACx1404) are pin-compatible, quad-channel, buffered, high-voltage-output, digital-to-analog converters (DACs). These devices include a low-drift, 2.5-V internal reference that eliminates the need for an external precision reference in most applications. The devices are specified monotonic and provide high linearity of ±1 LSB INL. Additionally, the devices implement per channel sense pins to eliminate IR drops and sense up to ±12 V of ground bounce.
A user-selectable output configuration enables full-scale bipolar output voltages of ±20 V, ±10 V, and ±5 V; and full-scale unipolar output voltages of 40 V, 20 V, 10 V and 5 V. The full-scale output range for each DAC channel is independently programmable. The integrated DAC output buffers can sink or source up to 15 mA, thus limiting the need for additional operational amplifiers.
The DACx1404 incorporate a power-on-reset circuit that connects the DAC outputs to ground at power up. The outputs remain in this mode until the device is properly configured for operation. These devices include additional reliability features, such as a CRC error check, short-circuit protection, and a thermal alarm.
Communication to the devices is performed through a 4-wire serial interface that supports operation from 1.7 V to 5.5 V.
The 16-bit DAC81404 and 12-bit DAC61404 (DACx1404) are pin-compatible, quad-channel, buffered, high-voltage-output, digital-to-analog converters (DACs). These devices include a low-drift, 2.5-V internal reference that eliminates the need for an external precision reference in most applications. The devices are specified monotonic and provide high linearity of ±1 LSB INL. Additionally, the devices implement per channel sense pins to eliminate IR drops and sense up to ±12 V of ground bounce.
A user-selectable output configuration enables full-scale bipolar output voltages of ±20 V, ±10 V, and ±5 V; and full-scale unipolar output voltages of 40 V, 20 V, 10 V and 5 V. The full-scale output range for each DAC channel is independently programmable. The integrated DAC output buffers can sink or source up to 15 mA, thus limiting the need for additional operational amplifiers.
The DACx1404 incorporate a power-on-reset circuit that connects the DAC outputs to ground at power up. The outputs remain in this mode until the device is properly configured for operation. These devices include additional reliability features, such as a CRC error check, short-circuit protection, and a thermal alarm.
Communication to the devices is performed through a 4-wire serial interface that supports operation from 1.7 V to 5.5 V. |
DAC814088-channel 16-bit high-voltage output DAC with integrated internal reference | Integrated Circuits (ICs) | 1 | Active | The DAC81408, DAC71408, and DAC61408 (DACx1408) are a pin-compatible family of 8-channel, buffered, high-voltage output digital-to-analog converters (DACs) with 16-, 14- and 12-bit resolution. The DACx1408 includes a low drift, 2.5-V internal reference, eliminating the need for an external precision reference in most applications. These devices are specified monotonic and provide high linearity of ±1 LSB INL.
A user selectable output configuration enables full-scale bipolar output voltages: ±20 V, ±10 V, ±5 V or ±2.5 V and full-scale unipolar output voltages: 40 V, 20 V, 10 V or 5 V. The full-scale output range for each DAC channel is independently programmable. The integrated DAC output buffers can sink or source up to 25 mA thus limiting the need of additional operational amplifiers. Each pair of channels can be configured to provide a differential output with offset calibration. The three dedicated A-B toggle pins enable dither signal generation with up to three possible frequencies.
The DACx1408 incorporates a power-on-reset circuit that connects the DAC outputs to ground at power-up. The outputs remain at this state until the device registers are properly configured for operation.
Communication to the DACx1408 is performed through a 4-wire serial interface that supports operation from 1.7 V to 5.5 V.
The DAC81408, DAC71408, and DAC61408 (DACx1408) are a pin-compatible family of 8-channel, buffered, high-voltage output digital-to-analog converters (DACs) with 16-, 14- and 12-bit resolution. The DACx1408 includes a low drift, 2.5-V internal reference, eliminating the need for an external precision reference in most applications. These devices are specified monotonic and provide high linearity of ±1 LSB INL.
A user selectable output configuration enables full-scale bipolar output voltages: ±20 V, ±10 V, ±5 V or ±2.5 V and full-scale unipolar output voltages: 40 V, 20 V, 10 V or 5 V. The full-scale output range for each DAC channel is independently programmable. The integrated DAC output buffers can sink or source up to 25 mA thus limiting the need of additional operational amplifiers. Each pair of channels can be configured to provide a differential output with offset calibration. The three dedicated A-B toggle pins enable dither signal generation with up to three possible frequencies.
The DACx1408 incorporates a power-on-reset circuit that connects the DAC outputs to ground at power-up. The outputs remain at this state until the device registers are properly configured for operation.
Communication to the DACx1408 is performed through a 4-wire serial interface that supports operation from 1.7 V to 5.5 V. |
| Digital to Analog Converters (DAC) | 3 | Active | |
DAC8162-Q114-Bit, Dual, Low Power, Ultra-low Glitch, Buffered Voltage Output DAC with 2.5V, 4ppm/°C Reference | Integrated Circuits (ICs) | 7 | Active | The DAC756x-Q1, DAC816x-Q1, and DAC856x-Q1 (DACxx6x-Q1) devices are low-power, voltage-output, dual-channel, 12-, 14-, and 16-bit digital-to-analog converters (DACs), respectively. These devices include a 2.5-V, 4-ppm/°C internal reference, giving a full-scale output voltage range of 2.5 V or 5 V. The internal reference has an initial accuracy of ±5 mV and can source or sink up to 20 mA at the VREFIN/VREFOUTpin.
These devices are monotonic, providing excellent linearity and minimizing undesired code-to-code transient voltages (glitch). They use a versatile three-wire serial interface that operates at clock rates up to 50 MHz. The interface is compatible with standard SPI™, QSPI™, Microwire, and digital signal processor (DSP) interfaces. The DACxx62-Q1 devices incorporate a power-on-reset circuit that ensures the DAC output powers up and remains at zero scale until a valid code is written to the device, whereas the DACxx63-Q1 devices similarly power up at mid-scale. These devices contain a power-down feature that reduces current consumption to typically 550 nA at 5 V. The low power consumption, internal reference, and small footprint make these devices ideal for portable, battery-operated equipment.
The DACxx62-Q1 devices are drop-in and function-compatible with each device in this family, as are the DACxx63-Q1 devices. The entire family is available in a 10-pin VSSOP-10 (DGS) package.
The DAC756x-Q1, DAC816x-Q1, and DAC856x-Q1 (DACxx6x-Q1) devices are low-power, voltage-output, dual-channel, 12-, 14-, and 16-bit digital-to-analog converters (DACs), respectively. These devices include a 2.5-V, 4-ppm/°C internal reference, giving a full-scale output voltage range of 2.5 V or 5 V. The internal reference has an initial accuracy of ±5 mV and can source or sink up to 20 mA at the VREFIN/VREFOUTpin.
These devices are monotonic, providing excellent linearity and minimizing undesired code-to-code transient voltages (glitch). They use a versatile three-wire serial interface that operates at clock rates up to 50 MHz. The interface is compatible with standard SPI™, QSPI™, Microwire, and digital signal processor (DSP) interfaces. The DACxx62-Q1 devices incorporate a power-on-reset circuit that ensures the DAC output powers up and remains at zero scale until a valid code is written to the device, whereas the DACxx63-Q1 devices similarly power up at mid-scale. These devices contain a power-down feature that reduces current consumption to typically 550 nA at 5 V. The low power consumption, internal reference, and small footprint make these devices ideal for portable, battery-operated equipment.
The DACxx62-Q1 devices are drop-in and function-compatible with each device in this family, as are the DACxx63-Q1 devices. The entire family is available in a 10-pin VSSOP-10 (DGS) package. |
DAC8163-Q1DAC8163T Dual,14-Bit,Low Power with 2.5-V,4ppm/C Internal Ref,Reset to Mid-scale and 5V TTL I/O | Data Acquisition | 7 | Active | The DAC756x-Q1, DAC816x-Q1, and DAC856x-Q1 (DACxx6x-Q1) devices are low-power, voltage-output, dual-channel, 12-, 14-, and 16-bit digital-to-analog converters (DACs), respectively. These devices include a 2.5-V, 4-ppm/°C internal reference, giving a full-scale output voltage range of 2.5 V or 5 V. The internal reference has an initial accuracy of ±5 mV and can source or sink up to 20 mA at the VREFIN/VREFOUTpin.
These devices are monotonic, providing excellent linearity and minimizing undesired code-to-code transient voltages (glitch). They use a versatile three-wire serial interface that operates at clock rates up to 50 MHz. The interface is compatible with standard SPI™, QSPI™, Microwire, and digital signal processor (DSP) interfaces. The DACxx62-Q1 devices incorporate a power-on-reset circuit that ensures the DAC output powers up and remains at zero scale until a valid code is written to the device, whereas the DACxx63-Q1 devices similarly power up at mid-scale. These devices contain a power-down feature that reduces current consumption to typically 550 nA at 5 V. The low power consumption, internal reference, and small footprint make these devices ideal for portable, battery-operated equipment.
The DACxx62-Q1 devices are drop-in and function-compatible with each device in this family, as are the DACxx63-Q1 devices. The entire family is available in a 10-pin VSSOP-10 (DGS) package.
The DAC756x-Q1, DAC816x-Q1, and DAC856x-Q1 (DACxx6x-Q1) devices are low-power, voltage-output, dual-channel, 12-, 14-, and 16-bit digital-to-analog converters (DACs), respectively. These devices include a 2.5-V, 4-ppm/°C internal reference, giving a full-scale output voltage range of 2.5 V or 5 V. The internal reference has an initial accuracy of ±5 mV and can source or sink up to 20 mA at the VREFIN/VREFOUTpin.
These devices are monotonic, providing excellent linearity and minimizing undesired code-to-code transient voltages (glitch). They use a versatile three-wire serial interface that operates at clock rates up to 50 MHz. The interface is compatible with standard SPI™, QSPI™, Microwire, and digital signal processor (DSP) interfaces. The DACxx62-Q1 devices incorporate a power-on-reset circuit that ensures the DAC output powers up and remains at zero scale until a valid code is written to the device, whereas the DACxx63-Q1 devices similarly power up at mid-scale. These devices contain a power-down feature that reduces current consumption to typically 550 nA at 5 V. The low power consumption, internal reference, and small footprint make these devices ideal for portable, battery-operated equipment.
The DACxx62-Q1 devices are drop-in and function-compatible with each device in this family, as are the DACxx63-Q1 devices. The entire family is available in a 10-pin VSSOP-10 (DGS) package. |
| Digital to Analog Converters (DACs) Evaluation Boards | 6 | Active | |
| Evaluation Boards | 7 | Active | |