T
Texas Instruments
| Series | Category | # Parts | Status | Description |
|---|---|---|---|---|
| Part | Spec A | Spec B | Spec C | Spec D | Description |
|---|---|---|---|---|---|
| Series | Category | # Parts | Status | Description |
|---|---|---|---|---|
| Part | Spec A | Spec B | Spec C | Spec D | Description |
|---|---|---|---|---|---|
| Part | Category | Description |
|---|---|---|
Texas Instruments BQ2002CSNTRG4Unknown | Integrated Circuits (ICs) | LINEAR BATTERY CHARGER NICD/NIMH 2000MA 0V TO 6V 8-PIN SOIC T/R |
Texas Instruments LM3676SDX-3.3Obsolete | Integrated Circuits (ICs) | IC REG BUCK 3.3V 600MA 8WSON |
Texas Instruments | Integrated Circuits (ICs) | TMX320DRE311 179PIN UBGA 200MHZ |
Texas Instruments UCC3580N-1G4Obsolete | Integrated Circuits (ICs) | IC REG CTRLR FWRD CONV 16DIP |
Texas Instruments LM2831YMF EVALObsolete | Development Boards Kits Programmers | EVAL BOARD FOR LM2831 |
Texas Instruments | Integrated Circuits (ICs) | BUFFER/LINE DRIVER 8-CH NON-INVERTING 3-ST CMOS 20-PIN SSOP T/R |
Texas Instruments | Integrated Circuits (ICs) | ANALOG OTHER PERIPHERALS |
Texas Instruments | Integrated Circuits (ICs) | RADIATION-HARDENED, QMLP 60V HAL |
Texas Instruments SN75LVDS051DRObsolete | Integrated Circuits (ICs) | IC TRANSCEIVER FULL 2/2 16SOIC |
Texas Instruments | Integrated Circuits (ICs) | AUTOMOTIVE OCTAL D-TYPE FLIP-FLO |
| Series | Category | # Parts | Status | Description |
|---|---|---|---|---|
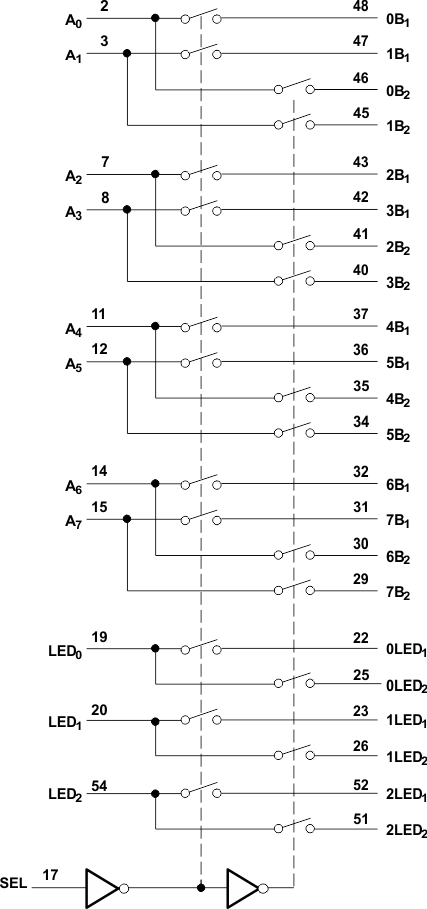
TS3L48923.3-V, 2:1 (SPDT), 8-channel gigachannel LAN switch with LED switch | Analog Switches - Special Purpose | 1 | Active | The TS3L4892 is a 16-bit to 8-bit multiplexer/demultiplexer LAN switch with a single select (SEL) input. SEL controls the data path of the multiplexer/demultiplexer. The device provides additional I/Os for switching status indicating LED signals.
The device provides a low and flat ON-state resistance (rON) and an excellent ON-state resistance match. Low input/output capacitance, high bandwidth, low skew, and low crosstalk among channels make this device suitable for various LAN applications, such as 10/100/1000 Base-T.
This device can be used to replace mechanical relays in LAN applications. It also can be used to route signals from a 10/100 Base-T ethernet transceiver to the RJ-45 LAN connectors in laptops or in docking stations.
The TS3L4892 is a 16-bit to 8-bit multiplexer/demultiplexer LAN switch with a single select (SEL) input. SEL controls the data path of the multiplexer/demultiplexer. The device provides additional I/Os for switching status indicating LED signals.
The device provides a low and flat ON-state resistance (rON) and an excellent ON-state resistance match. Low input/output capacitance, high bandwidth, low skew, and low crosstalk among channels make this device suitable for various LAN applications, such as 10/100/1000 Base-T.
This device can be used to replace mechanical relays in LAN applications. It also can be used to route signals from a 10/100 Base-T ethernet transceiver to the RJ-45 LAN connectors in laptops or in docking stations. |
TS3L5003.3-V, 2:1 (SPDT), 8-channel gigachannel LAN switch with LED switch & enhanced ESD protection | Interface | 3 | Active | The TS3L500AE is a 16-bit to 8-bit multiplexer/demultiplexer LAN switch with a single select (SEL) input. SEL controls the data path of the multiplexer/demultiplexer. The device provides additional I/Os for switching status indicating LED signals and includes high ESD protection.
The device provides a low and flat ON-state resistance (ron) and an excellent ON-state resistance match. Low input/output capacitance, high bandwidth, low skew, and low crosstalk among channels make this device suitable for various LAN applications, such as 10/100/1000 Base-T.
This device can be used to replace mechanical relays in LAN applications. It also can be used to route signals from a 10/100 Base-T ethernet transceiver to the RJ-45 LAN connectors in laptops or in docking stations.
The TS3L500AE is a 16-bit to 8-bit multiplexer/demultiplexer LAN switch with a single select (SEL) input. SEL controls the data path of the multiplexer/demultiplexer. The device provides additional I/Os for switching status indicating LED signals and includes high ESD protection.
The device provides a low and flat ON-state resistance (ron) and an excellent ON-state resistance match. Low input/output capacitance, high bandwidth, low skew, and low crosstalk among channels make this device suitable for various LAN applications, such as 10/100/1000 Base-T.
This device can be used to replace mechanical relays in LAN applications. It also can be used to route signals from a 10/100 Base-T ethernet transceiver to the RJ-45 LAN connectors in laptops or in docking stations. |
| Analog Switches - Special Purpose | 1 | Active | ||
| Development Boards, Kits, Programmers | 1 | Obsolete | ||
TS3USB221Automotive ESD Protected,High-Speed USB 2.0 (480-Mbps) 1:2 Multiplexer/Demultiplexer Switch | Interface | 11 | Active | The TS3USB221A device is a high-bandwidth switch specially designed for the switching of high-speed USB 2.0 signals in handset and consumer applications, such as cell phones, digital cameras, and notebooks with hubs or controllers with limited USB I/Os. The wide bandwidth (900MHz) of this switch allows signals to pass with minimum edge and phase distortion. The device multiplexes differential outputs from a USB host device to one of two corresponding outputs. The switch is bidirectional and offers little or no attenuation of the high-speed signals at the outputs. The device also has a low power mode that can reduce the power consumption to 1µA for portable applications with a battery or limited power budget. The device is designed for low bit-to-bit skew and high channel-to-channel noise isolation, and is compatible with various standards, such as high-speed USB 2.0 (480Mbps).
The TS3USB221A device integrates ESD protection cells on all pins, is available in a tiny µQFN package (2mm × 1.5mm) and is characterized over the free air temperature range from –40°C to 85°C.
The TS3USB221A device is a high-bandwidth switch specially designed for the switching of high-speed USB 2.0 signals in handset and consumer applications, such as cell phones, digital cameras, and notebooks with hubs or controllers with limited USB I/Os. The wide bandwidth (900MHz) of this switch allows signals to pass with minimum edge and phase distortion. The device multiplexes differential outputs from a USB host device to one of two corresponding outputs. The switch is bidirectional and offers little or no attenuation of the high-speed signals at the outputs. The device also has a low power mode that can reduce the power consumption to 1µA for portable applications with a battery or limited power budget. The device is designed for low bit-to-bit skew and high channel-to-channel noise isolation, and is compatible with various standards, such as high-speed USB 2.0 (480Mbps).
The TS3USB221A device integrates ESD protection cells on all pins, is available in a tiny µQFN package (2mm × 1.5mm) and is characterized over the free air temperature range from –40°C to 85°C. |
TS3USB30High-Speed USB 2.0 1:2 Mux/Demux Switch With Single Enable and ESD Protection | Analog Switches - Special Purpose | 3 | Active | The TS3USB30 is a high-bandwidth switch specially designed for the switching of high-speed USB 2.0 signals in handset and consumer applications, such as cell phones, digital cameras, and notebooks with hubs or controllers with limited USB I/Os. The wide bandwidth (955 MHz) of this switch allows signals to pass with minimum edge and phase distortion. The device multiplexes differential outputs from a USB host device to one of two corresponding outputs. The switch is bidirectional and offers little or no attenuation of the high-speed signals at the outputs. It is designed for low bit-to-bit skew and high channel-to-channel noise isolation, and is compatible with various standards, such as high-speed USB 2.0 (480 Mbps).
The TS3USB30 is a high-bandwidth switch specially designed for the switching of high-speed USB 2.0 signals in handset and consumer applications, such as cell phones, digital cameras, and notebooks with hubs or controllers with limited USB I/Os. The wide bandwidth (955 MHz) of this switch allows signals to pass with minimum edge and phase distortion. The device multiplexes differential outputs from a USB host device to one of two corresponding outputs. The switch is bidirectional and offers little or no attenuation of the high-speed signals at the outputs. It is designed for low bit-to-bit skew and high channel-to-channel noise isolation, and is compatible with various standards, such as high-speed USB 2.0 (480 Mbps). |
TS3USB3000DPDT USB 2.0 High-Speed and Mobile High-Definition Link (MHL) (6.1GHz) Switch | Analog Switches - Special Purpose | 2 | Active | The TS3USB3000 device is a double-pole, double throw (DPDT) multiplexer that includes a high-speed Mobile High-Definition Link (MHL) switch and an USB 2.0 High-Speed (480 Mbps) switch in the same package. These configurations allow the system designer to use a common USB or Micro-USB connector for both MHL video signals and USB data.
The TS3USB3000 has a VCCrange of 2.3 V to 4.8 V and supports overvoltage tolerance (OVT) feature, which allows the I/O pins to withstand overvoltage conditions (up to 5.5 V). The power-off protection feature forces all I/O pins to be in high-impedance mode when power is not present, allowing full isolation of the signal lines under such condition without excessive leakage current. The select pins of TS3USB3000 are compatible with 1.8-V control voltage, allowing them to be directly interfaced with the General-Purpose I/O (GPIO) from a mobile processor.
The TS3USB3000 comes with a small 10-pin UQFN package with only 1.5 mm × 2 mm in size, which makes it a perfect candidate to be used in mobile applications.
The TS3USB3000 device is a double-pole, double throw (DPDT) multiplexer that includes a high-speed Mobile High-Definition Link (MHL) switch and an USB 2.0 High-Speed (480 Mbps) switch in the same package. These configurations allow the system designer to use a common USB or Micro-USB connector for both MHL video signals and USB data.
The TS3USB3000 has a VCCrange of 2.3 V to 4.8 V and supports overvoltage tolerance (OVT) feature, which allows the I/O pins to withstand overvoltage conditions (up to 5.5 V). The power-off protection feature forces all I/O pins to be in high-impedance mode when power is not present, allowing full isolation of the signal lines under such condition without excessive leakage current. The select pins of TS3USB3000 are compatible with 1.8-V control voltage, allowing them to be directly interfaced with the General-Purpose I/O (GPIO) from a mobile processor.
The TS3USB3000 comes with a small 10-pin UQFN package with only 1.5 mm × 2 mm in size, which makes it a perfect candidate to be used in mobile applications. |
| Integrated Circuits (ICs) | 1 | Active | ||
TS3USB31High-Speed USB 2.0 (480-Mbps) 1-Port Switch With Single Enable | Analog Switches - Special Purpose | 3 | Active | The TS3USB31 is a 1:1 SPST high-bandwidth switch specially designed for the switching of high-speed USB 2.0 signals. This device comes in a small UQFN package for use in a handset or consumer applications, such as cell phones, digital cameras, and notebooks with hubs. The wide bandwidth (750 MHz) of this switch allows signals to pass with minimum edge and phase distortion. The switch is bidirectional and offers little or no attenuation of the high-speed signals at the outputs. It is designed for low bit-to-bit skew and high channel-to-channel noise isolation, and is compatible with various standards, such as high-speed USB 2.0 (480 Mbps).
The TS3USB31 is a 1:1 SPST high-bandwidth switch specially designed for the switching of high-speed USB 2.0 signals. This device comes in a small UQFN package for use in a handset or consumer applications, such as cell phones, digital cameras, and notebooks with hubs. The wide bandwidth (750 MHz) of this switch allows signals to pass with minimum edge and phase distortion. The switch is bidirectional and offers little or no attenuation of the high-speed signals at the outputs. It is designed for low bit-to-bit skew and high channel-to-channel noise isolation, and is compatible with various standards, such as high-speed USB 2.0 (480 Mbps). |
| Evaluation and Demonstration Boards and Kits | 3 | Active | ||