SN74CBT32515-V, 8:1 1-channel general-purpose FET bus switch | Integrated Circuits (ICs) | 7 | Active | The SN74CBT3251 is a 1-of-8 high-speed TTL-compatible FET multiplexer and demultiplexer. The low ON-state resistance of the switch allows connections to be made with minimal propagation delay.
When output enable (OE) is low, the SN74CBT3251 is enabled, and S0, S1, and S2 select one of the B outputs for the A-input data.
The SN74CBT3251 is a 1-of-8 high-speed TTL-compatible FET multiplexer and demultiplexer. The low ON-state resistance of the switch allows connections to be made with minimal propagation delay.
When output enable (OE) is low, the SN74CBT3251 is enabled, and S0, S1, and S2 select one of the B outputs for the A-input data. |
SN74CBT3253C5-V, 4:1, 2-channel FET bus switch with –2-V undershoot protection | Logic | 15 | Active | The SN74CBT3253C is a high-speed TTL-compatible FET multiplexer/demultiplexer with low ON-state resistance (ron), allowing for minimal propagation delay. Active Undershoot-Protection Circuitry on the A and B ports of the SN74CBT3253C provides protection for undershoot up to -2 V by sensing an undershoot event and ensuring that the switch remains in the proper OFF state.
The SN74CBT3253C is organized as two 1-of-4 multiplexer/demultiplexers with separate output-enable (1OE, 2OE) inputs. The select (S0, S1) inputs control the data path of each multiplexer/demultiplexer. WhenOEis low, the associated multiplexer/demultiplexer is enabled, and the A port is connected to the B port, allowing bidirectional data flow between ports. WhenOEis high, the associated multiplexer/demultiplexer is disabled, and a high-impedance state exists between the A and B ports.
This device is fully specified for partial-power-down applications using Ioff. The Iofffeature ensures that damaging current will not backflow through the device when it is powered down. The device has isolation during power off.
To ensure the high-impedance state during power up or power down,OEshould be tied to VCCthrough a pullup resistor; the minimum value of the resistor is determined by the current-sinking capability of the driver.
The SN74CBT3253C is a high-speed TTL-compatible FET multiplexer/demultiplexer with low ON-state resistance (ron), allowing for minimal propagation delay. Active Undershoot-Protection Circuitry on the A and B ports of the SN74CBT3253C provides protection for undershoot up to -2 V by sensing an undershoot event and ensuring that the switch remains in the proper OFF state.
The SN74CBT3253C is organized as two 1-of-4 multiplexer/demultiplexers with separate output-enable (1OE, 2OE) inputs. The select (S0, S1) inputs control the data path of each multiplexer/demultiplexer. WhenOEis low, the associated multiplexer/demultiplexer is enabled, and the A port is connected to the B port, allowing bidirectional data flow between ports. WhenOEis high, the associated multiplexer/demultiplexer is disabled, and a high-impedance state exists between the A and B ports.
This device is fully specified for partial-power-down applications using Ioff. The Iofffeature ensures that damaging current will not backflow through the device when it is powered down. The device has isolation during power off.
To ensure the high-impedance state during power up or power down,OEshould be tied to VCCthrough a pullup resistor; the minimum value of the resistor is determined by the current-sinking capability of the driver. |
SN74CBT3257C5-V, 2:1 (SPDT), 4-channel FET bus switch with –2-V undershoot protection | Signal Switches, Multiplexers, Decoders | 15 | Active | The SN74CBT3257C is a high-speed TTL-compatible FET multiplexer/demultiplexer with low ON-state resistance (ron), allowing for minimal propagation delay. Active Undershoot-Protection Circuitry on the A and B ports of the SN74CBT3257C provides protection for undershoot up to –2 V by sensing an undershoot event and ensuring that the switch remains in the proper OFF state.
The SN74CBT3257C is a 4-bit 1-of-2 multiplexer/demultiplexer with a single output-enable (OE\) input. The select (S) input controls the data path of the multiplexer/demultiplexer. When OE\ is low, the multiplexer/demultiplexer is enabled and the A port is connected to the B port, allowing bidirectional data flow between ports. When OE\ is high, the multiplexer/demultiplexer is disabled and a high-impedance state exists between the A and B ports.
This device is fully specified for partial-power-down applications using Ioff. The Iofffeature ensures that damaging current will not backflow through the device when it is powered down. The device has isolation during power off.
To ensure the high-impedance state during power up or power down, OE\ should be tied to VCCthrough a pullup resistor; the minimum value of the resistor is determined by the current-sinking capability of the driver.
The SN74CBT3257C is a high-speed TTL-compatible FET multiplexer/demultiplexer with low ON-state resistance (ron), allowing for minimal propagation delay. Active Undershoot-Protection Circuitry on the A and B ports of the SN74CBT3257C provides protection for undershoot up to –2 V by sensing an undershoot event and ensuring that the switch remains in the proper OFF state.
The SN74CBT3257C is a 4-bit 1-of-2 multiplexer/demultiplexer with a single output-enable (OE\) input. The select (S) input controls the data path of the multiplexer/demultiplexer. When OE\ is low, the multiplexer/demultiplexer is enabled and the A port is connected to the B port, allowing bidirectional data flow between ports. When OE\ is high, the multiplexer/demultiplexer is disabled and a high-impedance state exists between the A and B ports.
This device is fully specified for partial-power-down applications using Ioff. The Iofffeature ensures that damaging current will not backflow through the device when it is powered down. The device has isolation during power off.
To ensure the high-impedance state during power up or power down, OE\ should be tied to VCCthrough a pullup resistor; the minimum value of the resistor is determined by the current-sinking capability of the driver. |
SN74CBT3305C5-V, 1:1 (SPST), 2-channel FET bus switch with –2-V undershoot protection (active high) | Logic | 4 | Active | 5-V, 1:1 (SPST), 2-channel FET bus switch with –2-V undershoot protection (active high) |
SN74CBT3306C5-V, 1:1 (SPST), 2-channel FET bus switch with –2-V undershoot protection (active low) | Integrated Circuits (ICs) | 10 | Active | The SN74CBT3306C is a high-speed TTL-compatible FET bus switch with low ON-state resistance (ron), allowing for minimal propagation delay. Active Undershoot-Protection Circuitry on the A and B ports of the SN74CBT3306C provides protection for undershoot up to –2 V by sensing an undershoot event and ensuring that the switch remains in the proper OFF state.
The SN74CBT3306C is organized as two 1-bit bus switches with separate output-enable (1OE\, 2OE\) inputs. It can be used as two 1-bit bus switches or as one 2-bit bus switch. When OE\ is low, the associated 1-bit bus switch is ON, and the A port is connected to the B port, allowing bidirectional data flow between ports. When OE\ is high, the associated 1-bit bus switch is OFF, and the high-impedance state exists between the A and B ports.
This device is fully specified for partial-power-down applications using Ioff. The Iofffeature ensures that damaging current will not backflow through the device when it is powered down.
To ensure the high-impedance state during power up or power down, OE\ should be tied to VCCthrough a pullup resistor; the minimum value of the resistor is determined by the current-sinking capability of the driver.
The SN74CBT3306C is a high-speed TTL-compatible FET bus switch with low ON-state resistance (ron), allowing for minimal propagation delay. Active Undershoot-Protection Circuitry on the A and B ports of the SN74CBT3306C provides protection for undershoot up to –2 V by sensing an undershoot event and ensuring that the switch remains in the proper OFF state.
The SN74CBT3306C is organized as two 1-bit bus switches with separate output-enable (1OE\, 2OE\) inputs. It can be used as two 1-bit bus switches or as one 2-bit bus switch. When OE\ is low, the associated 1-bit bus switch is ON, and the A port is connected to the B port, allowing bidirectional data flow between ports. When OE\ is high, the associated 1-bit bus switch is OFF, and the high-impedance state exists between the A and B ports.
This device is fully specified for partial-power-down applications using Ioff. The Iofffeature ensures that damaging current will not backflow through the device when it is powered down.
To ensure the high-impedance state during power up or power down, OE\ should be tied to VCCthrough a pullup resistor; the minimum value of the resistor is determined by the current-sinking capability of the driver. |
SN74CBT3345C5-V, 1:1 (SPST), 8-channel bus switch with –2-V undershoot protection | Signal Switches, Multiplexers, Decoders | 13 | Active | The SN74CBT3345C is a high-speed TTL-compatible FET bus switch with low ON-state resistance (ron), allowing for minimal propagation delay. Active Undershoot-Protection Circuitry on the A and B ports of the SN74CBT3345C provides protection for undershoot up to –2 V by sensing an undershoot event and ensuring that the switch remains in the proper OFF state.
The SN74CBT3345C is organized as an 8-bit bus switch with two output-enable (OE, OE\) inputs. When OE is high or OE\ is low, the bus switch is ON, and the A port is connected to the B port, allowing bidirectional data flow between ports. When OE is low and OE\ is high, the bus switch is OFF and the high-impedance state exists between the A and B ports.
This device is fully specified for partial-power-down applications using Ioff. The Iofffeature ensures that damaging current will not backflow through the device when it is powered down.
To ensure the high-impedance state during power up or power down, OE\ should be tied to VCCthrough a pullup resistor and OE should be tied to GND through a pulldown resistor; the minimum value of the resistor is determined by the current-sinking/current-sourcing capability of the driver.
The SN74CBT3345C is a high-speed TTL-compatible FET bus switch with low ON-state resistance (ron), allowing for minimal propagation delay. Active Undershoot-Protection Circuitry on the A and B ports of the SN74CBT3345C provides protection for undershoot up to –2 V by sensing an undershoot event and ensuring that the switch remains in the proper OFF state.
The SN74CBT3345C is organized as an 8-bit bus switch with two output-enable (OE, OE\) inputs. When OE is high or OE\ is low, the bus switch is ON, and the A port is connected to the B port, allowing bidirectional data flow between ports. When OE is low and OE\ is high, the bus switch is OFF and the high-impedance state exists between the A and B ports.
This device is fully specified for partial-power-down applications using Ioff. The Iofffeature ensures that damaging current will not backflow through the device when it is powered down.
To ensure the high-impedance state during power up or power down, OE\ should be tied to VCCthrough a pullup resistor and OE should be tied to GND through a pulldown resistor; the minimum value of the resistor is determined by the current-sinking/current-sourcing capability of the driver. |
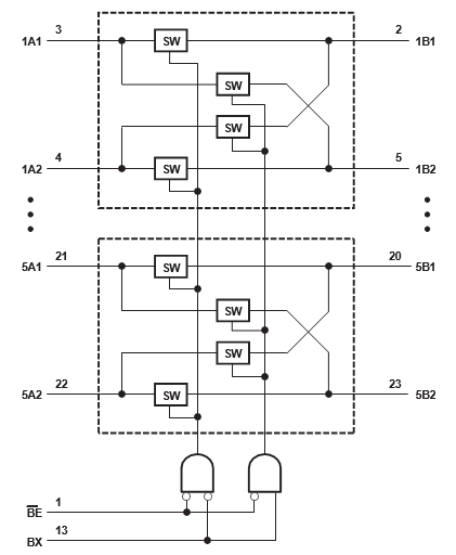
SN74CBT3383C5-V, crosspoint/exchange, 10-channel FET bus switch with –2-V undershoot protection | Integrated Circuits (ICs) | 15 | Active | The SN74CBT3383C is a high-speed TTL-compatible FET bus-exchange switch with low ON-state resistance (ron), allowing for minimal propagation delay. Active Undershoot-Protection Circuitry on the A and B ports of the SN74CBT3383C provides protection for undershoot up to −2 V by sensing an undershoot event and ensuring that the switch remains in the proper OFF state.
The SN74CBT3383C is organized as a 10-bit bus switch, or as a 5-bit bus-exchange switch with a single output-enable (BE) input that provides data exchanging between four signal ports. The select (BX) input controls the data path of the bus-exchange switch. WhenBEis low, the A port is connected to the B port, allowing bidirectional data flow between ports. WhenBEis high, a high-impedance state exists between the A and B ports.
This device is fully specified for partial-power-down applications using Ioff. The Iofffeature ensures that damaging current will not backflow through the device when it is powered down. The device has isolation during power off.
To ensure the high-impedance state during power up or power down,BEshould be tied to VCCthrough a pullup resistor; the minimum value of the resistor is determined by the current-sinking capability of the driver.
The SN74CBT3383C is a high-speed TTL-compatible FET bus-exchange switch with low ON-state resistance (ron), allowing for minimal propagation delay. Active Undershoot-Protection Circuitry on the A and B ports of the SN74CBT3383C provides protection for undershoot up to −2 V by sensing an undershoot event and ensuring that the switch remains in the proper OFF state.
The SN74CBT3383C is organized as a 10-bit bus switch, or as a 5-bit bus-exchange switch with a single output-enable (BE) input that provides data exchanging between four signal ports. The select (BX) input controls the data path of the bus-exchange switch. WhenBEis low, the A port is connected to the B port, allowing bidirectional data flow between ports. WhenBEis high, a high-impedance state exists between the A and B ports.
This device is fully specified for partial-power-down applications using Ioff. The Iofffeature ensures that damaging current will not backflow through the device when it is powered down. The device has isolation during power off.
To ensure the high-impedance state during power up or power down,BEshould be tied to VCCthrough a pullup resistor; the minimum value of the resistor is determined by the current-sinking capability of the driver. |
SN74CBT3384A3.3-V, 1:1 (SPST), 10-channel general-purpose FET bus switch with –2-V undershoot protection | Logic | 9 | Active | The SN74CBT3384C is a high-speed TTL-compatible FET bus switch with low ON-state resistance (ron), allowing for minimal propagation delay. Active Undershoot-Protection Circuitry on the A and B ports of the SN74CBT3384C provides protection for undershoot up to –2 V by sensing an undershoot event and ensuring that the switch remains in the proper OFF state.
The SN74CBT3384C is organized as two 5-bit bus switches with separate output-enable (1OE\, 2OE\) inputs. It can be used as two 5-bit bus switches or as one 10-bit bus switch. When OE\ is low, the associated 5-bit bus switch is ON, and the A port is connected to the B port, allowing bidirectional data flow between ports. When OE\ is high, the associated 5-bit bus switch is OFF, and the high-impedance state exists between the A and B ports.
This device is fully specified for partial-power-down applications using Ioff. The Iofffeature ensures that damaging current will not backflow through the device when it is powered down.
To ensure the high-impedance state during power up or power down, OE\ should be tied to VCCthrough a pullup resistor; the minimum value of the resistor is determined by the current-sinking capability of the driver.
The SN74CBT3384C is a high-speed TTL-compatible FET bus switch with low ON-state resistance (ron), allowing for minimal propagation delay. Active Undershoot-Protection Circuitry on the A and B ports of the SN74CBT3384C provides protection for undershoot up to –2 V by sensing an undershoot event and ensuring that the switch remains in the proper OFF state.
The SN74CBT3384C is organized as two 5-bit bus switches with separate output-enable (1OE\, 2OE\) inputs. It can be used as two 5-bit bus switches or as one 10-bit bus switch. When OE\ is low, the associated 5-bit bus switch is ON, and the A port is connected to the B port, allowing bidirectional data flow between ports. When OE\ is high, the associated 5-bit bus switch is OFF, and the high-impedance state exists between the A and B ports.
This device is fully specified for partial-power-down applications using Ioff. The Iofffeature ensures that damaging current will not backflow through the device when it is powered down.
To ensure the high-impedance state during power up or power down, OE\ should be tied to VCCthrough a pullup resistor; the minimum value of the resistor is determined by the current-sinking capability of the driver. |
SN74CBT34X2455-V, 32-channel FET bus switch for partial-power-down applications with up to 4 control inputs | Logic | 1 | Active | The SN74CBT34X245 provides 32 bits of high-speed TTL-compatible bus switching. The low on-state resistance of the switch allows connections to be made with minimal propagation delay.
The device is organized as four 8-bit bus switches, two 16-bit bus switches, or one 32-bit bus switch. When output enable (OE\) is low, the switch is on, and port A is connected to port B. When OE\ is high, the switch is open, and the high-impedance state exists between the two ports.
This device is fully specified for partial-power-down applications using Ioff. The Ioffcircuitry disables the outputs, preventing damaging current backflow through the device when it is powered down.
The SN74CBT34X245 provides 32 bits of high-speed TTL-compatible bus switching. The low on-state resistance of the switch allows connections to be made with minimal propagation delay.
The device is organized as four 8-bit bus switches, two 16-bit bus switches, or one 32-bit bus switch. When output enable (OE\) is low, the switch is on, and port A is connected to port B. When OE\ is high, the switch is open, and the high-impedance state exists between the two ports.
This device is fully specified for partial-power-down applications using Ioff. The Ioffcircuitry disables the outputs, preventing damaging current backflow through the device when it is powered down. |
SN74CBT38615-V, 1:1 (SPST), 10-channel general-purpose analog switch | Logic | 3 | Active | The SN74CBT3861 provides ten bits of high-speed TTL-compatible bus switching. The low on-state resistance of the switch allows connections to be made with minimal propagation delay.
The device is organized as one 10-bit switch with a single output-enable (OE\) input. When OE\ is low, the switch is on, and port A is connected to port B. When OE\ is high, the switch is open, and the high-impedance state exists between the two ports.
The SN74CBT3861 provides ten bits of high-speed TTL-compatible bus switching. The low on-state resistance of the switch allows connections to be made with minimal propagation delay.
The device is organized as one 10-bit switch with a single output-enable (OE\) input. When OE\ is low, the switch is on, and port A is connected to port B. When OE\ is high, the switch is open, and the high-impedance state exists between the two ports. |