| Special Purpose Regulators | 1 | Active | |
| Special Purpose Regulators | 1 | Obsolete | |
| Power Management (PMIC) | 1 | Obsolete | |
L5956Multifunction Voltage Regulator | Power Management (PMIC) | 1 | Active | The L5956 contains a triple voltage regulator and a power switch.
The IC includes a monitoring circuit for detection.
The IC features a very low quiescent under standby. |
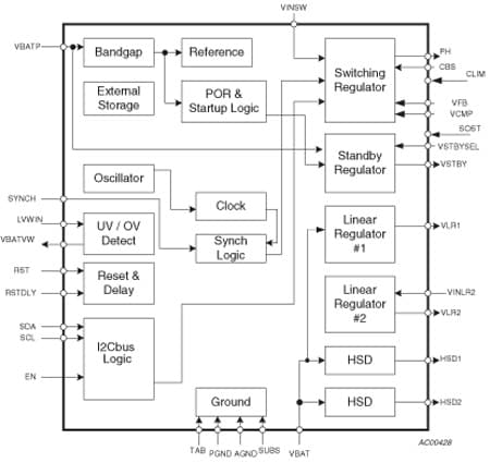
L5957Multifunction Voltage Regulator | Special Purpose Regulators | 1 | Active | The L5957 contains a triple voltage regulator and a power switch.
The IC includes a monitoring circuit for detection.
The IC features a very low quiescent current in standby. |
L5958Multifunction Voltage Regulators | Power Management (PMIC) | 1 | Active | The L5958 includes 6 linear voltage regulators and a 2 A power switch, working down to 4.5 V battery level. All the voltage regulators can be switched off through the three enable pins.
The two 3.3 V (REG5) and 1.8 V (REG6) stand-by regulators can reach a quasi-zero current consumption when switched off.
The device is equipped with two different reset buffers to control the operating voltages: the reset which checks the two stand-by outputs, 3.3V and 1.8 V, and the VDD core reset which checks the linear switched outputs, 3.3 V and 1.8 V. It is also equipped with two different battery voltage warnings, provided by the Hold CAN and the Hold audio detectors, with the possibility to program the lower threshold through an external resistance.
The ignition buffer completes the device.
A backup function is available through two pins which needs to be connected to two independent capacitors: one for the 3.3 V and 1.8 V linear switched outputs and one for the 3.3 V and 1.8 V standby outputs. |
L5959Voltage regulator with very low stand-by current, reset, hold, backup, under/over voltage detection, overcurrent limitation | Special Purpose Regulators | 1 | Obsolete | The L5959 contains a four voltage regulator and two protected HSDs. HSDs are protected against loss of ground and loss of battery.
The IC includes a monitoring circuit for detection.
The IC features a very low quiescent current in stand-by and independent thermal shutdown. |
L5962Multiple linear/switching voltage regulator | Power Management (PMIC) | 1 | Active | L5962 is a very versatile device exploiting BCD technology characteristics to provide a complete set of regulated voltages covering all the needs of a car-radio set.
In standby condition the device guarantees extremely low quiescent current (90 μA max -40 ˚C < T < 85 ˚C) and minimum operating voltage (4.5 V using an external Schottky diode for the back-up function). |
L5965Multiple power management for automotive vision and radar systems | Power Management - Specialized | 2 | Active | L5965 is a multiple voltage regulator composed by two battery compatible BUCK pre-regulators (one of which is a controller), two BUCK post regulators with internal compensation, one BOOST, one LDO and a precise voltage reference regulator. All the regulators, except the BUCK1 pre-regulator, have internal power switches.
OTP (One Time Programmable) cells are used for the main device parameters programming (output voltages and currents, switching frequencies) and to configure the power up sequence.
An SPI interface can be used to enable or disable the single voltage regulators, for diagnostic information and to program internal blocks parameters (monitor and Power Good thresholds, slew rate, etc.).
The device offers a set of features to support applications that need to fulfill functional safety requirements as defined by Automotive Safety Integrity Level (ASIL) A-B-C-D. |
L5970ADUp to 1 A step down switching regulator | Voltage Regulators - DC DC Switching Regulators | 2 | Active | The L5970AD is a step down monolithic power switching regulator with a switch current limit of 1.5A so it is able to deliver more than 1A DC current to the load depending on the application conditions.
The output voltage can be set from 1.235V to 35V.
The device uses an internal P-Channel D-MOS transistor (with a typical RDSONof 200mΩ) as switching element to avoid the use of bootstrap capacitor and guarantee high efficiency.
An internal oscillator fixes the switching frequency at 500KHz to minimize the size of external components. Having a minimum input voltage of 4.4V only, it is particularly suitable for 5V bus, available in all computer related applications.
Pulse by pulse current limit with the internal frequency modulation offers an effective constant current short circuit protection. |