A
Analog Devices
| Series | Category | # Parts | Status | Description |
|---|---|---|---|---|
| Part | Spec A | Spec B | Spec C | Spec D | Description |
|---|---|---|---|---|---|
| Series | Category | # Parts | Status | Description |
|---|---|---|---|---|
| Part | Spec A | Spec B | Spec C | Spec D | Description |
|---|---|---|---|---|---|
| Series | Category | # Parts | Status | Description |
|---|---|---|---|---|
AD926116-Bit, 10 MHz Bandwidth, 30 MSPS to 160 MSPS Continuous Time Sigma-Delta ADC | Evaluation Boards | 2 | Active | The AD9261 is a 16-bit analog-to-digital converter (ADC) based on a continuous time sigma-delta (Σ-Δ) architecture that achieves 86 dB of dynamic range over a 10 MHz input bandwidth. The integrated features and characteristics unique to the continuous time Σ-Δ architecture significantly simplify its use and minimize the need for external components.The AD9261 has a resistive input impedance that significantly relaxes the requirements of the driver amplifier. In addition, a 32× oversampled 5th-order continuous time loop filter significantly attenuates out of band signals and aliases, reducing the need for external filters at the input.An external clock input or the integrated integer-N PLL provides the 640 MHz internal clock needed for the oversampled continuous time Σ-Δ modulator. On-chip decimation filters and sample rate converters reduce the modulator data rate from 640 MSPS to a user-defined output data rate between 30 MSPS to 160 MSPS, enabling a more efficient and direct interface.The digital output data is presented in offset binary, Gray code, or twos complement format. A data clock output (DCO) is provided to ensure proper timing with the receiving logic.The AD9261 operates on a 1.8 V analog supply and a 1.8 V to 3.3 V digital supply, consuming 375 mW. The AD9261 is available in a 48-lead LFCSP and is specified over the industrial temperature range (−40°C to +85°C).Product HighlightsContinuous time Σ-Δ architecture efficiently achieves high dynamic range and wide bandwidth.Passive input structure reduces or eliminates the requirements for a driver amplifier.An oversampling ratio of 32× and high order loop filter provide excellent alias rejection reducing or eliminating the need for antialiasing filters.An integrated decimation filter, sample rate converter, PLL clock multiplier, and voltage reference provide ease of use.Operates from a single 1.8 V analog power supply and 1.8 V to 3.3 V output supply.A standard serial port interface (SPI) supports various product features and functions.ApplicationsData AcquisitionAutomated Test EquipmentInstrumentationMedical Imaging |
AD926216-Bit, 2.5 MHz/5 MHz/10 MHz, 30 MSPS to 160 MSPS Dual Continuous Time Sigma-Delta ADC | Data Acquisition | 2 | Active | The AD9262 is a dual, 16-bit analog-to-digital converter (ADC) based on a continuous time sigma-delta (Σ-Δ) architecture that achieves -87 dB of dynamic range over a 10 MHz input bandwidth.The integrated features and characteristics unique to the continuous time Σ-Δ architecture significantly simplify its use and minimize the need for external components.The AD9262 has a resistive input impedance that significantly relaxes the requirements of the driver amplifier. In addition, a 32× oversampled fifth-order continuous time loop filter significantly attenuates out of band signals and aliases, reducing the need for external filters at the input.An external clock input or the integrated integer-N PLL provides the 640 MHz internal clock needed for the oversampled continuous time Σ-Δ modulator. On-chip decimation filters and sample rate converters reduce the modulator data rate from 640 MSPS to a user-defined output data rate between 30 MSPS to 160 MSPS, enabling a more efficient and direct interface.The AD9262 incorporates an integrated dc correction and quadrature estimation block that corrects for gain and phase mismatch between the two channels. This functional block proves invaluable in complex signal processing applications such as direct conversion receivers.The digital output data is presented in offset binary, Gray code, or twos complement format. A data clock output (DCO) is provided to ensure proper timing with the receiving logic. The AD9262 has the added feature of interleaving Channel A and Channel B data onto one 16-bit bus, simplifying on-board routing.The ADC is available in three different bandwidth options of 2.5 MHz, 5 MHz, and 10 MHz, and operates on a 1.8 V analog supply and a 1.8 V to 3.3 V digital supply, consuming 600 mW. The AD9262 is available in a 64-lead LFCSP and is specified over the industrial temperature range (−40°C to +85°C).PRODUCT HIGHLIGHTSContinuous time Σ-Δ architecture efficiently achieves high dynamic range and wide bandwidth.Passive input structure reduces or eliminates the requirements for a driver amplifier.An oversampling ratio of 32× and high order loop filter provide excellent alias rejection reducing or eliminating the need for antialiasing filters.An integrated decimation filter, sample rate converter, PLL clock multiplier, and voltage reference provide ease of use.Integrated dc correction and quadrature error correction.Operates from a single 1.8 V analog power supply and 1.8 V to 3.3 V output supply.APPLICATIONSBaseband quadrature receivers: CDMA2000, WCDMA, multicarrier GSM/EDGE, 802.16x, and LTEQuadrature sampling instrumentationMedical equipmentRadio detection and ranging (RADAR) |
| Analog to Digital Converters (ADC) | 4 | Active | ||
AD926616-Bit, 20/40/65/80 MSPS, 1.8 V Analog-to-Digital Converter | Data Acquisition | 6 | Active | The AD9266 is a monolithic, single-channel 1.8 V supply, 16-bit, 20 MSPS/40 MSPS/65 MSPS/80 MSPS analog-to-digital converter (ADC). It features a high performance sample-and-hold circuit and on-chip voltage reference.The product uses multistage differential pipeline architecture with output error correction logic to provide 16-bit accuracy at 80 MSPS data rates and to guarantee no missing codes over the full operating temperature range.The ADC contains several features designed to maximize flexibility and minimize system cost, such as programmable clock and data alignment and programmable digital test pattern generation. The available digital test patterns include built-in deterministic and pseudorandom patterns, along with custom user-defined test patterns entered via the serial port interface (SPI).A differential clock input with a selectable internal 1-to-8 divide ratio controls all internal conversion cycles. An optional duty cycle stabilizer (DCS) compensates for wide variations in the clock duty cycle while maintaining excellent overall ADC performance.The interleaved digital output data is presented in offset binary, gray code, or twos complement format. A DCO is provided to ensure proper latch timing with receiving logic. Both 1.8 V and 3.3 V CMOS levels are supported.The AD9266 is available in a 32-lead RoHS-compliant LFCSP and is specified over the industrial temperature range (−40°C to +85°C).Product HighlightsThe AD9266 operates from a single 1.8 V analog power supply and features a separate digital output driver supply to accommodate 1.8 V to 3.3 V logic families.The sample-and-hold circuit maintains excellent performance for input frequencies up to 200 MHz and is designed for low cost, low power, and ease of use.A standard serial port interface supports various product features and functions, such as data output formatting, internal clock divider, power-down, DCO and data output (D15_D14 to D1_D0) timing and offset adjustments, and voltage reference modes.The AD9266 is packaged in a 32-lead RoHS-compliant LFCSP that is pin compatible with the AD9609 10-bit ADC, the AD9629 12-bit ADC, and the AD9649 14-bit ADC, enabling a simple migration path between 10-bit and 16-bit converters sampling from 20 MSPS to 80 MSPS.ApplicationsCommunicationsDiversity radio systemsMultimode digital receiversGSM, EDGE, W-CDMA, LTE, CDMA2000, WiMAX, TD-SCDMASmart antenna systemsBattery-powered instrumentsHandheld scope metersPortable medical imagingUltrasoundRadar/LIDARPET/SPECT imaging |
AD926710 MHz Bandwidth, 640 MSPS Dual Continuous Time Sigma-Delta Modulator | Specialized ICs | 2 | Active | The AD9267 is a dual continuous time (CT) sigma-delta (Σ-Δ) modulator with -88 dBc of dynamic range over 10 MHz real or 20 MHz complex bandwidth. The combination of high dynamic range, wide bandwidth, and characteristics unique to the continuous time Σ-Δ modulator architecture makes the AD9267 an ideal solution for wireless communication systems.The AD9267 has a resistive input impedance that significantly relaxes the requirements of the driver amplifier. In addition, a 32× oversampled fifth-order continuous time loop filter attenuates out-of-band signals and aliases, reducing the need for external filters at the input. The low noise figure of 15 dB relaxes the linearity requirements of the front-end signal chain components, and the high dynamic range reduces the need for an automatic gain control (AGC) loop.A differential input clock controls all internal conversion cycles. An external clock input or the integrated integer-N PLL provides the 640 MHz internal clock needed for the oversampled conti- nuous time Σ-Δ modulator. The digital output data is presented as 4-bit, LVDS at 640 MSPS in twos complement format. A data clock output (DCO) is provided to ensure proper latch timing with receiving logic. Additional digital signal processing may be required on the 4-bit modulator output to remove the out-of-band noise and to reduce the sample rate.The AD9267 operates on a 1.8 V power supply, consuming 416 mW. The AD9267 is available in a 64-lead LFCSP and is specified over the industrial temperature range (−40°C to +85°C).Product HighlightsContinuous time Σ-Δ architecture efficiently achieves high dynamic range and wide bandwidth.Passive input structure reduces or eliminates the require- ments for a driver amplifier.An oversampling ratio of 32× and high order loop filter provide excellent alias rejection, reducing or eliminating the need for antialiasing filters.Operates from a single 1.8 V power supply.A standard serial port interface (SPI) supports various product features and functions.Features a low pin count, high speed LVDS interface with data output clock.ApplicationsBaseband quadrature receivers: CDMA2000, W-CDMA, multicarrier GSM/EDGE, 802.16x, and LTEQuadrature sampling instrumentation |
AD926816-Bit, 125 MSPS/105 MSPS/80 MSPS, 1.8 V Dual Analog-to-Digital Converter | Integrated Circuits (ICs) | 4 | Active | The AD9268 is a dual, 16-bit, 80 MSPS/105 MSPS/125 MSPS analog-to-digital converter (ADC). The AD9268 is designed to support communications applications where high performance, combined with low cost, small size, and versatility, is desired.The dual ADC core features a multistage, differential pipelined architecture with integrated output error correction logic. Each ADC features wide bandwidth, differential sample-and-hold analog input amplifiers that support a variety of user-selectable input ranges. An integrated voltage reference eases design considerations. A duty cycle stabilizer is provided to compensate for variations in the ADC clock duty cycle, allowing the converters to maintain excellent performance.The ADC output data can be routed directly to the two external 16-bit output ports. These outputs can be set to either 1.8 V CMOS or LVDS.Flexible power-down options allow significant power savings, when desired.Programming for setup and control is accomplished using a 3-wire SPI-compatible serial interface.The AD9268 is available in a 64-lead LFCSP and is specified over the industrial temperature range of −40°C to +85°C.PRODUCT HIGHLIGHTSOn-chip dither option for improved SFDR performance with low power analog input.Proprietary differential input that maintains excellent SNR performance for input frequencies up to 300 MHz.Operation from a single 1.8 V supply and a separate digital output driver supply accommodating 1.8 V CMOS or LVDS outputs.Standard serial port interface (SPI) that supports various product features and functions, such as data formatting (offset binary, twos complement, or gray coding), enabling the clock DCS, power-down, test modes, and voltage reference mode.Pin compatibility with the AD9258, allowing a simple migration from 16 bits to 14 bits. The AD9268 is also pin compatible with the AD9251, AD9231, and AD9204 family of products for lower sample rate, low power applications.APPLICATIONSCommunicationsDiversity radio systemsMultimode digital receivers (3G)GSM, EDGE, W-CDMA, LTE,CDMA2000, WiMAX, TD-SCDMAI/Q demodulation systemsSmart antenna systemsGeneral-purpose software radiosBroadband data applicationsUltrasound equipment |
AD926916-Bit, 20 MSPS/40 MSPS/65 MSPS/80 MSPS, 1.8 V Dual Analog-to-Digital Converter | Analog to Digital Converters (ADCs) Evaluation Boards | 5 | Active | The AD9269 is a monolithic, dual-channel, 1.8 V supply, 16-bit, 20/40/65/80 MSPS analog-to-digital converter (ADC). It features a high performance sample-and-hold circuit and on-chip voltage reference.The product uses multistage differential pipeline architecture with output error correction logic to provide 16-bit accuracy at 80 MSPS data rates and to guarantee no missing codes over the full operating temperature range.The AD9269 incorporates an optional integrated dc correction and quadrature error correction block (QEC) that corrects for dc offset, gain, and phase mismatch between the two channels. This functional block can be very beneficial to complex signal processing applications such as direct conversion receivers.The ADC also contains several features designed to maximize flexibility and minimize system cost, such as programmable clock and data alignment and programmable digital test pattern generation. The available digital test patterns include built-in deterministic and pseudorandom patterns, along with custom user-defined test patterns entered via the serial port interface (SPI).A differential clock input controls all internal conversion cycles. An optional duty cycle stabilizer (DCS) compensates for wide variations in the clock duty cycle while maintaining excellent overall ADC performance.The digital output data is presented in offset binary, gray code, or twos complement format. A data output clock (DCO) is pro-vided for each ADC channel to ensure proper latch timing with receiving logic. Both 1.8 V and 3.3 V CMOS levels are supported, and output data can be multiplexed onto a single output bus.The AD9269 is available in a 64-lead RoHS-compliant LFCSP and is specified over the industrial temperature range (−40°C to +85°C).APPLICATIONSCommunicationsDiversity radio systemsMultimode digital receiversGSM, EDGE, W-CDMA, LTE, CDMA2000, WiMAX, TD-SCDMAI/Q demodulation systemsSmart antenna systemsBattery-powered instrumentsHand held scope metersPortable medical imagingUltrasoundRadar/LIDAR |
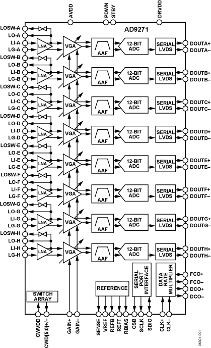
AD9271Octal LNA/VGA/AAF/ADC and Crosspoint Switch | Integrated Circuits (ICs) | 2 | Obsolete | The AD9271 is designed for low cost, low power, small size, and ease of use. It contains eight channels of a variable gain amplifier (VGA) with low noise preamplifier (LNA); an antialiasing filter (AAF); and a 12-bit, 10 MSPS to 50 MSPS analog-to-digital converter (ADC).Each channel features a variable gain range of 30 dB, a fully differential signal path, an active input preamplifier termination, a maximum gain of up to 40 dB, and an ADC with a conversion rate of up to 50 MSPS. The channel is optimized for dynamic performance and low power in applications where a small package size is critical.The LNA has a single-ended-to-differential gain that is selectable through the SPI. The LNA input noise is typically 1.2 nV/√Hz, and the combined input-referred noise of the entire channel is 1.4 nV/√Hzat maximum gain. Assuming a 15 MHz noise bandwidth (NBW) and a 15.6 dB LNA gain, the input SNR is roughly 86 dB. In CW Doppler mode, the LNA output drives a transconductance amp that is switched through an 8 × 6 differential crosspoint switch. The switch is programmable through the SPI.APPLICATIONSMedical imaging/ultrasoundAutomotive radar |
AD9272Octal LNA/VGA/AAF/ADC and Crosspoint Switch | ADCs/DACs - Special Purpose | 4 | Active | The AD9272 is designed for low cost, low power, small size, and ease of use. It contains eight channels of a low noise preamplifier (LNA) with a variable gain amplifier (VGA), an antialiasing filter (AAF), and a 12-bit, 10 MSPS to 80 MSPS analog-to-digital converter (ADC).Each channel features a variable gain range of 42 dB, a fully differential signal path, an active input preamplifier termination, a maximum gain of up to 52 dB, and an ADC with a conversion rate of up to 80 MSPS. The channel is optimized for dynamic performance and low power in applications where a small package size is critical.The LNA has a single-ended-to-differential gain that is selectable through the SPI. The LNA input-referred noise voltage is typically 0.75 nV/√Hzat a gain of 21.3 dB, and the combined input-referred noise voltage of the entire channel is 0.85 nV/√Hzat maximum gain. Assuming a 15 MHz noise bandwidth (NBW) and a 21.3 dB LNA gain, the input SNR is about 92 dB. In CW Doppler mode, the LNA output drives a transconductance amp that is switched through an 8 × 8 differential crosspoint switch. The switch is programmable through the SPI.APPLICATIONSMedical imaging/ultrasoundAutomotive radar |
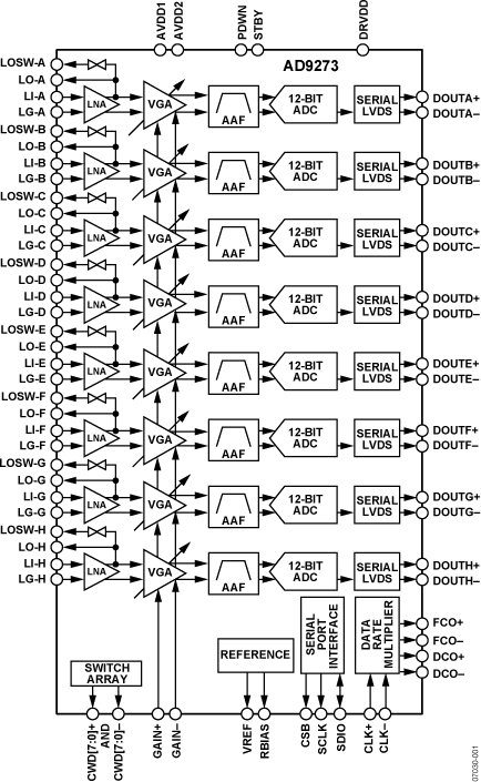
AD9273Octal LNA/VGA/AAF/ADC and Crosspoint Switch | Data Acquisition | 4 | Active | The AD9273 is designed for low cost, low power, small size, and ease of use. It contains eight channels of a low noise preamplifier (LNA) with a variable gain amplifier (VGA); an antialiasing filter (AAF); and a 12-bit, 10 MSPS to 50 MSPS analog-to-digital converter (ADC).Each channel features a variable gain range of 42 dB, a fully differential signal path, an active input preamplifier termination, a maximum gain of up to 52 dB, and an ADC with a conversion rate of up to 50 MSPS. The channel is optimized for dynamic performance and low power in applications where a small package size is critical.The LNA has a single-ended-to-differential gain that is selectable through the SPI. The LNA input-referred noise voltage is typically 1.26 nV/√Hzat a gain of 21.3 dB, and the combined input-referred noise voltage of the entire channel is 1.42 nV/√Hzat typical gain. Assuming a 15 MHz noise bandwidth (NBW) and a 21.3 dB LNA gain, the input SNR is about 91 dB. In CW Doppler mode, the LNA output drives a transconductance amp that is switched through an 8 × 8 differential crosspoint switch. The switch is programmable through the SPI.APPLICATIONSMedical imaging/ultrasoundAutomotive radar |
| Part | Category | Description |
|---|---|---|
Analog Devices ADM6713RAKSZ-REELObsolete | Integrated Circuits (ICs) | IC SUPERVISOR 1 CHANNEL SC70-4 |
Analog Devices | RF and Wireless | RF AMP SINGLE GENERAL PURPOSE RF AMPLIFIER 20GHZ 3.6V 22-PIN DIE TRAY |
Analog Devices | Integrated Circuits (ICs) | LOW NOISE, SWITCHED CAPACITOR REGULATED VOLTAGE INVERTERS |
Analog Devices | Integrated Circuits (ICs) | QUAD 16-BIT/12-BIT ±10V VOUTSOFTSPAN DACS WITH 10PPM/°C MAX REFERENCE |
Analog Devices | Integrated Circuits (ICs) | SERIAL 14-BIT, 3.5MSPS SAMPLING ADC WITH BIPOLAR INPUTS |
Analog Devices | Integrated Circuits (ICs) | ISOSPI ISOLATED COMMUNICATIONS INTERFACE |
Analog Devices | Integrated Circuits (ICs) | 4.5A, 500KHZ STEP-DOWN SWITCHING REGULATOR |
Analog Devices | Integrated Circuits (ICs) | 300 MA, LOW QUIESCENT CURRENT, ADJUSTABLE OUTPUT, CMOS LINEAR REGULATOR |
Analog Devices AD767KNObsolete | Integrated Circuits (ICs) | IC DAC 12BIT V-OUT 24DIP |
Analog Devices | Integrated Circuits (ICs) | QUAD 12-/10-/8-BIT RAIL-TO-RAIL DACS WITH 10PPM/°C REFERENCE |