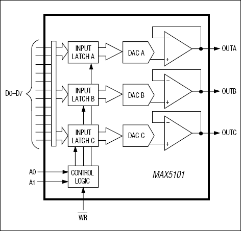
MAX5101+2.7V to +5.5V, Low-Power, Triple, Parallel 8-Bit DAC with Rail-to-Rail Voltage Outputs | Integrated Circuits (ICs) | 6 | Active | The MAX5101 parallel-input, voltage-output, triple 8-bit digital-to-analog converter (DAC) operates from a single +2.7V to +5.5V supply and comes in a space-saving 16-pin TSSOP package. Internal precision buffers swing Rail-to-Rail. For all three DACs, the internal reference voltage is tied to VDD.The MAX5101 has separate input latches for each of its three DACs. Data is transferred to the input latches from a common 8-bit input port. The DACs are individually selected through address inputs A0 and A1 and are updated by bringing active-low WR low. The MAX5101 features a 1µA software shutdown mode, as well as a power-on reset mode that resets all registers to code 00 hex on power-up.ApplicationsDigital Gain and Offset ControlPortable InstrumentationPower-Amp Bias ControlProgrammable Attenuators |
| Integrated Circuits (ICs) | 6 | Active | |
MAX5104Low-Power, Dual, Voltage-Output, 12-Bit DAC with Serial Interface | Integrated Circuits (ICs) | 6 | Active | The MAX5104 low-power, serial, voltage-output, dual 12-bit digital-to-analog converter (DAC) consumes only 500µA from a single +5V supply. This device features Rail-to-Rail output swing and is available in a space-saving 16-pin QSOP package. To maximize the dynamic range, the DAC output amplifiers are configured with an internal gain of +2V/V.The 3-wire serial interface is SPI™/QSPI™/MICROWIRE™ compatible. Each DAC has a double-buffered input organized as an input register followed by a DAC register, which allows the input and DAC registers to be updated independently or simultaneously with a 16-bit serial word. Additional features include programmable power- down (2µA), hardware power-down lockout (PDL), a separate reference voltage input for each DAC that accepts AC and DC signals, and an active-low clear input (CL) that resets all registers and DACs to zero. These devices provide a programmable logic pin for added functionality, and a serial-data output pin for daisy chaining.ApplicationsAutomated Test Equipment (ATE)Digital Gain and Offset ControlIndustrial Process ControlsMicroprocessor-Controlled SystemsMotion ControlRemote Industrial Controls |
| Data Acquisition | 5 | Active | |
| Integrated Circuits (ICs) | 3 | Active | |
| Integrated Circuits (ICs) | 1 | Obsolete | |
| Integrated Circuits (ICs) | 7 | Active | |
| Evaluation Boards | 4 | Obsolete | |
| Data Acquisition | 2 | Active | |
MAX51139-Channel, 14-Bit Current DAC with SPI Interface | Integrated Circuits (ICs) | 5 | Active | The MAX5113 is a 14-bit, 9-channel, current output digital-to-analog converter (DAC). The device operates from a low +3.0V power supply and provides 14-bit performance without any adjustment.The device's output ranges are optimized to bias a high-power tunable laser source. Each of the 9 channels provides a current source. Connect DAC outputs in parallel to obtain additional current or to achieve higher resolution. The MAX5113 contains an internal reference.An SPI interface drives the device with clock rates up to 25MHz. An active-high asynchronous CLR input resets DAC codes to zero independent of the serial interface. The device provides a separate power-supply input for driving the interface logic.The MAX5113 is specified over a temperature range of -40°C to +105°C and are available in 3mm x 3mm 36-WLP and 5mm x 5mm 32-TQFN packages.ApplicationsTunable Laser Diode Biasing |