PCM56Series Input 16-Bit Monolithic Digital-to-Analog Converter | Data Acquisition | 7 | Active | Series Input 16-Bit Monolithic Digital-to-Analog Converter |
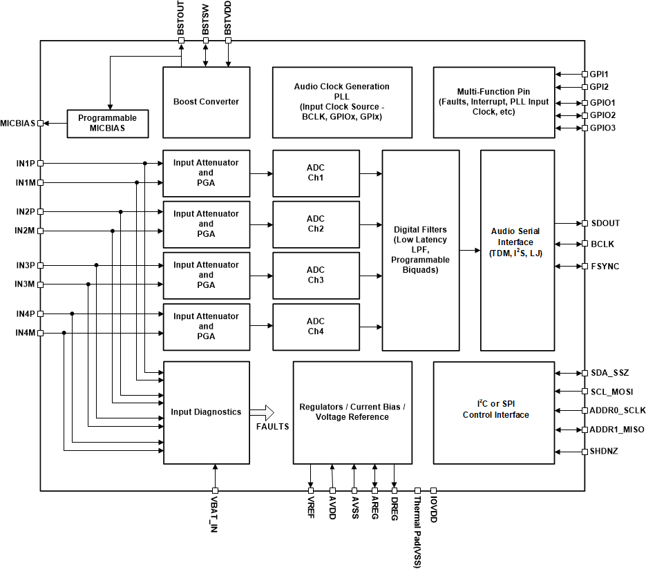
PCM6020-Q1Automotive 2-channel audio ADC with integrated microphone bias, boost and input diagnostics | Data Acquisition | 1 | Active | The PCM6020-Q1 is a 2-channel high-performance, audio analog-to-digital converter (ADC) that supports analog input signals up to 10 VRMS. The PCM6020-Q1 supports line and microphone inputs, and allows for both single-ended and differential input configurations. This device offers an integrated high-voltage, programmable microphone bias, and input diagnostic circuitry that allows direct connection to microphone-based automotive systems with full fault diagnostic capability for direct-coupled inputs. The PCM6020-Q1 integrates an efficient boost converter to generate a high voltage microphone bias using an external, low-voltage, 3.3-V supply, which is a readily available supply in the system to generate the high-voltage, programmable microphone bias. The PCM6020-Q1 integrates the programable channel gain, digital volume control, a low-jitter phase-locked loop (PLL), a programmable high-pass filter (HPF), biquad filters, low-latency filter modes, and allows for sample rates up to 768 kHz. The PCM6020-Q1 supports time-division multiplexing (TDM), I2S, or left-justified (LJ) audio formats, and can be controlled with either the I2C or SPI interface. These integrated high-performance features, along with a single, 3.3-V supply operation, make the PCM6020-Q1 device along with PCM6xx0-Q1 device family an excellent choice for scalable, space-constrained automotive systems. The PCM6020-Q1 is part of a largerPCM6xx0-Q1 device family, available for download atti.com.
The PCM6020-Q1 is a 2-channel high-performance, audio analog-to-digital converter (ADC) that supports analog input signals up to 10 VRMS. The PCM6020-Q1 supports line and microphone inputs, and allows for both single-ended and differential input configurations. This device offers an integrated high-voltage, programmable microphone bias, and input diagnostic circuitry that allows direct connection to microphone-based automotive systems with full fault diagnostic capability for direct-coupled inputs. The PCM6020-Q1 integrates an efficient boost converter to generate a high voltage microphone bias using an external, low-voltage, 3.3-V supply, which is a readily available supply in the system to generate the high-voltage, programmable microphone bias. The PCM6020-Q1 integrates the programable channel gain, digital volume control, a low-jitter phase-locked loop (PLL), a programmable high-pass filter (HPF), biquad filters, low-latency filter modes, and allows for sample rates up to 768 kHz. The PCM6020-Q1 supports time-division multiplexing (TDM), I2S, or left-justified (LJ) audio formats, and can be controlled with either the I2C or SPI interface. These integrated high-performance features, along with a single, 3.3-V supply operation, make the PCM6020-Q1 device along with PCM6xx0-Q1 device family an excellent choice for scalable, space-constrained automotive systems. The PCM6020-Q1 is part of a largerPCM6xx0-Q1 device family, available for download atti.com. |
| Development Boards, Kits, Programmers | 1 | Active | |
PCM6140-Q1Automotive, quad-channel 768-kHz Burr-Brown™ audio analog-to-digital converter (ADC) with 122-dB SNR | Data Acquisition | 1 | Active | The PCM6140-Q1 is a Burr-Brown™ high-performance, audio analog-to-digital converter (ADC) that supports simultaneous sampling of up to four analog channelsor eight digital channels for the pulse density modulation (PDM) microphone input. The device supports line and microphone inputs, and allows for both single-ended and differential input configurations. The device integrates programable channel gain, digital volume control, a programmable microphone bias voltage, a phase-locked loop (PLL), a programmable high-pass filter (HPF), biquad filters, low-latency filter modes, and allows for sample rates up to 768kHz, and allows for sample rates up to 192kHz. The device supports time-division multiplexing (TDM), I2S, or left-justified (LJ) audio formats, and can be controlled with either the I2C or SPI. These integrated high-performance features, along with the ability to be powered from a single-supply of 3.3V or 1.8V, make the device an excellent choice for space-constrained audio systems in far-field microphone recording applications.
The PCM6140-Q1 is specified from –40°C to +125°C, and is offered in a 24-pin VQFN package.
The PCM6140-Q1 is a Burr-Brown™ high-performance, audio analog-to-digital converter (ADC) that supports simultaneous sampling of up to four analog channelsor eight digital channels for the pulse density modulation (PDM) microphone input. The device supports line and microphone inputs, and allows for both single-ended and differential input configurations. The device integrates programable channel gain, digital volume control, a programmable microphone bias voltage, a phase-locked loop (PLL), a programmable high-pass filter (HPF), biquad filters, low-latency filter modes, and allows for sample rates up to 768kHz, and allows for sample rates up to 192kHz. The device supports time-division multiplexing (TDM), I2S, or left-justified (LJ) audio formats, and can be controlled with either the I2C or SPI. These integrated high-performance features, along with the ability to be powered from a single-supply of 3.3V or 1.8V, make the device an excellent choice for space-constrained audio systems in far-field microphone recording applications.
The PCM6140-Q1 is specified from –40°C to +125°C, and is offered in a 24-pin VQFN package. |
PCM6260-Q1Automotive 6-ch audio ADC with integrated programmable mic bias, boost and input diagnostics | ADCs/DACs - Special Purpose | 1 | Active | The 4-channel PCM6x40-Q1 (PCM6240-Q1, PCM6340-Q1) and 6-channel PCM6x60-Q1 (PCM6260-Q1, PCM6360-Q1) are high-performance, audio analog-to-digital converters (ADCs) that support analog input signals up to 10 VRMS. The PCM6x40-Q1 and PCM6x60-Q1 (PCM6xx0-Q1) support line and microphone inputs, and allows for both single-ended and differential input configurations. These devices offer an integrated high-voltage, programmable microphone bias, and input diagnostic circuitry that allow direct connection to microphone-based automotive systems with full fault diagnostic capability for direct-coupled inputs. The PCM62x0-Q1 integrate an efficient boost converter to generate a high voltage microphone bias using an external, low-voltage, 3.3-V supply, whereas the PCM63x0-Q1 directly uses an external high-voltage supply (HVDD), which is a readily available supply in the system to generate the high-voltage, programmable microphone bias. The PCM6xx0-Q1 integrate the programable channel gain, digital volume control, a low-jitter phase-locked loop (PLL), a programmable high-pass filter (HPF), biquad filters, low-latency filter modes, and allows for sample rates up to 768 kHz. The PCM6xx0-Q1 support time-division multiplexing (TDM), I2S, or left-justified (LJ) audio formats, and can be controlled with either the I2C or SPI interface. These integrated high-performance features, along with a single, 3.3-V supply operation, make the PCM6xx0-Q1 family an excellent choice for space-constrained automotive systems.
The 4-channel PCM6x40-Q1 (PCM6240-Q1, PCM6340-Q1) and 6-channel PCM6x60-Q1 (PCM6260-Q1, PCM6360-Q1) are high-performance, audio analog-to-digital converters (ADCs) that support analog input signals up to 10 VRMS. The PCM6x40-Q1 and PCM6x60-Q1 (PCM6xx0-Q1) support line and microphone inputs, and allows for both single-ended and differential input configurations. These devices offer an integrated high-voltage, programmable microphone bias, and input diagnostic circuitry that allow direct connection to microphone-based automotive systems with full fault diagnostic capability for direct-coupled inputs. The PCM62x0-Q1 integrate an efficient boost converter to generate a high voltage microphone bias using an external, low-voltage, 3.3-V supply, whereas the PCM63x0-Q1 directly uses an external high-voltage supply (HVDD), which is a readily available supply in the system to generate the high-voltage, programmable microphone bias. The PCM6xx0-Q1 integrate the programable channel gain, digital volume control, a low-jitter phase-locked loop (PLL), a programmable high-pass filter (HPF), biquad filters, low-latency filter modes, and allows for sample rates up to 768 kHz. The PCM6xx0-Q1 support time-division multiplexing (TDM), I2S, or left-justified (LJ) audio formats, and can be controlled with either the I2C or SPI interface. These integrated high-performance features, along with a single, 3.3-V supply operation, make the PCM6xx0-Q1 family an excellent choice for space-constrained automotive systems. |
| ADCs/DACs - Special Purpose | 1 | Active | |
PCM6360-Q1Automotive 6-ch audio ADC with integrated microphone bias and input diagnostics | Data Acquisition | 1 | Active | The 4-channel PCM6x40-Q1 (PCM6240-Q1, PCM6340-Q1) and 6-channel PCM6x60-Q1 (PCM6260-Q1, PCM6360-Q1) are high-performance, audio analog-to-digital converters (ADCs) that support analog input signals up to 10 VRMS. The PCM6x40-Q1 and PCM6x60-Q1 (PCM6xx0-Q1) support line and microphone inputs, and allows for both single-ended and differential input configurations. These devices offer an integrated high-voltage, programmable microphone bias, and input diagnostic circuitry that allow direct connection to microphone-based automotive systems with full fault diagnostic capability for direct-coupled inputs. The PCM62x0-Q1 integrate an efficient boost converter to generate a high voltage microphone bias using an external, low-voltage, 3.3-V supply, whereas the PCM63x0-Q1 directly uses an external high-voltage supply (HVDD), which is a readily available supply in the system to generate the high-voltage, programmable microphone bias. The PCM6xx0-Q1 integrate the programable channel gain, digital volume control, a low-jitter phase-locked loop (PLL), a programmable high-pass filter (HPF), biquad filters, low-latency filter modes, and allows for sample rates up to 768 kHz. The PCM6xx0-Q1 support time-division multiplexing (TDM), I2S, or left-justified (LJ) audio formats, and can be controlled with either the I2C or SPI interface. These integrated high-performance features, along with a single, 3.3-V supply operation, make the PCM6xx0-Q1 family an excellent choice for space-constrained automotive systems.
The 4-channel PCM6x40-Q1 (PCM6240-Q1, PCM6340-Q1) and 6-channel PCM6x60-Q1 (PCM6260-Q1, PCM6360-Q1) are high-performance, audio analog-to-digital converters (ADCs) that support analog input signals up to 10 VRMS. The PCM6x40-Q1 and PCM6x60-Q1 (PCM6xx0-Q1) support line and microphone inputs, and allows for both single-ended and differential input configurations. These devices offer an integrated high-voltage, programmable microphone bias, and input diagnostic circuitry that allow direct connection to microphone-based automotive systems with full fault diagnostic capability for direct-coupled inputs. The PCM62x0-Q1 integrate an efficient boost converter to generate a high voltage microphone bias using an external, low-voltage, 3.3-V supply, whereas the PCM63x0-Q1 directly uses an external high-voltage supply (HVDD), which is a readily available supply in the system to generate the high-voltage, programmable microphone bias. The PCM6xx0-Q1 integrate the programable channel gain, digital volume control, a low-jitter phase-locked loop (PLL), a programmable high-pass filter (HPF), biquad filters, low-latency filter modes, and allows for sample rates up to 768 kHz. The PCM6xx0-Q1 support time-division multiplexing (TDM), I2S, or left-justified (LJ) audio formats, and can be controlled with either the I2C or SPI interface. These integrated high-performance features, along with a single, 3.3-V supply operation, make the PCM6xx0-Q1 family an excellent choice for space-constrained automotive systems. |
| Data Acquisition | 11 | Obsolete | |
PCM9211216kHz Digital Audio Interface Transceiver (DIX) with Stereo ADC and Routing | Development Boards, Kits, Programmers | 3 | Active | The PCM9211 is a complete analog and digital front-end for today’s multimedia players, sound bars, and recorders.
The PCM9211 integrates a stereo ADC, S/PDIF transceiver with up to 12 multiplexed inputs, and 3x PCM inputs to allow other audio receivers to be multiplexed, along with the analog and S/PDIF signals to a digital signal processor (DSP).
The PCM9211 is a complete analog and digital front-end for today’s multimedia players, sound bars, and recorders.
The PCM9211 integrates a stereo ADC, S/PDIF transceiver with up to 12 multiplexed inputs, and 3x PCM inputs to allow other audio receivers to be multiplexed, along with the analog and S/PDIF signals to a digital signal processor (DSP). |
PCMD3140Four-channel PDM-input to TDM- or I²S-output converter | Integrated Circuits (ICs) | 1 | Active | The PCMD3140 is a high-performance, pulse-density-modulation (PDM) input to time-division multiplexing (TDM) or I2S output converter that supports simultaneous sampling of up to four digital channels for the PDM microphone input. The device integrates programable digital volume control, a microphone bias voltage, a phase-locked loop (PLL), a programmable high-pass filter (HPF), biquad filters, low-latency filter modes, and allows for output sample rates up to 768 kHz. The device supports time-division multiplexing (TDM), I2S, or left-justified (LJ) audio formats, and can be controlled with the I2C interface. Additionally, the PCMD3140 supports master and slave mode selection for the audio bus interface operation. These integrated high-performance features, along with the ability to be powered from a single-supply of 3.3 V or 1.8 V, make the device an excellent choice for space-constrained audio systems in far-field microphone recording applications.
The PCMD3140 is specified from –40°C to +125°C, and is offered in a 20-pin WQFN package.
The PCMD3140 is a high-performance, pulse-density-modulation (PDM) input to time-division multiplexing (TDM) or I2S output converter that supports simultaneous sampling of up to four digital channels for the PDM microphone input. The device integrates programable digital volume control, a microphone bias voltage, a phase-locked loop (PLL), a programmable high-pass filter (HPF), biquad filters, low-latency filter modes, and allows for output sample rates up to 768 kHz. The device supports time-division multiplexing (TDM), I2S, or left-justified (LJ) audio formats, and can be controlled with the I2C interface. Additionally, the PCMD3140 supports master and slave mode selection for the audio bus interface operation. These integrated high-performance features, along with the ability to be powered from a single-supply of 3.3 V or 1.8 V, make the device an excellent choice for space-constrained audio systems in far-field microphone recording applications.
The PCMD3140 is specified from –40°C to +125°C, and is offered in a 20-pin WQFN package. |