PCM2912AAudio CODEC with USB Interface, Mono Microphone Input and Stereo Headphone Output | Integrated Circuits (ICs) | 4 | Active | The PCM2912A is the Texas Instruments single-chip, USB stereo audio codec with a USB, 2.0-compliant, full-speed protocol controller and an analog front-end (AFE) function for headset applications.
The USB protocol controller works with no software code, but USB descriptors can be modified on request. The PCM2912A employs SpAct™ architecture, TI’s unique system that recovers the audio clock from USB packet data. On-chip analog PLLs with SpAct enables independent playback and record sampling rates with low clock jitters.
The PCM2912A is the Texas Instruments single-chip, USB stereo audio codec with a USB, 2.0-compliant, full-speed protocol controller and an analog front-end (AFE) function for headset applications.
The USB protocol controller works with no software code, but USB descriptors can be modified on request. The PCM2912A employs SpAct™ architecture, TI’s unique system that recovers the audio clock from USB packet data. On-chip analog PLLs with SpAct enables independent playback and record sampling rates with low clock jitters. |
| CODECS | 4 | Obsolete | |
PCM3000Stereo CODEC with line-out (S/W Control) | CODECS | 2 | Active | The PCM3000/3001 is a low-cost, single-chip stereo audio codec (analog-to-digital and digital-to-analog converter) with single-ended analog voltage input and output. Both ADCs and DACs employ delta-sigma modu- lation with 64-times oversampling. The ADCs include a digital decimation filter and the DACs include an 8-times oversampling digital interpolation filter. TheDACs also include digital attenuation, de-emphasis, infinite zero detection and soft mute to form a complete subsystem. The PCM3000/3001 operates with left-justified, right-justified, I2S or DSP data formats.
The PCM3000 can be programmed with a three-wire serial interface for special features and data formats. The PCM3001 can be pin-programmed for data formats.
The PCM3000 and PCM3001 are fabricated using a highly advanced CMOS process and are available in a small 28-pin SSOP package. The PCM3000/3001 are suitable for a wide variety of cost-sensitive consumer applications where good performance is required.
The PCM3000/3001 is a low-cost, single-chip stereo audio codec (analog-to-digital and digital-to-analog converter) with single-ended analog voltage input and output. Both ADCs and DACs employ delta-sigma modu- lation with 64-times oversampling. The ADCs include a digital decimation filter and the DACs include an 8-times oversampling digital interpolation filter. TheDACs also include digital attenuation, de-emphasis, infinite zero detection and soft mute to form a complete subsystem. The PCM3000/3001 operates with left-justified, right-justified, I2S or DSP data formats.
The PCM3000 can be programmed with a three-wire serial interface for special features and data formats. The PCM3001 can be pin-programmed for data formats.
The PCM3000 and PCM3001 are fabricated using a highly advanced CMOS process and are available in a small 28-pin SSOP package. The PCM3000/3001 are suitable for a wide variety of cost-sensitive consumer applications where good performance is required. |
| Integrated Circuits (ICs) | 2 | Active | |
| CODECS | 3 | Active | |
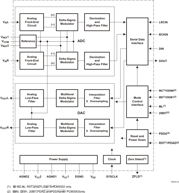
PCM3003Low-Power Stereo CODEC with line-out (H/W Control) | Development Boards, Kits, Programmers | 2 | Active | The PCM3002 and PCM3003 are low-cost, single-chip stereo audio codecs (analog-to-digital and digital-to-analog converters) with single-ended analog voltage input and output.
The ADCs and DACs employ delta-sigma modulation with 64-times oversampling. The ADCs include a digital decimation filter, and the DACs include an 8-times oversampling digital interpolation filter. The DACs also include digital attenuation, de-emphasis, infinite zero detection, and soft mute to form a complete subsystem. The PCM3002 and PCM3003 operate with left-justified (ADC) and right-justified (DAC) formats, while the PCM3002 also supports other formats, including the I2S data format. The PCM3002 and PCM3003 provide a power-down mode that operates on the ADCs and DACs independently.
The PCM3002 and PCM3003 are fabricated using a highly advanced CMOS process, and are available in a 24-pin SSOP package. The PCM3002 and PCM3003 are suitable for a wide variety of cost-sensitive consumer applications where good performance is required.
The PCM3002 programmable functions are controlled by software. The PCM3003 functions, which are controlled by hardware, include de-emphasis, power-down, and audio data format selections.
The PCM3002 and PCM3003 are low-cost, single-chip stereo audio codecs (analog-to-digital and digital-to-analog converters) with single-ended analog voltage input and output.
The ADCs and DACs employ delta-sigma modulation with 64-times oversampling. The ADCs include a digital decimation filter, and the DACs include an 8-times oversampling digital interpolation filter. The DACs also include digital attenuation, de-emphasis, infinite zero detection, and soft mute to form a complete subsystem. The PCM3002 and PCM3003 operate with left-justified (ADC) and right-justified (DAC) formats, while the PCM3002 also supports other formats, including the I2S data format. The PCM3002 and PCM3003 provide a power-down mode that operates on the ADCs and DACs independently.
The PCM3002 and PCM3003 are fabricated using a highly advanced CMOS process, and are available in a 24-pin SSOP package. The PCM3002 and PCM3003 are suitable for a wide variety of cost-sensitive consumer applications where good performance is required.
The PCM3002 programmable functions are controlled by software. The PCM3003 functions, which are controlled by hardware, include de-emphasis, power-down, and audio data format selections. |
PCM3008Low-Power and Low-Voltage Stereo CODEC with line-out (H/W Control) | CODECS | 1 | Active | The PCM3008 is a low cost single chip 16-bit stereo audio codec with single-ended analog voltage input and output.
Both ADCs and DACs employ delta-sigma modulation with 64-times oversampling. ADCs include a digital decimation filter and digital high pass filter. DACs include an 8-times oversampling digital interpolation filter, digital de-emphasis filter and pop-noise free muting which works during the power down ON/OFF sequence. The PCM3008 accepts left-justified format for ADC, and right-justified format for DAC. Independent power-down modes for ADC and DAC are provided.
The PCM3008 is suitable for a wide variety of cost-sensitive consumer applications where good performance is required. It is fabricated using a highly advanced CMOS process and is available in a small 16-pin TSSOP package.
The PCM3008 is a low cost single chip 16-bit stereo audio codec with single-ended analog voltage input and output.
Both ADCs and DACs employ delta-sigma modulation with 64-times oversampling. ADCs include a digital decimation filter and digital high pass filter. DACs include an 8-times oversampling digital interpolation filter, digital de-emphasis filter and pop-noise free muting which works during the power down ON/OFF sequence. The PCM3008 accepts left-justified format for ADC, and right-justified format for DAC. Independent power-down modes for ADC and DAC are provided.
The PCM3008 is suitable for a wide variety of cost-sensitive consumer applications where good performance is required. It is fabricated using a highly advanced CMOS process and is available in a small 16-pin TSSOP package. |
PCM301024-bit Stereo Audio Codec 96kHz (ADC) 192 kHz (DAC) with Single-Ended Analog Input/Output | CODECS | 2 | Active | The PCM3010 is a low-cost single-chip 24-, 16-bit stereo audio codec (ADC and DAC) with single-ended analog voltage input and output. Both the analog-to-digital converters (ADCs) and digital-to-analog converters (DACs) employ delta-sigma modulation with 64-times oversampling. The ADCs include a digital decimation filter with a high-pass filter, and the DACs include an 8-times-oversampling digital interpolation filter. The DACs also include a digital de-emphasis function. The PCM3010 accepts four different audio data formats for the ADC and DAC. The PCM3010 provides a power-down mode, which works on the ADC and DAC simultaneously. The PCM3010 is suitable for a wide variety of cost-sensitive consumer applications where good performance is required. The PCM3010 is fabricated using a highly advanced CMOS process and is available in a small 24-pin SSOP package.
The PCM3010 is a low-cost single-chip 24-, 16-bit stereo audio codec (ADC and DAC) with single-ended analog voltage input and output. Both the analog-to-digital converters (ADCs) and digital-to-analog converters (DACs) employ delta-sigma modulation with 64-times oversampling. The ADCs include a digital decimation filter with a high-pass filter, and the DACs include an 8-times-oversampling digital interpolation filter. The DACs also include a digital de-emphasis function. The PCM3010 accepts four different audio data formats for the ADC and DAC. The PCM3010 provides a power-down mode, which works on the ADC and DAC simultaneously. The PCM3010 is suitable for a wide variety of cost-sensitive consumer applications where good performance is required. The PCM3010 is fabricated using a highly advanced CMOS process and is available in a small 24-pin SSOP package. |
PCM3052A24-bit Stereo Audio Codec with Mic amp, Bias, MUX and PGA | Integrated Circuits (ICs) | 1 | Active | The PCM3052A is a low-cost, single-chip, 24-bit stereo audio codec (ADC and DAC) with single-ended analog voltage input and output. It also has an analog front end consisting of a 34-dB microphone amplifier, microphone bias generator, 2 stereo multiplexers, and a wide-range PGA. Analog- to-digital converters (ADCs) employ delta-sigma modulation with 64-times oversampling. On the other hand, digital-to-analog converters (DACs) employ modulation with 64- and 128-times oversampling. ADCs include a digital decimation filter with a high-pass filter, and DACs include an 8-times oversampling digital interpolation filter. The PCM3052A has many functions which are controlled using the I2C interface: DAC digital de-emphasis, digital attenuation, soft mute etc. The PCM3052A also has an S/PDIF output pin for the DAC digital input. The power-down mode, which works on ADCs and DACs simultaneously, is provided by an external pin. The PCM3052A is suitable for a wide variety of cost-sensitive PC audio (recorder and player) applications where good performance is required. The PCM3052A is fabricated using a highly advanced CMOS process and is available in a small 32-pin VQFN package.
The PCM3052A is a low-cost, single-chip, 24-bit stereo audio codec (ADC and DAC) with single-ended analog voltage input and output. It also has an analog front end consisting of a 34-dB microphone amplifier, microphone bias generator, 2 stereo multiplexers, and a wide-range PGA. Analog- to-digital converters (ADCs) employ delta-sigma modulation with 64-times oversampling. On the other hand, digital-to-analog converters (DACs) employ modulation with 64- and 128-times oversampling. ADCs include a digital decimation filter with a high-pass filter, and DACs include an 8-times oversampling digital interpolation filter. The PCM3052A has many functions which are controlled using the I2C interface: DAC digital de-emphasis, digital attenuation, soft mute etc. The PCM3052A also has an S/PDIF output pin for the DAC digital input. The power-down mode, which works on ADCs and DACs simultaneously, is provided by an external pin. The PCM3052A is suitable for a wide variety of cost-sensitive PC audio (recorder and player) applications where good performance is required. The PCM3052A is fabricated using a highly advanced CMOS process and is available in a small 32-pin VQFN package. |
PCM306024-bit Asynchronous Stereo Audio Codec with 96/192kHz sampling rate | Integrated Circuits (ICs) | 2 | Active | The PCM3060 is a low-cost, high-performance, single-chip, 24-bit stereo audio codec with single-ended analog inputs and differential analog outputs.
The stereo 24-bit ADC employs a 64-times delta-sigma modulator. It supports 16-96 kHz sampling rates and a 16/24-bit digital audio output word on the audio interface.
The stereo 24-bit DAC employs a 64- or 128-times delta-sigma modulator. It supports 16-192 kHz sampling rates and a 16/24-bit digital audio input word on the audio interface.
The PCM3060 supports fully independent operation of the sampling rate and audio interface for the ADC and DAC.
Each audio interface supports I2S, left-justified, and right-justified formats with 16/24-bit words.
The PCM3060 can be software-controlled through a 3-wire SPI-compatible or 2-wire I2C-compatible serial interface, which provides access to all functions including digital attenuation, soft mute, de-emphasis etc.
The PCM3060 can be also used in hardware mode, which provides three basic functions.
The PCM3060 is fabricated using a highly advanced CMOS process and is available in a small 28-pin TSSOP package.
The PCM3060 is suitable for various sound processing applications for DVD-RW, digital TV, STB, and other AV equipment.
The PCM3060 is a low-cost, high-performance, single-chip, 24-bit stereo audio codec with single-ended analog inputs and differential analog outputs.
The stereo 24-bit ADC employs a 64-times delta-sigma modulator. It supports 16-96 kHz sampling rates and a 16/24-bit digital audio output word on the audio interface.
The stereo 24-bit DAC employs a 64- or 128-times delta-sigma modulator. It supports 16-192 kHz sampling rates and a 16/24-bit digital audio input word on the audio interface.
The PCM3060 supports fully independent operation of the sampling rate and audio interface for the ADC and DAC.
Each audio interface supports I2S, left-justified, and right-justified formats with 16/24-bit words.
The PCM3060 can be software-controlled through a 3-wire SPI-compatible or 2-wire I2C-compatible serial interface, which provides access to all functions including digital attenuation, soft mute, de-emphasis etc.
The PCM3060 can be also used in hardware mode, which provides three basic functions.
The PCM3060 is fabricated using a highly advanced CMOS process and is available in a small 28-pin TSSOP package.
The PCM3060 is suitable for various sound processing applications for DVD-RW, digital TV, STB, and other AV equipment. |