| CODECS | 2 | Active | |
PCM3120-Q1Automotive, stereo, 106-dB SNR, 768-kHz, low-power software-controlled audio ADC | ADCs/DACs - Special Purpose | 1 | Active | The PCM3120-Q1 is a Burr-Brown™ high-performance, audio analog-to-digital converter (ADC) that supports simultaneous sampling of up to two analog channels or four digital channels for the pulse density modulation (PDM) microphone input. The device supports line and microphone inputs, and allows for both single-ended and differential input configurations. The device integrates programmable channel gain, digital volume control, a programmable microphone bias voltage, a phase-locked loop (PLL), a programmable high-pass filter (HPF), biquad filters, low-latency filter modes, and allows for sample rates up to 768 kHz. The device supports time-division multiplexing (TDM), I2S, or left-justified (LJ) audio formats, and can be controlled with the I2C interface. These integrated high-performance features, along with the ability to be powered from a single-supply of 3.3 V or 1.8 V, make the device an excellent choice for space-constrained audio systems in far-field microphone recording applications.
The PCM3120-Q1 is specified from –40°C to +125°C, and is offered in a 20-pin WQFN package.
The PCM3120-Q1 is a Burr-Brown™ high-performance, audio analog-to-digital converter (ADC) that supports simultaneous sampling of up to two analog channels or four digital channels for the pulse density modulation (PDM) microphone input. The device supports line and microphone inputs, and allows for both single-ended and differential input configurations. The device integrates programmable channel gain, digital volume control, a programmable microphone bias voltage, a phase-locked loop (PLL), a programmable high-pass filter (HPF), biquad filters, low-latency filter modes, and allows for sample rates up to 768 kHz. The device supports time-division multiplexing (TDM), I2S, or left-justified (LJ) audio formats, and can be controlled with the I2C interface. These integrated high-performance features, along with the ability to be powered from a single-supply of 3.3 V or 1.8 V, make the device an excellent choice for space-constrained audio systems in far-field microphone recording applications.
The PCM3120-Q1 is specified from –40°C to +125°C, and is offered in a 20-pin WQFN package. |
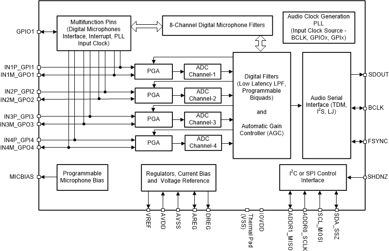
PCM3140-Q1Automotive, quad-channel 768-kHz Burr-Brown™ audio analog-to-digital converter (ADC) with 106-dB SNR | Data Acquisition | 1 | Active | The PCM3140-Q1 is a Burr-Brown™ high-performance, audio analog-to-digital converter (ADC) that supports simultaneous sampling of up to four analog channelsor eight digital channels for the pulse density modulation (PDM) microphone input. The device supports line and microphone inputs, and allows for both single-ended and differential input configurations. The device integrates programable channel gain, digital volume control, a programmable microphone bias voltage, a phase-locked loop (PLL), a programmable high-pass filter (HPF), biquad filters, low-latency filter modes, and allows for sample rates up to 768kHz, and allows for sample rates up to 192kHz. The device supports time-division multiplexing (TDM), I2S, or left-justified (LJ) audio formats, and can be controlled with either the I2C or SPI. These integrated high-performance features, along with the ability to be powered from a single-supply of 3.3V or 1.8V, make the device an excellent choice for space-constrained audio systems in far-field microphone recording applications.
The PCM3140-Q1 is specified from –40°C to +125°C, and is offered in a 24-pin VQFN package.
The PCM3140-Q1 is a Burr-Brown™ high-performance, audio analog-to-digital converter (ADC) that supports simultaneous sampling of up to four analog channelsor eight digital channels for the pulse density modulation (PDM) microphone input. The device supports line and microphone inputs, and allows for both single-ended and differential input configurations. The device integrates programable channel gain, digital volume control, a programmable microphone bias voltage, a phase-locked loop (PLL), a programmable high-pass filter (HPF), biquad filters, low-latency filter modes, and allows for sample rates up to 768kHz, and allows for sample rates up to 192kHz. The device supports time-division multiplexing (TDM), I2S, or left-justified (LJ) audio formats, and can be controlled with either the I2C or SPI. These integrated high-performance features, along with the ability to be powered from a single-supply of 3.3V or 1.8V, make the device an excellent choice for space-constrained audio systems in far-field microphone recording applications.
The PCM3140-Q1 is specified from –40°C to +125°C, and is offered in a 24-pin VQFN package. |
PCM3168A-Q124-bit Multi-channel Audio CODEC 6ch-in/8ch-out with 96/192kHz sampling rate | CODECS | 4 | Active | The PCM3168A device is a high-performance, single-chip, 24-bit, 6-in/8-out, audio coder and decoder (codecs) with single-ended and differential-selectable analog inputs and differential outputs.
The six-channel, 24-bit analog-to-digital converter (ADC) employs a delta-sigma (ΔΣ) modulator and supports 8-kHz to 96-kHz sampling rates and a 16-bit/24-bit width digital audio output word on the audio interface.
The eight-channel, 24-bit digital-to-analog converter (DAC) employs a ΔΣ modulator and supports 8-kHz to 192-kHz sampling rates and a 16-bit/24-bit width digital audio input word on the audio interface. Each audio interface supports I2S, left-justified, right-justified, and DSP formats with 16-bit/24-bit word width. In addition, the PCM3168A device supports the time-division-multiplexed (TDM) format.
The PCM3168A device can be controlled through a four-wire, SPI-compatible interface, or two-wire, I2C-compatible serial interface in software, which provides access to all functions including digital attenuation, soft mute, de-emphasis, and so forth. Also, hardware control mode provides a subset of user-programmable functions through four control pins. The PCM3168A device is available in a 12-mm × 12-mm (10-mm × 10-mm body) HTQFP-64 PowerPAD™ package.
The PCM3168A device is a high-performance, single-chip, 24-bit, 6-in/8-out, audio coder and decoder (codecs) with single-ended and differential-selectable analog inputs and differential outputs.
The six-channel, 24-bit analog-to-digital converter (ADC) employs a delta-sigma (ΔΣ) modulator and supports 8-kHz to 96-kHz sampling rates and a 16-bit/24-bit width digital audio output word on the audio interface.
The eight-channel, 24-bit digital-to-analog converter (DAC) employs a ΔΣ modulator and supports 8-kHz to 192-kHz sampling rates and a 16-bit/24-bit width digital audio input word on the audio interface. Each audio interface supports I2S, left-justified, right-justified, and DSP formats with 16-bit/24-bit word width. In addition, the PCM3168A device supports the time-division-multiplexed (TDM) format.
The PCM3168A device can be controlled through a four-wire, SPI-compatible interface, or two-wire, I2C-compatible serial interface in software, which provides access to all functions including digital attenuation, soft mute, de-emphasis, and so forth. Also, hardware control mode provides a subset of user-programmable functions through four control pins. The PCM3168A device is available in a 12-mm × 12-mm (10-mm × 10-mm body) HTQFP-64 PowerPAD™ package. |
PCM3500Low Voltage, Low Power, 16-Bit, Mono SoundPlus™ Voice/Modem Codec | CODECS | 3 | Active | Low Voltage, Low Power, 16-Bit, Mono SoundPlus™ Voice/Modem Codec |
PCM3501Low Voltage, Low Power, 16-Bit, Mono SoundPlus™ Voice/Modem Codec | Interface | 1 | Active | Low Voltage, Low Power, 16-Bit, Mono SoundPlus™ Voice/Modem Codec |
| Integrated Circuits (ICs) | 1 | Obsolete | |
PCM3793AVery Low-Power Stereo CODEC with HP/Class-D Speaker Amplifier, notch filters, ALC and 3D Effects | Interface | 3 | Active | The PCM3793A/94A is a low-power stereo CODEC designed for portable digital audio applications. The device integrates stereo digital speaker amplifier, headphone amplifier, line amplifier, line input, boost amplifier, microphone bias, programmable gain control, analog mixing, sound effects, and automatic level control (ALC). It is available in a small-footprint, 5-mm × 5-mm QFN package. The PCM3793A/94A supports right-justified, left-justified, I2S, and DSP formats, providing easy interfacing to audio DSP and decoder/encoder chips. Sampling rates up to 50 kHz are supported. The user-programmable functions are accessible through a two- or three-wire serial control port.
The PCM3793A/94A is a low-power stereo CODEC designed for portable digital audio applications. The device integrates stereo digital speaker amplifier, headphone amplifier, line amplifier, line input, boost amplifier, microphone bias, programmable gain control, analog mixing, sound effects, and automatic level control (ALC). It is available in a small-footprint, 5-mm × 5-mm QFN package. The PCM3793A/94A supports right-justified, left-justified, I2S, and DSP formats, providing easy interfacing to audio DSP and decoder/encoder chips. Sampling rates up to 50 kHz are supported. The user-programmable functions are accessible through a two- or three-wire serial control port. |
PCM3794AVery Low-Power Stereo CODEC with HP Amplifier, notch filters, ALC and 3D Effects | Interface | 4 | Active | The PCM3793A/94A is a low-power stereo CODEC designed for portable digital audio applications. The device integrates stereo digital speaker amplifier, headphone amplifier, line amplifier, line input, boost amplifier, microphone bias, programmable gain control, analog mixing, sound effects, and automatic level control (ALC). It is available in a small-footprint, 5-mm × 5-mm QFN package. The PCM3793A/94A supports right-justified, left-justified, I2S, and DSP formats, providing easy interfacing to audio DSP and decoder/encoder chips. Sampling rates up to 50 kHz are supported. The user-programmable functions are accessible through a two- or three-wire serial control port.
The PCM3793A/94A is a low-power stereo CODEC designed for portable digital audio applications. The device integrates stereo digital speaker amplifier, headphone amplifier, line amplifier, line input, boost amplifier, microphone bias, programmable gain control, analog mixing, sound effects, and automatic level control (ALC). It is available in a small-footprint, 5-mm × 5-mm QFN package. The PCM3793A/94A supports right-justified, left-justified, I2S, and DSP formats, providing easy interfacing to audio DSP and decoder/encoder chips. Sampling rates up to 50 kHz are supported. The user-programmable functions are accessible through a two- or three-wire serial control port. |
| Evaluation Boards | 1 | Obsolete | |