MSP430FE425A8-MHz metering MCU with 3 16-bit sigma-delta ADCs, 128-segment LCD, 16KB Flash, 512B RAM | Integrated Circuits (ICs) | 3 | Active | The Texas Instruments MSP430 family of ultra-low power microcontrollers consists of several devices featuring different sets of peripherals targeted for various applications. The architecture, combined with five low-power modes, is optimized to achieve extended battery life in portable measurement applications. The device features a powerful 16-bit RISC CPU, 16-bit registers, and constant generators that contribute to maximum code efficiency.The digitally controlled oscillator (DCO) allows wake-up from low-power modes to active mode in less than 6 µs.
The MSP430FE42xA series are microcontroller configurations with three independent 16-bit sigma-delta A/D converters, each with an integrated differential programmable gain amplifier input stage. Also included are a built-in 16-bit timer, 128 LCD segment drive capability, hardware multiplier, and 14 I/O pins.
Typical applications include high-resolution applications such as handheld metering equipment, weigh scales, and energy meters.
The Texas Instruments MSP430 family of ultra-low power microcontrollers consists of several devices featuring different sets of peripherals targeted for various applications. The architecture, combined with five low-power modes, is optimized to achieve extended battery life in portable measurement applications. The device features a powerful 16-bit RISC CPU, 16-bit registers, and constant generators that contribute to maximum code efficiency.The digitally controlled oscillator (DCO) allows wake-up from low-power modes to active mode in less than 6 µs.
The MSP430FE42xA series are microcontroller configurations with three independent 16-bit sigma-delta A/D converters, each with an integrated differential programmable gain amplifier input stage. Also included are a built-in 16-bit timer, 128 LCD segment drive capability, hardware multiplier, and 14 I/O pins.
Typical applications include high-resolution applications such as handheld metering equipment, weigh scales, and energy meters. |
MSP430FE42728-MHz metering MCU with 2 16-bit sigma-delta ADCs, 128-segment LCD, 32KB Flash, 1KB RAM | Embedded | 1 | Active | The Texas Instruments MSP430 family of ultra-low-power microcontrollers consists of several devices featuring different sets of peripherals targeted for various applications. The architecture, combined with five low-power modes is optimized to achieve extended battery life in portable measurement applications. The device features a powerful 16-bit RISC CPU, 16-bit registers, and constant generators that contribute to maximum code efficiency. The digitally controlled oscillator (DCO) allows wake-up from low-power modes to active mode in less than 6 µs.
The MSP430FE42x2 devices are microcontroller configurations with two independent 16-bit sigma-delta analog-to-digital (A/D) converters and embedded signal processor core used to measure and calculate single-phase energy in both 2-wire and 3-wire configurations. Also included is a built-in 16-bit timer, 128 LCD segment drive capability, and 14 I/O pins.
Typical applications include 2-wire and 3-wire single-phase metering.
The Texas Instruments MSP430 family of ultra-low-power microcontrollers consists of several devices featuring different sets of peripherals targeted for various applications. The architecture, combined with five low-power modes is optimized to achieve extended battery life in portable measurement applications. The device features a powerful 16-bit RISC CPU, 16-bit registers, and constant generators that contribute to maximum code efficiency. The digitally controlled oscillator (DCO) allows wake-up from low-power modes to active mode in less than 6 µs.
The MSP430FE42x2 devices are microcontroller configurations with two independent 16-bit sigma-delta analog-to-digital (A/D) converters and embedded signal processor core used to measure and calculate single-phase energy in both 2-wire and 3-wire configurations. Also included is a built-in 16-bit timer, 128 LCD segment drive capability, and 14 I/O pins.
Typical applications include 2-wire and 3-wire single-phase metering. |
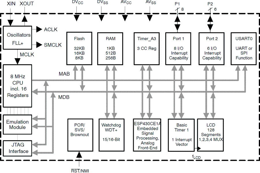
MSP430FE427A8-MHz metering MCU with 3 16-bit sigma-delta ADCs, 128-segment LCD, 32KB Flash, 1KB RAM | Embedded | 3 | Active | The TI MSP430 family of ultra-low-power microcontrollers consists of several devices featuring different sets of peripherals targeted for various applications. The architecture, combined with five low-power modes, is optimized to achieve extended battery life in portable measurement applications. The device features a powerful 16-bit RISC CPU, 16-bit registers, and constant generators that contribute to maximum code efficiency. The digitally controlled oscillator (DCO) allows the device to wake up from low-power modes to active mode in less than 6 µs.
The MSP430FE42x series are microcontroller configurations with three independent 16-bit sigma-delta ADCs and an embedded signal processor core used to measure and calculate single-phase energy in both 2-wire and 3-wire configurations. Also included are a built-in 16-bit timer, 128-segment LCD drive capability, and 14 I/O pins.
Typical applications include 2-wire and 3-wire single-phase metering including tamper-resistant meter implementations.
The TI MSP430 family of ultra-low-power microcontrollers consists of several devices featuring different sets of peripherals targeted for various applications. The architecture, combined with five low-power modes, is optimized to achieve extended battery life in portable measurement applications. The device features a powerful 16-bit RISC CPU, 16-bit registers, and constant generators that contribute to maximum code efficiency. The digitally controlled oscillator (DCO) allows the device to wake up from low-power modes to active mode in less than 6 µs.
The MSP430FE42x series are microcontroller configurations with three independent 16-bit sigma-delta ADCs and an embedded signal processor core used to measure and calculate single-phase energy in both 2-wire and 3-wire configurations. Also included are a built-in 16-bit timer, 128-segment LCD drive capability, and 14 I/O pins.
Typical applications include 2-wire and 3-wire single-phase metering including tamper-resistant meter implementations. |
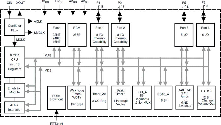
MSP430FG42508 MHz MCU with 16KB Flash, 256B SRAM, 16-bit sigma-delta ADC, 12-bit DAC, 2 OpAmp, 56 seg LCD | Microcontrollers | 3 | Active | The Texas Instruments MSP430 family of ultralow-power microcontrollers consist of several devices featuring different sets of peripherals targeted for various applications. The architecture, combined with five low-power modes, is optimized to achieve extended battery life in portable measurement applications. The device features a powerful 16-bit RISC CPU, 16-bit registers, and constant generators that contribute to maximum code efficiency. The digitally controlled oscillator (DCO) allows wake-up from low-power modes to active mode in less than 6µs.
The MSP430FG42x0 is a microcontroller configuration with a 16-bit timer, a high-performance 16-bitsigma-delta A/D converter, 12-bit D/A converter, two configurable operational amplifiers, 32 I/O pins, and a liquid crystal display driver.
Typical applications for this device include analog and digital sensor systems, digital motor control, remote controls, thermostats, digital timers, hand-held meters, etc.
The Texas Instruments MSP430 family of ultralow-power microcontrollers consist of several devices featuring different sets of peripherals targeted for various applications. The architecture, combined with five low-power modes, is optimized to achieve extended battery life in portable measurement applications. The device features a powerful 16-bit RISC CPU, 16-bit registers, and constant generators that contribute to maximum code efficiency. The digitally controlled oscillator (DCO) allows wake-up from low-power modes to active mode in less than 6µs.
The MSP430FG42x0 is a microcontroller configuration with a 16-bit timer, a high-performance 16-bitsigma-delta A/D converter, 12-bit D/A converter, two configurable operational amplifiers, 32 I/O pins, and a liquid crystal display driver.
Typical applications for this device include analog and digital sensor systems, digital motor control, remote controls, thermostats, digital timers, hand-held meters, etc. |
MSP430FG42608 MHz MCU with 24KB Flash, 256B SRAM, 16-bit sigma-delta ADC, 12-bit DAC, 2 OpAmp, 56 seg LCD | Embedded | 4 | Active | The Texas Instruments MSP430 family of ultralow-power microcontrollers consist of several devices featuring different sets of peripherals targeted for various applications. The architecture, combined with five low-power modes, is optimized to achieve extended battery life in portable measurement applications. The device features a powerful 16-bit RISC CPU, 16-bit registers, and constant generators that contribute to maximum code efficiency. The digitally controlled oscillator (DCO) allows wake-up from low-power modes to active mode in less than 6µs.
The MSP430FG42x0 is a microcontroller configuration with a 16-bit timer, a high-performance 16-bitsigma-delta A/D converter, 12-bit D/A converter, two configurable operational amplifiers, 32 I/O pins, and a liquid crystal display driver.
Typical applications for this device include analog and digital sensor systems, digital motor control, remote controls, thermostats, digital timers, hand-held meters, etc.
The Texas Instruments MSP430 family of ultralow-power microcontrollers consist of several devices featuring different sets of peripherals targeted for various applications. The architecture, combined with five low-power modes, is optimized to achieve extended battery life in portable measurement applications. The device features a powerful 16-bit RISC CPU, 16-bit registers, and constant generators that contribute to maximum code efficiency. The digitally controlled oscillator (DCO) allows wake-up from low-power modes to active mode in less than 6µs.
The MSP430FG42x0 is a microcontroller configuration with a 16-bit timer, a high-performance 16-bitsigma-delta A/D converter, 12-bit D/A converter, two configurable operational amplifiers, 32 I/O pins, and a liquid crystal display driver.
Typical applications for this device include analog and digital sensor systems, digital motor control, remote controls, thermostats, digital timers, hand-held meters, etc. |
MSP430FG42708 MHz MCU with 32KB Flash, 256B SRAM, 16-bit sigma-delta ADC, 12-bit DAC, 2 OpAmp, 56 seg LCD | Microcontrollers | 4 | Active | The Texas Instruments MSP430 family of ultralow-power microcontrollers consist of several devices featuring different sets of peripherals targeted for various applications. The architecture, combined with five low-power modes, is optimized to achieve extended battery life in portable measurement applications. The device features a powerful 16-bit RISC CPU, 16-bit registers, and constant generators that contribute to maximum code efficiency. The digitally controlled oscillator (DCO) allows wake-up from low-power modes to active mode in less than 6µs.
The MSP430FG42x0 is a microcontroller configuration with a 16-bit timer, a high-performance 16-bitsigma-delta A/D converter, 12-bit D/A converter, two configurable operational amplifiers, 32 I/O pins, and a liquid crystal display driver.
Typical applications for this device include analog and digital sensor systems, digital motor control, remote controls, thermostats, digital timers, hand-held meters, etc.
The Texas Instruments MSP430 family of ultralow-power microcontrollers consist of several devices featuring different sets of peripherals targeted for various applications. The architecture, combined with five low-power modes, is optimized to achieve extended battery life in portable measurement applications. The device features a powerful 16-bit RISC CPU, 16-bit registers, and constant generators that contribute to maximum code efficiency. The digitally controlled oscillator (DCO) allows wake-up from low-power modes to active mode in less than 6µs.
The MSP430FG42x0 is a microcontroller configuration with a 16-bit timer, a high-performance 16-bitsigma-delta A/D converter, 12-bit D/A converter, two configurable operational amplifiers, 32 I/O pins, and a liquid crystal display driver.
Typical applications for this device include analog and digital sensor systems, digital motor control, remote controls, thermostats, digital timers, hand-held meters, etc. |
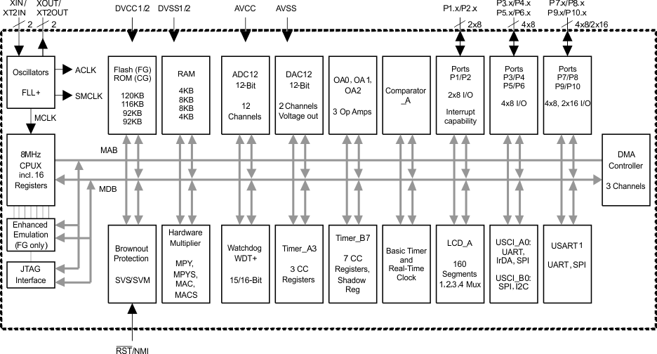
MSP430FG4378 MHz MCU with 32KB Flash, 1KB SRAM, 12-bit ADC, Dual DAC, DMA, 3 OpAmp, 128 seg LCD | Microcontrollers | 3 | Active | The Texas Instruments MSP430™ family of ultra-low-power microcontrollers consists of several devices featuring different sets of peripherals targeted for various applications. The architecture, combined with five low-power modes, is optimized to achieve extended battery life in portable measurement applications. The device features a powerful 16-bit RISC CPU, 16-bit registers, and constant generators that contribute to maximum code efficiency. The digitally controlled oscillator (DCO) allows the device to wake up from low-power modes to active mode in less than 6 µs.
The MSP430FG43x devices are microcontrollers with two 16-bit timers, a high-performance 12-bit ADC, dual 12-bit DACs, three configurable operational amplifiers, one universal synchronous/asynchronous communication interface, DMA, 48 I/O pins, and an LCD driver.
For complete module descriptions, see theMSP430x4xx Family User’s Guide.
The Texas Instruments MSP430™ family of ultra-low-power microcontrollers consists of several devices featuring different sets of peripherals targeted for various applications. The architecture, combined with five low-power modes, is optimized to achieve extended battery life in portable measurement applications. The device features a powerful 16-bit RISC CPU, 16-bit registers, and constant generators that contribute to maximum code efficiency. The digitally controlled oscillator (DCO) allows the device to wake up from low-power modes to active mode in less than 6 µs.
The MSP430FG43x devices are microcontrollers with two 16-bit timers, a high-performance 12-bit ADC, dual 12-bit DACs, three configurable operational amplifiers, one universal synchronous/asynchronous communication interface, DMA, 48 I/O pins, and an LCD driver.
For complete module descriptions, see theMSP430x4xx Family User’s Guide. |
MSP430FG4388 MHz MCU with 48KB Flash, 2KB SRAM, 12-bit ADC, Dual DAC, DMA, 3 OpAmp, 128 seg LCD | Embedded | 3 | Active | The Texas Instruments MSP430™ family of ultra-low-power microcontrollers consists of several devices featuring different sets of peripherals targeted for various applications. The architecture, combined with five low-power modes, is optimized to achieve extended battery life in portable measurement applications. The device features a powerful 16-bit RISC CPU, 16-bit registers, and constant generators that contribute to maximum code efficiency. The digitally controlled oscillator (DCO) allows the device to wake up from low-power modes to active mode in less than 6 µs.
The MSP430FG43x devices are microcontrollers with two 16-bit timers, a high-performance 12-bit ADC, dual 12-bit DACs, three configurable operational amplifiers, one universal synchronous/asynchronous communication interface, DMA, 48 I/O pins, and an LCD driver.
For complete module descriptions, see theMSP430x4xx Family User’s Guide.
The Texas Instruments MSP430™ family of ultra-low-power microcontrollers consists of several devices featuring different sets of peripherals targeted for various applications. The architecture, combined with five low-power modes, is optimized to achieve extended battery life in portable measurement applications. The device features a powerful 16-bit RISC CPU, 16-bit registers, and constant generators that contribute to maximum code efficiency. The digitally controlled oscillator (DCO) allows the device to wake up from low-power modes to active mode in less than 6 µs.
The MSP430FG43x devices are microcontrollers with two 16-bit timers, a high-performance 12-bit ADC, dual 12-bit DACs, three configurable operational amplifiers, one universal synchronous/asynchronous communication interface, DMA, 48 I/O pins, and an LCD driver.
For complete module descriptions, see theMSP430x4xx Family User’s Guide. |
MSP430FG4398 MHz MCU with 60KB Flash, 2KB SRAM, 12-bit ADC, Dual DAC, DMA, 3 OpAmp, 128 seg LCD | Integrated Circuits (ICs) | 3 | Active | The Texas Instruments MSP430™ family of ultra-low-power microcontrollers consists of several devices featuring different sets of peripherals targeted for various applications. The architecture, combined with five low-power modes, is optimized to achieve extended battery life in portable measurement applications. The device features a powerful 16-bit RISC CPU, 16-bit registers, and constant generators that contribute to maximum code efficiency. The digitally controlled oscillator (DCO) allows the device to wake up from low-power modes to active mode in less than 6 µs.
The MSP430FG43x devices are microcontrollers with two 16-bit timers, a high-performance 12-bit ADC, dual 12-bit DACs, three configurable operational amplifiers, one universal synchronous/asynchronous communication interface, DMA, 48 I/O pins, and an LCD driver.
For complete module descriptions, see theMSP430x4xx Family User’s Guide.
The Texas Instruments MSP430™ family of ultra-low-power microcontrollers consists of several devices featuring different sets of peripherals targeted for various applications. The architecture, combined with five low-power modes, is optimized to achieve extended battery life in portable measurement applications. The device features a powerful 16-bit RISC CPU, 16-bit registers, and constant generators that contribute to maximum code efficiency. The digitally controlled oscillator (DCO) allows the device to wake up from low-power modes to active mode in less than 6 µs.
The MSP430FG43x devices are microcontrollers with two 16-bit timers, a high-performance 12-bit ADC, dual 12-bit DACs, three configurable operational amplifiers, one universal synchronous/asynchronous communication interface, DMA, 48 I/O pins, and an LCD driver.
For complete module descriptions, see theMSP430x4xx Family User’s Guide. |
MSP430FG46168 MHz MCU with 92KB Flash, 4KB SRAM, 12-bit ADC, Dual DAC, DMA, 3 OpAmp, 160 seg LCD | Embedded | 6 | Active | The TI MSP430™ family of ultra-low-power microcontrollers consists of several devices featuring different sets of peripherals targeted for various applications. The architecture, combined with five low-power modes, is optimized to achieve extended battery life in portable measurement applications. The device features a powerful 16-bit RISC CPU, 16-bit registers, and constant generators that contribute to maximum code efficiency. The digitally controlled oscillator (DCO) allows the device to wake up from low-power modes to active mode in less than 6 µs.
The MSP430xG461x series are microcontroller configurations with two 16-bit timers, a high-performance 12-bit ADC, dual 12-bit DACs, three configurable operational amplifiers, one universal serial communication interface (USCI), one universal synchronous/asynchronous communication interface (USART), DMA, 80 I/O pins, and a segment liquid crystal display (LCD) driver with regulated charge pump.
For complete module descriptions, see theMSP430x4xx Family User’s Guide.
The TI MSP430™ family of ultra-low-power microcontrollers consists of several devices featuring different sets of peripherals targeted for various applications. The architecture, combined with five low-power modes, is optimized to achieve extended battery life in portable measurement applications. The device features a powerful 16-bit RISC CPU, 16-bit registers, and constant generators that contribute to maximum code efficiency. The digitally controlled oscillator (DCO) allows the device to wake up from low-power modes to active mode in less than 6 µs.
The MSP430xG461x series are microcontroller configurations with two 16-bit timers, a high-performance 12-bit ADC, dual 12-bit DACs, three configurable operational amplifiers, one universal serial communication interface (USCI), one universal synchronous/asynchronous communication interface (USART), DMA, 80 I/O pins, and a segment liquid crystal display (LCD) driver with regulated charge pump.
For complete module descriptions, see theMSP430x4xx Family User’s Guide. |