| Power Management (PMIC) | 2 | Obsolete | |
| Integrated Circuits (ICs) | 3 | Active | |
LM276711-kHz switched capacitor voltage doubler | Integrated Circuits (ICs) | 4 | Active | The LM2767 CMOS charge-pump voltage converter operates as a voltage doubler for an input voltage in the range of 1.8 V to 5.5 V. Two low-cost capacitors and a diode are used in this circuit to provide at least 15 mA of output current.
The LM2767 operates at 11-kHz switching frequency to avoid audio voice-band interference. With an operating current of only 40 µA (operating efficiency greater than 90% with most loads), the LM2767 provides ideal performance for battery-powered systems. The device is manufactured in a 5-pin SOT-23 package.
The LM2767 CMOS charge-pump voltage converter operates as a voltage doubler for an input voltage in the range of 1.8 V to 5.5 V. Two low-cost capacitors and a diode are used in this circuit to provide at least 15 mA of output current.
The LM2767 operates at 11-kHz switching frequency to avoid audio voice-band interference. With an operating current of only 40 µA (operating efficiency greater than 90% with most loads), the LM2767 provides ideal performance for battery-powered systems. The device is manufactured in a 5-pin SOT-23 package. |
| Integrated Circuits (ICs) | 1 | Obsolete | |
LM2771Low-Ripple 250mA Switched Capacitor Step-Down DC/DC Converter | Power Management (PMIC) | 2 | Obsolete | The LM2771 is a switched capacitor step-down regulator that produces a 1.5V output without the use of an inductor. It is capable of supplying loads up to 250mA. The LM2771 operates with an input voltage from 2.7V to 5.5V, and requires only 3 low-cost ceramic capacitors.
The LM2771 uses a regulated 0.5x charge pump to give power conversion efficiencies nearly twice as high as an LDO. Pre-regulated 1.1MHz fixed-frequency switching results in very low ripple and noise on both the input and the output. When output currents are low (<30mA typ.), the part automatically switches to a low-ripple PFM regulation mode to maintain high efficiency over the entire load range. At input voltages below 3.5V (Typ), the charge pump goes into pass mode, with efficiencies similar to an LDO.
The LM2771 is a switched capacitor step-down regulator that produces a 1.5V output without the use of an inductor. It is capable of supplying loads up to 250mA. The LM2771 operates with an input voltage from 2.7V to 5.5V, and requires only 3 low-cost ceramic capacitors.
The LM2771 uses a regulated 0.5x charge pump to give power conversion efficiencies nearly twice as high as an LDO. Pre-regulated 1.1MHz fixed-frequency switching results in very low ripple and noise on both the input and the output. When output currents are low (<30mA typ.), the part automatically switches to a low-ripple PFM regulation mode to maintain high efficiency over the entire load range. At input voltages below 3.5V (Typ), the charge pump goes into pass mode, with efficiencies similar to an LDO. |
| Evaluation Boards | 5 | Active | |
LM2775-Q1Automotive, 2.7-V to 5.5-VIN, 200-mA output current, 5-V fixed output voltage doubler | Evaluation Boards | 4 | Active | The LM2775-Q1 is a regulated switched-capacitor doubler that produces a low-noise output voltage. The LM2775-Q1 can supply up to 200 mA of output current over a 3.1-V to 5.5-V input range, as well as up to 125 mA of output current when the input voltage is as low as 2.7 V. The LM2775-Q1 provides a cost-optimized 5V, 200mA supply for powering CAN transceivers and other loads, boosting from a regulated 3.3-V system rail. It can be used as a post-boost in automotive systems that do not use a wide input voltage pre-boost or cold crank. At low output currents, the LM2775-Q1 can reduce its quiescent current by operating in a pulse frequency modulation (PFM) mode. PFM mode can be enabled or disabled by driving the PFM pin to high or low. Additionally, when the device is in shutdown, the user can chose to have the output voltage pulled to GND or left in a high impedance state by setting the OUTDIS pin high or low.
The LM2775-Q1 has been placed in TI’s 8-pin WSON, a package with excellent thermal properties that keeps the part from overheating under almost all rated operating conditions.
The LM2775-Q1 is a regulated switched-capacitor doubler that produces a low-noise output voltage. The LM2775-Q1 can supply up to 200 mA of output current over a 3.1-V to 5.5-V input range, as well as up to 125 mA of output current when the input voltage is as low as 2.7 V. The LM2775-Q1 provides a cost-optimized 5V, 200mA supply for powering CAN transceivers and other loads, boosting from a regulated 3.3-V system rail. It can be used as a post-boost in automotive systems that do not use a wide input voltage pre-boost or cold crank. At low output currents, the LM2775-Q1 can reduce its quiescent current by operating in a pulse frequency modulation (PFM) mode. PFM mode can be enabled or disabled by driving the PFM pin to high or low. Additionally, when the device is in shutdown, the user can chose to have the output voltage pulled to GND or left in a high impedance state by setting the OUTDIS pin high or low.
The LM2775-Q1 has been placed in TI’s 8-pin WSON, a package with excellent thermal properties that keeps the part from overheating under almost all rated operating conditions. |
LM2776Switched Capacitor Inverter | Development Boards, Kits, Programmers | 2 | Active | The LM2776 CMOS charge-pump voltage converter inverts a positive voltage in the range from 2.7 V to 5.5 V to the corresponding negative voltage. The LM2776 uses three low-cost capacitors to provide 200 mA of output current without the cost, size, and electromagnetic interference (EMI) related to inductor-based converters.
With an operating current of only 100 µA and operating efficiency greater than 90% at most loads, the LM2776 provides ideal performance for battery-powered systems requiring a high power negative power supply.
The LM2776 has been placed in TI’s 6-pin SOT-23 to maintain a small form factor.
The LM2776 CMOS charge-pump voltage converter inverts a positive voltage in the range from 2.7 V to 5.5 V to the corresponding negative voltage. The LM2776 uses three low-cost capacitors to provide 200 mA of output current without the cost, size, and electromagnetic interference (EMI) related to inductor-based converters.
With an operating current of only 100 µA and operating efficiency greater than 90% at most loads, the LM2776 provides ideal performance for battery-powered systems requiring a high power negative power supply.
The LM2776 has been placed in TI’s 6-pin SOT-23 to maintain a small form factor. |
| Voltage Regulators - DC DC Switching Regulators | 2 | Active | |
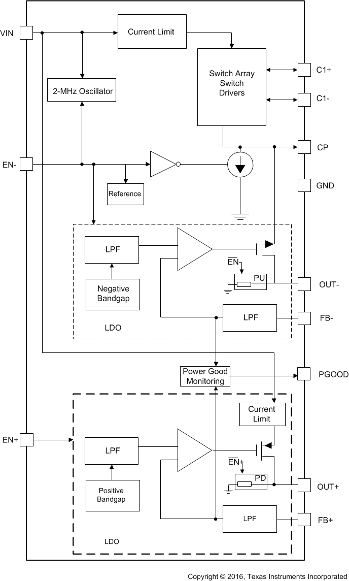
LM27762Low-Noise Positive- and Negative-Output Charge Pump With Integrated LDO | Evaluation Boards | 3 | Active | The LM27762 delivers very low-noise positive and negative outputs that are adjustable between ±1.5 V and ±5 V. Input-voltage range is from 2.7 V to 5.5 V, and output current goes up to ±250 mA. With an operating current of only 390 µA and 0.5-µA typical shutdown current, the LM27762 provides ideal performance for power amplifier and DAC bias and other high-current, low-noise negative voltage needs. The device provides a small solution size with few external components.
Negative voltage is generated by a regulated inverting charge pump followed by a low-noise negative LDO. The inverting charge pump of the LM27762 device operates at 2-MHz (typical) switching frequency to reduce output resistance and voltage ripple. Positive voltage is generated from the input by a low-noise positive LDO.
Positive and negative outputs of LM27762 have dedicated enable inputs. These outputs support independent timing for the positive and negative rails for specific system power-sequence needs. Enable inputs can be also shorted together and connected to the input voltage. The LM27762 has an optional Power Good feature.
The LM27762 delivers very low-noise positive and negative outputs that are adjustable between ±1.5 V and ±5 V. Input-voltage range is from 2.7 V to 5.5 V, and output current goes up to ±250 mA. With an operating current of only 390 µA and 0.5-µA typical shutdown current, the LM27762 provides ideal performance for power amplifier and DAC bias and other high-current, low-noise negative voltage needs. The device provides a small solution size with few external components.
Negative voltage is generated by a regulated inverting charge pump followed by a low-noise negative LDO. The inverting charge pump of the LM27762 device operates at 2-MHz (typical) switching frequency to reduce output resistance and voltage ripple. Positive voltage is generated from the input by a low-noise positive LDO.
Positive and negative outputs of LM27762 have dedicated enable inputs. These outputs support independent timing for the positive and negative rails for specific system power-sequence needs. Enable inputs can be also shorted together and connected to the input voltage. The LM27762 has an optional Power Good feature. |