| Evaluation Boards | 2 | Active | |
TPA6120A2Stereo, 9.0- to 33.0-V, analog input headphone amplifier with 128 dB dynamic range | Linear | 3 | Active | In applications requiring a high-power output, very high fidelity headphone amplifier, the TPA6120A2 replaces a costly discrete design and allows music, not the amplifier, to be heard. The TPA6120A2’s current-feedback AB amplifier architecture delivers high bandwidth, extremely low noise, and up to 128dB of dynamic range.
Three key features make current-feedback amplifiers outstanding for audio. The first feature is the high slew rate that prevents odd order distortion anomalies. The second feature is current-on-demand at the output that enables the amplifier to respond quickly and linearly when necessary without risk of output distortion. When large amounts of output power are suddenly needed, the amplifier can respond extremely quickly without raising the noise floor of the system and degrading the signal-to-noise ratio. The third feature is the gain-independent frequency response that allows the full bandwidth of the amplifier to be used over a wide range of gain settings.
In applications requiring a high-power output, very high fidelity headphone amplifier, the TPA6120A2 replaces a costly discrete design and allows music, not the amplifier, to be heard. The TPA6120A2’s current-feedback AB amplifier architecture delivers high bandwidth, extremely low noise, and up to 128dB of dynamic range.
Three key features make current-feedback amplifiers outstanding for audio. The first feature is the high slew rate that prevents odd order distortion anomalies. The second feature is current-on-demand at the output that enables the amplifier to respond quickly and linearly when necessary without risk of output distortion. When large amounts of output power are suddenly needed, the amplifier can respond extremely quickly without raising the noise floor of the system and degrading the signal-to-noise ratio. The third feature is the gain-independent frequency response that allows the full bandwidth of the amplifier to be used over a wide range of gain settings. |
TPA6130A2138-mW, stereo, analog input headphone amplifier with I2C control interface | Amplifiers | 6 | Active | The TPA6130A2 is a stereo DirectPath™ headphone amplifier with I2C digital volume control. The TPA6130A2 has minimal quiescent current consumption, with a typical IDDof 4 mA, making it optimal for portable applications. The I2C control allows maximum flexibility with a 64 step audio taper volume control, channel independent enables and mutes, and the ability to configure the outputs into stereo, dual mono, or a single receiver speaker BTL amplifier that drives 300 mW of power into 16 Ω loads.
The TPA6130A2 is a high fidelity amplifier with an SNR of 98 dB. A PSRR greater than 100 dB enables direct-to-battery connections without compromising the listening experience. The output noise of 9 µVrms (typicalA-weighted) provides a minimal noise background during periods of silence. Configurable differential inputs and high CMRR allow for maximum noise rejection in the noisy environment of a mobile device.
TPA6130A2 packaging includes a 2 by 2 mm chip-scale package, and a 4 by 4 mm QFN package.
The TPA6130A2 is a stereo DirectPath™ headphone amplifier with I2C digital volume control. The TPA6130A2 has minimal quiescent current consumption, with a typical IDDof 4 mA, making it optimal for portable applications. The I2C control allows maximum flexibility with a 64 step audio taper volume control, channel independent enables and mutes, and the ability to configure the outputs into stereo, dual mono, or a single receiver speaker BTL amplifier that drives 300 mW of power into 16 Ω loads.
The TPA6130A2 is a high fidelity amplifier with an SNR of 98 dB. A PSRR greater than 100 dB enables direct-to-battery connections without compromising the listening experience. The output noise of 9 µVrms (typicalA-weighted) provides a minimal noise background during periods of silence. Configurable differential inputs and high CMRR allow for maximum noise rejection in the noisy environment of a mobile device.
TPA6130A2 packaging includes a 2 by 2 mm chip-scale package, and a 4 by 4 mm QFN package. |
TPA6132A225-mW, stereo, analog input headphone amplifier in WQFN | Development Boards, Kits, Programmers | 3 | Active | The TPA6132A2 (sometimes referred to as TPA6132) is a DirectPath™ stereo headphone amplifier that eliminates the need for external dc-blocking output capacitors. Differential stereo inputs and built-in resistors set the device gain, further reducing external component count. Gain is selectable at –6 dB, 0 dB, 3 dB or 6 dB. The amplifier drives 25 mW into 16 Ω speakers from a single 2.3 V supply. The TPA6132A2 (TPA6132) provides a constant maximum output power independent of the supply voltage, thus facilitating the design for prevention of acoustic shock.
The TPA6132A2 features fully differential inputs to reduce system noise pickup between the audio source and the headphone amplifier. The high power supply noise rejection performance and differential architecture provides increased RF noise immunity. For single-ended input signals, connect INL+ and INR+ to ground.
The device has built-in pop suppression circuitry to completely eliminate disturbing pop noise during turn-on and turn-off. The amplifier outputs have short-circuit and thermal-overload protection along with ±8 kV HBM ESD protection, simplifying end equipment compliance to the IEC 61000-4-2 ESD standard.
The TPA6132A2 operates from a single 2.3 V to 5.5 V supply with 2.1 mA of typical supply current. Shutdown mode reduces supply current to less than 1 µA.
The TPA6132A2 (sometimes referred to as TPA6132) is a DirectPath™ stereo headphone amplifier that eliminates the need for external dc-blocking output capacitors. Differential stereo inputs and built-in resistors set the device gain, further reducing external component count. Gain is selectable at –6 dB, 0 dB, 3 dB or 6 dB. The amplifier drives 25 mW into 16 Ω speakers from a single 2.3 V supply. The TPA6132A2 (TPA6132) provides a constant maximum output power independent of the supply voltage, thus facilitating the design for prevention of acoustic shock.
The TPA6132A2 features fully differential inputs to reduce system noise pickup between the audio source and the headphone amplifier. The high power supply noise rejection performance and differential architecture provides increased RF noise immunity. For single-ended input signals, connect INL+ and INR+ to ground.
The device has built-in pop suppression circuitry to completely eliminate disturbing pop noise during turn-on and turn-off. The amplifier outputs have short-circuit and thermal-overload protection along with ±8 kV HBM ESD protection, simplifying end equipment compliance to the IEC 61000-4-2 ESD standard.
The TPA6132A2 operates from a single 2.3 V to 5.5 V supply with 2.1 mA of typical supply current. Shutdown mode reduces supply current to less than 1 µA. |
TPA6133A2138-mW, stereo, analog input headphone amplifier with GPIO control interface | Development Boards, Kits, Programmers | 2 | Active | The TPA6133A2 is a stereo DirectPath™ headphone amplifier with GPIO control. The TPA6133A2 has minimal quiescent current consumption, with a typical IDDof 4.2 mA, making it optimal for portable applications. The GPIO control allows the device to be put in a low power shutdown mode.
The TPA6133A2 is a high fidelity amplifier with an SNR of 93 dB. A PSRR greater than 100 dB enables direct-to-battery connections without compromising the listening experience. The output noise of 12 µVrms (typicalA-weighted) provides a minimal noise background during periods of silence. Configurable differential inputs and high CMRR allow for maximum noise rejection in the noisy environment of a mobile device.
The TPA6133A2 is a stereo DirectPath™ headphone amplifier with GPIO control. The TPA6133A2 has minimal quiescent current consumption, with a typical IDDof 4.2 mA, making it optimal for portable applications. The GPIO control allows the device to be put in a low power shutdown mode.
The TPA6133A2 is a high fidelity amplifier with an SNR of 93 dB. A PSRR greater than 100 dB enables direct-to-battery connections without compromising the listening experience. The output noise of 12 µVrms (typicalA-weighted) provides a minimal noise background during periods of silence. Configurable differential inputs and high CMRR allow for maximum noise rejection in the noisy environment of a mobile device. |
TPA6135A225-mW, stereo, analog input headphone amplifier with Hi-Z mode | Audio Amplifier Evaluation Boards | 2 | Active | The TPA6135A2 (sometimes referred to as TPA6135) is a DirectPath™ stereo headphone amplifier that eliminates the need for external dc-blocking output capacitors. Differential stereo inputs and built-in resistors set the device gain, further reducing external component count. Gain is selectable at 0 dB or 6 dB. The amplifier drives 25 mW into 16speakers from a single 2.3 V supply. The TPA6135A2 (TPA6135) provides a constant maximum output power independent of the supply voltage, thus facilitating the design for prevention of acoustic shock.
The TPA6135A2 (TPA6135) features HI-Z mode which can set the outputs to a high impedance configuration. The fully differential inputs reduce system noise pickup between the audio source and the headphone amplifier. The high power supply noise rejection performance and differential architecture provide increased RF noise immunity. For single-ended input signals, connect INL+ and INR+ to ground.
The device has built-in pop suppression circuitry to completely eliminate disturbing pop noise during turn-on and turn-off. The amplifier outputs have short-circuit and thermal-overload protection along with ±8 kV HBM ESD protection, simplifying end equipment compliance to the IEC 61000-4-2 ESD standard.
The TPA6135A2 (TPA6135) operates from a single 2.3 V to 5.5 V supply with 2.1 mA of typical supply current. Shutdown mode reduces supply current to less than 1 µA.
The TPA6135A2 (sometimes referred to as TPA6135) is a DirectPath™ stereo headphone amplifier that eliminates the need for external dc-blocking output capacitors. Differential stereo inputs and built-in resistors set the device gain, further reducing external component count. Gain is selectable at 0 dB or 6 dB. The amplifier drives 25 mW into 16speakers from a single 2.3 V supply. The TPA6135A2 (TPA6135) provides a constant maximum output power independent of the supply voltage, thus facilitating the design for prevention of acoustic shock.
The TPA6135A2 (TPA6135) features HI-Z mode which can set the outputs to a high impedance configuration. The fully differential inputs reduce system noise pickup between the audio source and the headphone amplifier. The high power supply noise rejection performance and differential architecture provide increased RF noise immunity. For single-ended input signals, connect INL+ and INR+ to ground.
The device has built-in pop suppression circuitry to completely eliminate disturbing pop noise during turn-on and turn-off. The amplifier outputs have short-circuit and thermal-overload protection along with ±8 kV HBM ESD protection, simplifying end equipment compliance to the IEC 61000-4-2 ESD standard.
The TPA6135A2 (TPA6135) operates from a single 2.3 V to 5.5 V supply with 2.1 mA of typical supply current. Shutdown mode reduces supply current to less than 1 µA. |
TPA6138A240-mW, stereo, analog input headphone amplifier with adjustable gain | Linear | 1 | Active | The TPA6138A2 is a pop-free stereo headphone amplifier designed to allow the removal of the output dc-blocking capacitors for reduced component count and cost. The device is ideal for single-supply electronics where size and cost are critical design parameters.
Designed using TI’s patented DirectPath™ technology, The TPA6138A2 is capable of driving 25 mW into a 32-Ω load with 3.3-V supply voltage. The device has differential inputs and uses external gain-setting resistors that supports a gain range of ±1 V/V to ±10 V/V. Gain can be configured individually for each channel. The device can also be configured as a second-order low-pass filter and is ideal for interfacing with PWM audio sources. Audio output compiles with ±8-kV IEC ESD protection, requiring just a simple resistor-capacitor ESD protection circuit. The TPA6138A2 has built-in active-mute control for pop-free audio on/off control. The TPA6138A2 has an external undervoltage detector that mutes the output when the power supply is removed, ensuring a pop-free shutdown.
Using the TPA6138A2 in audio products can reduce component count considerably compared to traditional headphone amplifiers. The TPA6138A2 does not require a split-rail power supply or a dc blocking capacitor. The TPA6138A2 integrates its own charge pump to generate a negative supply rail that provides a clean, pop-free ground-biased audio signal.
The TPA6138A2 is available in a 14-pin TSSOP.
The TPA6138A2 is a pop-free stereo headphone amplifier designed to allow the removal of the output dc-blocking capacitors for reduced component count and cost. The device is ideal for single-supply electronics where size and cost are critical design parameters.
Designed using TI’s patented DirectPath™ technology, The TPA6138A2 is capable of driving 25 mW into a 32-Ω load with 3.3-V supply voltage. The device has differential inputs and uses external gain-setting resistors that supports a gain range of ±1 V/V to ±10 V/V. Gain can be configured individually for each channel. The device can also be configured as a second-order low-pass filter and is ideal for interfacing with PWM audio sources. Audio output compiles with ±8-kV IEC ESD protection, requiring just a simple resistor-capacitor ESD protection circuit. The TPA6138A2 has built-in active-mute control for pop-free audio on/off control. The TPA6138A2 has an external undervoltage detector that mutes the output when the power supply is removed, ensuring a pop-free shutdown.
Using the TPA6138A2 in audio products can reduce component count considerably compared to traditional headphone amplifiers. The TPA6138A2 does not require a split-rail power supply or a dc blocking capacitor. The TPA6138A2 integrates its own charge pump to generate a negative supply rail that provides a clean, pop-free ground-biased audio signal.
The TPA6138A2 is available in a 14-pin TSSOP. |
TPA6139A225-mW, stereo, analog input headphone amplifier with programmable gain | Audio Amplifier Evaluation Boards | 3 | Active | The TPA6139A2 is a 25-mW, pop-free stereo headphone driver designed to reduce component count, board space and cost. It is ideal for single-supply electronics where size and cost are critical design parameters.
The TPA6139A2 device does not require a power supply greater than 3.3 V to generate its 25 mW, nor does it require a split rail power supply.
The TPA6139A2 device was designed using TI’s patented DirectPath™ technology, which integrates a charge pump to generate a negative supply rail that provides a clean, pop-free ground biased output. The TPA6139A2 is capable of driving 25 mW into a 32-Ω load and 2 Vrms into a 600-Ω load. DirectPath also allows the removal of the costly output DC-blocking capacitors.
The device has fixed gain single-ended inputs with a gain select pin. Using a single resistor on this pin, the designer can choose from 13 internal programmable gain settings to match the line driver with the CODEC output level. It also reduces the component count and board space.
Headphone outputs have &plusm;8-kV HBM ESD protection enabling a simple ESD protection circuit. The TPA6139A2 has built-in active mute control with more that 80-dB attenuation for pop-free mute ON and OFF control.
The TPA6139A2 device is available in a 14-pin TSSOP and a 16-pin QFN. For a pin-compatible, 2-Vrms line driver see DRV612.
The TPA6139A2 is a 25-mW, pop-free stereo headphone driver designed to reduce component count, board space and cost. It is ideal for single-supply electronics where size and cost are critical design parameters.
The TPA6139A2 device does not require a power supply greater than 3.3 V to generate its 25 mW, nor does it require a split rail power supply.
The TPA6139A2 device was designed using TI’s patented DirectPath™ technology, which integrates a charge pump to generate a negative supply rail that provides a clean, pop-free ground biased output. The TPA6139A2 is capable of driving 25 mW into a 32-Ω load and 2 Vrms into a 600-Ω load. DirectPath also allows the removal of the costly output DC-blocking capacitors.
The device has fixed gain single-ended inputs with a gain select pin. Using a single resistor on this pin, the designer can choose from 13 internal programmable gain settings to match the line driver with the CODEC output level. It also reduces the component count and board space.
Headphone outputs have &plusm;8-kV HBM ESD protection enabling a simple ESD protection circuit. The TPA6139A2 has built-in active mute control with more that 80-dB attenuation for pop-free mute ON and OFF control.
The TPA6139A2 device is available in a 14-pin TSSOP and a 16-pin QFN. For a pin-compatible, 2-Vrms line driver see DRV612. |
| Integrated Circuits (ICs) | 2 | Active | |
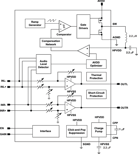
TPA6141A232-mW, stereo, analog input headphone amplifier | Audio Amplifiers | 2 | Active | The TPA6141A2 (also known as TPA6141) is a Class-G DirectPath stereo headphone amplifier with selectable gain. Class-G technology maximizes battery life by adjusting the voltage supplies of the headphone amplifier based on the audio signal level. At low level audio signals, the internal supply voltage is reduced to minimize power dissipation. DirectPathTMtechnology eliminates external DC-blocking capacitors.
The device features fully differential inputs with an integrated low pass filter to reduce system noise pickup between the audio source and the headphone amplifier and to reduce DAC out-of-band noise. The high power supply noise rejection performance and differential architecture provides increased RF noise immunity. For single-ended input signals, connect INL+ and INR+ to ground.
The device operates from a 2.5 V to 5.5 V supply voltage. Class-G operation keeps total supply current below 5.0 mA while delivering 500 µW per channel into 32. Shutdown mode reduces the supply current to less than 3 µA and is activated through the EN pin.
The device has built-in pop suppression circuitry to completely eliminate disturbing pop noise during turn-on and turn-off. The amplifier outputs have short-circuit and thermal-overload protection along with ±8 kV HBM ESD protection, simplifying end equipment compliance to the IEC 61000-4-2 ESD standard.
The TPA6141A2 (also known as TPA6141) is a Class-G DirectPath stereo headphone amplifier with selectable gain. Class-G technology maximizes battery life by adjusting the voltage supplies of the headphone amplifier based on the audio signal level. At low level audio signals, the internal supply voltage is reduced to minimize power dissipation. DirectPathTMtechnology eliminates external DC-blocking capacitors.
The device features fully differential inputs with an integrated low pass filter to reduce system noise pickup between the audio source and the headphone amplifier and to reduce DAC out-of-band noise. The high power supply noise rejection performance and differential architecture provides increased RF noise immunity. For single-ended input signals, connect INL+ and INR+ to ground.
The device operates from a 2.5 V to 5.5 V supply voltage. Class-G operation keeps total supply current below 5.0 mA while delivering 500 µW per channel into 32. Shutdown mode reduces the supply current to less than 3 µA and is activated through the EN pin.
The device has built-in pop suppression circuitry to completely eliminate disturbing pop noise during turn-on and turn-off. The amplifier outputs have short-circuit and thermal-overload protection along with ±8 kV HBM ESD protection, simplifying end equipment compliance to the IEC 61000-4-2 ESD standard. |