ADS130E08Low-Cost, 8-Channel, Integrated Analog Front-End for Metering Applications | Analog Front End (AFE) | 2 | Active | The ADS130E08 is a multi-channel, simultaneous sampling, 16-bit, delta-sigma (ΔΣ) analog-to-digital converter (ADC) with a built-in programmable gain amplifier (PGA), internal reference, and an external oscillator interface.
The device incorporates commonly-required features in industrial metering applications. With high levels of integration and exceptional performance, the ADS130E08 enables the creation of scalable industrial power systems at significantly reduced size, power, and low overall cost.
The ADS130E08 has a flexible input multiplexer per channel that can be independently connected to the internally-generated signals for test, temperature, and fault detection. The ADS130E08 operates at a data rate of 8 kSPS. Fault detection can be implemented internal to the device using the integrated comparators with digital-to-analog converter (DAC)-controlled trigger levels.
Multiple devices can be cascaded in high channel count systems in a daisy-chain configuration. These complete analog front-end (AFE) solutions are packaged in a TQFP-64 package and specified over the industrial temperature range of –40°C to +105°C.
The ADS130E08 is a multi-channel, simultaneous sampling, 16-bit, delta-sigma (ΔΣ) analog-to-digital converter (ADC) with a built-in programmable gain amplifier (PGA), internal reference, and an external oscillator interface.
The device incorporates commonly-required features in industrial metering applications. With high levels of integration and exceptional performance, the ADS130E08 enables the creation of scalable industrial power systems at significantly reduced size, power, and low overall cost.
The ADS130E08 has a flexible input multiplexer per channel that can be independently connected to the internally-generated signals for test, temperature, and fault detection. The ADS130E08 operates at a data rate of 8 kSPS. Fault detection can be implemented internal to the device using the integrated comparators with digital-to-analog converter (DAC)-controlled trigger levels.
Multiple devices can be cascaded in high channel count systems in a daisy-chain configuration. These complete analog front-end (AFE) solutions are packaged in a TQFP-64 package and specified over the industrial temperature range of –40°C to +105°C. |
| Analog to Digital Converters (ADCs) Evaluation Boards | 5 | Active | |
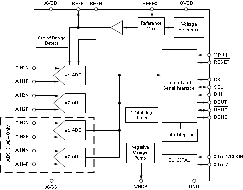
ADS131A0224-bit 128-kSPS 2-channel simultaneous-sampling delta-sigma ADC | Analog Front End (AFE) | 2 | Active | The ADS131A02 and ADS131A04 devices are two- and four-channel, simultaneous-sampling, 24-bit, delta-sigma (ΔΣ), analog-to-digital converters (ADCs). The wide dynamic range, with scalable data rates up to 128 kSPS, and internal fault monitors make the ADS131A02 or ADS131A04 a good choice when designing for energy monitoring, grid protection, and control applications. The ADC inputs can be independently and directly interfaced to a resistor-divider network, a current transformer, or a Rogowski coil to measure voltage or current. Flexible power-supply options, including an internal negative charge pump, are available to maximize the effective resolution for high dynamic range applications.
Asynchronous and synchronous master and slave interface options are available, providing ADC configuration flexibility when chaining multiple devices in a single system. Several interface checks, ADC startup checks, and data integrity checks can be enabled on the interface to report errors in the ADC and during data transfer.
The complete analog front-end (AFE) solutions are packaged in a 32-pin TQFP package and are specified over the industrial temperature range of –40°C to +125°C.
The ADS131A02 and ADS131A04 devices are two- and four-channel, simultaneous-sampling, 24-bit, delta-sigma (ΔΣ), analog-to-digital converters (ADCs). The wide dynamic range, with scalable data rates up to 128 kSPS, and internal fault monitors make the ADS131A02 or ADS131A04 a good choice when designing for energy monitoring, grid protection, and control applications. The ADC inputs can be independently and directly interfaced to a resistor-divider network, a current transformer, or a Rogowski coil to measure voltage or current. Flexible power-supply options, including an internal negative charge pump, are available to maximize the effective resolution for high dynamic range applications.
Asynchronous and synchronous master and slave interface options are available, providing ADC configuration flexibility when chaining multiple devices in a single system. Several interface checks, ADC startup checks, and data integrity checks can be enabled on the interface to report errors in the ADC and during data transfer.
The complete analog front-end (AFE) solutions are packaged in a 32-pin TQFP package and are specified over the industrial temperature range of –40°C to +125°C. |
ADS131A0424-bit 128-kSPS 4-channel simultaneous-sampling delta-sigma ADC | Integrated Circuits (ICs) | 1 | Active | The ADS131A02 and ADS131A04 devices are two- and four-channel, simultaneous-sampling, 24-bit, delta-sigma (ΔΣ), analog-to-digital converters (ADCs). The wide dynamic range, with scalable data rates up to 128 kSPS, and internal fault monitors make the ADS131A02 or ADS131A04 a good choice when designing for energy monitoring, grid protection, and control applications. The ADC inputs can be independently and directly interfaced to a resistor-divider network, a current transformer, or a Rogowski coil to measure voltage or current. Flexible power-supply options, including an internal negative charge pump, are available to maximize the effective resolution for high dynamic range applications.
Asynchronous and synchronous master and slave interface options are available, providing ADC configuration flexibility when chaining multiple devices in a single system. Several interface checks, ADC startup checks, and data integrity checks can be enabled on the interface to report errors in the ADC and during data transfer.
The complete analog front-end (AFE) solutions are packaged in a 32-pin TQFP package and are specified over the industrial temperature range of –40°C to +125°C.
The ADS131A02 and ADS131A04 devices are two- and four-channel, simultaneous-sampling, 24-bit, delta-sigma (ΔΣ), analog-to-digital converters (ADCs). The wide dynamic range, with scalable data rates up to 128 kSPS, and internal fault monitors make the ADS131A02 or ADS131A04 a good choice when designing for energy monitoring, grid protection, and control applications. The ADC inputs can be independently and directly interfaced to a resistor-divider network, a current transformer, or a Rogowski coil to measure voltage or current. Flexible power-supply options, including an internal negative charge pump, are available to maximize the effective resolution for high dynamic range applications.
Asynchronous and synchronous master and slave interface options are available, providing ADC configuration flexibility when chaining multiple devices in a single system. Several interface checks, ADC startup checks, and data integrity checks can be enabled on the interface to report errors in the ADC and during data transfer.
The complete analog front-end (AFE) solutions are packaged in a 32-pin TQFP package and are specified over the industrial temperature range of –40°C to +125°C. |
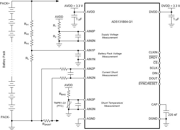
ADS131B04-Q1Automotive 24-bit, 32-kSPS, four-channel, simultaneous-sampling, delta-sigma ADC | Data Acquisition | 1 | Active | The ADS131B04-Q1 is a four-channel, simultaneous-sampling, 24-bit, delta-sigma (ΔΣ) analog-to-digital converter (ADC) that offers wide dynamic range, low power, and buffered analog inputs, making the device an excellent fit for automotive battery management systems (BMS). The ADC inputs can be directly interfaced to shunt resistors for bidirectional battery-current measurements, to resistor-divider networks for high-voltage measurements, or to temperature sensors (such as thermistors or analog output temperature sensors).
The individual ADC channels can be independently configured depending on the sensor input. A low-noise, programmable gain amplifier (PGA) provides gains ranging from 1 to 128 to amplify low-level signals. The device features a global-chop mode to remove offset drift over temperature and time. Additionally, this device integrates offset and gain calibration registers to help remove signal-chain errors.
A low-drift, 1.2-V reference and precision oscillator are integrated into the device reducing printed circuit board (PCB) area. Optional cyclic redundancy checks (CRCs) on the data input, data output, and register map maintain communication integrity.
The complete analog front-end (AFE) is offered in a 20-pin TSSOP package and is specified over the automotive temperature range of –40°C to +125°C.
The ADS131B04-Q1 is a four-channel, simultaneous-sampling, 24-bit, delta-sigma (ΔΣ) analog-to-digital converter (ADC) that offers wide dynamic range, low power, and buffered analog inputs, making the device an excellent fit for automotive battery management systems (BMS). The ADC inputs can be directly interfaced to shunt resistors for bidirectional battery-current measurements, to resistor-divider networks for high-voltage measurements, or to temperature sensors (such as thermistors or analog output temperature sensors).
The individual ADC channels can be independently configured depending on the sensor input. A low-noise, programmable gain amplifier (PGA) provides gains ranging from 1 to 128 to amplify low-level signals. The device features a global-chop mode to remove offset drift over temperature and time. Additionally, this device integrates offset and gain calibration registers to help remove signal-chain errors.
A low-drift, 1.2-V reference and precision oscillator are integrated into the device reducing printed circuit board (PCB) area. Optional cyclic redundancy checks (CRCs) on the data input, data output, and register map maintain communication integrity.
The complete analog front-end (AFE) is offered in a 20-pin TSSOP package and is specified over the automotive temperature range of –40°C to +125°C. |
ADS131B233 ADC channel, SPI, high-voltage battery pack monitor for current and voltage sensing | Analog to Digital Converters (ADC) | 1 | Active | The ADS131B23 is a fully integrated, high-voltage, battery-pack monitor for industrial battery management systems (BMS).
The ADS131B23 integrates two simultaneous-sampling, high-precision, 24-bit ADC channels (ADC1A, ADC1B) to redundantly measure battery current with high resolution and accuracy using an external shunt resistor. Two independent digital comparators enable fast overcurrent detection in parallel with the two ADCs.
An additional multiplexed, 16-bit ADC (ADC2A) is available to measure shunt temperature and other voltages in the system, such as battery-pack voltage, using external high-voltage resistor dividers. Shunt temperature is measured using an external temperature sensor, such as a thermistor or an analog output temperature sensor. ADC2A is equipped with a channel sequencer that automatically steps through the configured multiplexer inputs to reduce communication on the SPI.
The device integrates many monitoring and diagnostic features to mitigate and detect random hardware faults to aid in the development of functionally safe BMS.
Internal linear regulators with input ranges up to 16V support powering the device with unregulated DC/DC converters.
The ADS131B23 is offered in a 48-pin HTQFP package and is specified over the automotive temperature range of –40°C to +105°C.
The ADS131B23 is a fully integrated, high-voltage, battery-pack monitor for industrial battery management systems (BMS).
The ADS131B23 integrates two simultaneous-sampling, high-precision, 24-bit ADC channels (ADC1A, ADC1B) to redundantly measure battery current with high resolution and accuracy using an external shunt resistor. Two independent digital comparators enable fast overcurrent detection in parallel with the two ADCs.
An additional multiplexed, 16-bit ADC (ADC2A) is available to measure shunt temperature and other voltages in the system, such as battery-pack voltage, using external high-voltage resistor dividers. Shunt temperature is measured using an external temperature sensor, such as a thermistor or an analog output temperature sensor. ADC2A is equipped with a channel sequencer that automatically steps through the configured multiplexer inputs to reduce communication on the SPI.
The device integrates many monitoring and diagnostic features to mitigate and detect random hardware faults to aid in the development of functionally safe BMS.
Internal linear regulators with input ranges up to 16V support powering the device with unregulated DC/DC converters.
The ADS131B23 is offered in a 48-pin HTQFP package and is specified over the automotive temperature range of –40°C to +105°C. |
ADS131B24-Q1Automotive high-voltage battery-pack monitor with four ADC channels for current and voltage sensing | Power Management - Specialized | 1 | Active | The ADS131B24-Q1 is a fully integrated, high-voltage battery pack monitor for automotive electrical vehicle (EV) battery management systems (BMS).
The ADS131B24-Q1 integrates two simultaneous-sampling, high-precision, 24-bit ADC channels (ADC1A, ADC1B) to redundantly measure battery current with high resolution and accuracy using an external shunt resistor. Two independent digital comparators enable fast overcurrent detection in parallel with the two ADCs.
Additional two, multiplexed, 16-bit ADC channels (ADC2A, ADC2B) are available to measure shunt temperature and other voltages in the system, such as battery-pack voltage, using external high-voltage resistor dividers. Shunt temperature is measured using an external temperature sensor, such as a thermistor or an analog output temperature sensor. Each ADC is equipped with a channel sequencer that automatically steps through the configured multiplexer inputs to reduce communication on the SPI.
The device integrates many monitoring and diagnostic features to mitigate and detect random hardware faults to aid in the development of functionally safe BMS.
Internal linear regulators with input ranges up to 16V support powering the device with unregulated DC/DC converters.
The ADS131B24-Q1 is offered in a 48-pin HTQFP package and is specified over the automotive temperature range of –40°C to +105°C.
The ADS131B24-Q1 is a fully integrated, high-voltage battery pack monitor for automotive electrical vehicle (EV) battery management systems (BMS).
The ADS131B24-Q1 integrates two simultaneous-sampling, high-precision, 24-bit ADC channels (ADC1A, ADC1B) to redundantly measure battery current with high resolution and accuracy using an external shunt resistor. Two independent digital comparators enable fast overcurrent detection in parallel with the two ADCs.
Additional two, multiplexed, 16-bit ADC channels (ADC2A, ADC2B) are available to measure shunt temperature and other voltages in the system, such as battery-pack voltage, using external high-voltage resistor dividers. Shunt temperature is measured using an external temperature sensor, such as a thermistor or an analog output temperature sensor. Each ADC is equipped with a channel sequencer that automatically steps through the configured multiplexer inputs to reduce communication on the SPI.
The device integrates many monitoring and diagnostic features to mitigate and detect random hardware faults to aid in the development of functionally safe BMS.
Internal linear regulators with input ranges up to 16V support powering the device with unregulated DC/DC converters.
The ADS131B24-Q1 is offered in a 48-pin HTQFP package and is specified over the automotive temperature range of –40°C to +105°C. |
ADS131E0424-bit 64-kSPS 4-channel simultaneous-sampling delta-sigma ADC for power monitoring and protection | Integrated Circuits (ICs) | 2 | Active | The ADS131E0x are a family of multichannel, simultaneous sampling, 24-bit, delta-sigma (ΔΣ), analog-to-digital converters (ADCs) with a built-in programmable gain amplifier (PGA), internal reference, and an onboard oscillator. The ADC wide dynamic range, scalable data rates, and internal fault detect monitors make the ADS131E0x attractive in industrial power monitoring and protection as well as test and measurement applications. True high-impedance inputs enable the ADS131E0x to directly interface with a resistor-divider network or a voltage transformer to measure line voltage, or a current transformer or Rogowski coil to measure line current. With high integration levels and exceptional performance, the ADS131E0x family enables the creation of scalable industrial power systems at significantly reduced size, power, and low overall cost.
The ADS131E0x have a flexible input multiplexer per channel that can be independently connected to the internally-generated signals for test, temperature, and fault detection. Fault detection can be implemented internal to the device, using the integrated comparators with digital-to-analog converter (DAC)-controlled trigger levels. The ADS131E0x can operate at data rates as high as 64 kSPS.
These complete analog front-end (AFE) solutions are packaged in a TQFP-64 package and are specified over the industrial temperature range of –40°C to +105°C.
The ADS131E0x are a family of multichannel, simultaneous sampling, 24-bit, delta-sigma (ΔΣ), analog-to-digital converters (ADCs) with a built-in programmable gain amplifier (PGA), internal reference, and an onboard oscillator. The ADC wide dynamic range, scalable data rates, and internal fault detect monitors make the ADS131E0x attractive in industrial power monitoring and protection as well as test and measurement applications. True high-impedance inputs enable the ADS131E0x to directly interface with a resistor-divider network or a voltage transformer to measure line voltage, or a current transformer or Rogowski coil to measure line current. With high integration levels and exceptional performance, the ADS131E0x family enables the creation of scalable industrial power systems at significantly reduced size, power, and low overall cost.
The ADS131E0x have a flexible input multiplexer per channel that can be independently connected to the internally-generated signals for test, temperature, and fault detection. Fault detection can be implemented internal to the device, using the integrated comparators with digital-to-analog converter (DAC)-controlled trigger levels. The ADS131E0x can operate at data rates as high as 64 kSPS.
These complete analog front-end (AFE) solutions are packaged in a TQFP-64 package and are specified over the industrial temperature range of –40°C to +105°C. |
ADS131E08S24-bit 64-kSPS 8-channel simultaneous-sampling delta-sigma ADC for power monitoring and protection | Data Acquisition | 3 | Active | The ADS131E08S is a multichannel, simultaneous sampling, 24-bit, delta-sigma (ΔΣ), analog-to-digital converter (ADC) with built-in programmable gain amplifiers (PGAs), an internal reference, and an internal oscillator. The ADC wide dynamic range, scalable data rates, and internal fault detect monitors make the ADS131E08S very attractive in industrial power monitoring, control, and protection applications. Fast power-up time allows data to be available within 3 ms of power being applied to the device for line-powered power applications. True high-impedance inputs enable the ADS131E08S to directly interface with a resistor-divider network or a voltage transformer to measure line voltage, or a current transformer or Rogowski coil to measure line current. With high integration levels and exceptional performance, the ADS131E08S enables the creation of scalable industrial power systems at a significantly reduced size, power, and overall cost.
The ADS131E08S has an individual input multiplexer per channel that can be independently connected to the internally-generated signals for test, temperature, and fault detection. Fault detection can be implemented internal to the device, using the integrated comparators with digital-to-analog converter (DAC)-controlled trigger levels. The ADS131E08S can operate at data rates as high as 64 kSPS.
The complete analog front-end (AFE) solution is available in a 64-pin TQFP package and is specified over the industrial temperature range of –40°C to +105°C.
The ADS131E08S is a multichannel, simultaneous sampling, 24-bit, delta-sigma (ΔΣ), analog-to-digital converter (ADC) with built-in programmable gain amplifiers (PGAs), an internal reference, and an internal oscillator. The ADC wide dynamic range, scalable data rates, and internal fault detect monitors make the ADS131E08S very attractive in industrial power monitoring, control, and protection applications. Fast power-up time allows data to be available within 3 ms of power being applied to the device for line-powered power applications. True high-impedance inputs enable the ADS131E08S to directly interface with a resistor-divider network or a voltage transformer to measure line voltage, or a current transformer or Rogowski coil to measure line current. With high integration levels and exceptional performance, the ADS131E08S enables the creation of scalable industrial power systems at a significantly reduced size, power, and overall cost.
The ADS131E08S has an individual input multiplexer per channel that can be independently connected to the internally-generated signals for test, temperature, and fault detection. Fault detection can be implemented internal to the device, using the integrated comparators with digital-to-analog converter (DAC)-controlled trigger levels. The ADS131E08S can operate at data rates as high as 64 kSPS.
The complete analog front-end (AFE) solution is available in a 64-pin TQFP package and is specified over the industrial temperature range of –40°C to +105°C. |
ADS131M02Two-channel, 24-bit, 64-kSPS, simultaneous-sampling, delta-sigma ADC | Data Acquisition | 4 | Active | The ADS131M02 is a two-channel, simultaneously-sampling, 24-bit, delta-sigma (ΔΣ), analog-to-digital converter (ADC) that offers wide dynamic range, low power, and energy-measurement-specific features, making the device an excellent fit for energy metering, power metrology, and circuit breaker applications. The ADC inputs can be directly interfaced to a resistor-divider network or a power transformer to measure voltage or to a current transformer, shunt, or a Rogowski coil to measure current.
The individual ADC channels can be independently configured depending on the sensor input. A low-noise, programmable gain amplifier (PGA) provides gains ranging from 1 to 128 to amplify low-level signals. Additionally, this device integrates channel-to-channel phase calibration and offset and gain calibration registers to help remove signal-chain errors.
A low-drift, 1.2-V reference is integrated into the device reducing printed circuit board (PCB) area. Optional cyclic redundancy checks (CRCs) on the data input, data output, and register map maintain communication integrity.
The complete analog front-end (AFE) is offered in a 20-pin TSSOP package or a leadless 20-pin WQFN package and is specified over the industrial temperature range of –40°C to +125°C.
The ADS131M02 is a two-channel, simultaneously-sampling, 24-bit, delta-sigma (ΔΣ), analog-to-digital converter (ADC) that offers wide dynamic range, low power, and energy-measurement-specific features, making the device an excellent fit for energy metering, power metrology, and circuit breaker applications. The ADC inputs can be directly interfaced to a resistor-divider network or a power transformer to measure voltage or to a current transformer, shunt, or a Rogowski coil to measure current.
The individual ADC channels can be independently configured depending on the sensor input. A low-noise, programmable gain amplifier (PGA) provides gains ranging from 1 to 128 to amplify low-level signals. Additionally, this device integrates channel-to-channel phase calibration and offset and gain calibration registers to help remove signal-chain errors.
A low-drift, 1.2-V reference is integrated into the device reducing printed circuit board (PCB) area. Optional cyclic redundancy checks (CRCs) on the data input, data output, and register map maintain communication integrity.
The complete analog front-end (AFE) is offered in a 20-pin TSSOP package or a leadless 20-pin WQFN package and is specified over the industrial temperature range of –40°C to +125°C. |