S
STMicroelectronics
| Series | Category | # Parts | Status | Description |
|---|---|---|---|---|
| Part | Spec A | Spec B | Spec C | Spec D | Description |
|---|---|---|---|---|---|
| Series | Category | # Parts | Status | Description |
|---|---|---|---|---|
| Part | Spec A | Spec B | Spec C | Spec D | Description |
|---|---|---|---|---|---|
| Part | Category | Description |
|---|---|---|
STMicroelectronics STEVAL-ISA068V1Obsolete | Development Boards Kits Programmers | EVAL BOARD FOR ST1S32 |
STMicroelectronics 74VCXHQ163245TTRObsolete | Integrated Circuits (ICs) | IC TRANSLATION TXRX 2.7V 48TSSOP |
STMicroelectronics | Development Boards Kits Programmers | VNQ9050LAJ EVALUATION BOARD |
STMicroelectronics LSM303DLHCTRObsolete | Sensors Transducers | IMU ACCEL/MAG 3-AXIS I2C 14LGA |
STMicroelectronics M93C56-WMN6TObsolete | Integrated Circuits (ICs) | EEPROM SERIAL-MICROWIRE 2K-BIT 256 X 8/128 X 16 3.3V/5V 8-PIN SO N T/R |
STMicroelectronics | Integrated Circuits (ICs) | STM32U |
STMicroelectronics TS831-3IZObsolete | Integrated Circuits (ICs) | IC SUPERVISOR 1 CHANNEL TO92-3 |
STMicroelectronics STMPE1208SQTRObsolete | Integrated Circuits (ICs) | IC I/O EXPANDER I2C 12B 40QFN |
STMicroelectronics STM32L1-MAGNETObsolete | Development Boards Kits Programmers | IAR EXPERIMENT STM32 L1 EVAL BRD |
STMicroelectronics VNB35N07Obsolete | Integrated Circuits (ICs) | IC PWR DRIVER N-CHAN 1:1 D2PAK |
| Series | Category | # Parts | Status | Description |
|---|---|---|---|---|
VNF9Q20F4 channel high-side driver with STi2Fuse protection for automotive power distribution applications | Power Management (PMIC) | 1 | Active | The VNF9Q20F is a device made using STMicroelectronics VIPower technology. It is intended for driving resistive or inductive loads directly connected to the ground.
The device is protected against voltage transients on the VCC pin. Programming, control, and diagnostics are implemented via the SPI bus. A digital current sense feedback for each channel is provided through an integrated 10-bit ADC. Dedicated trimming bits allow adjusting the ADC reference current.
The device is equipped with 4 outputs controllable via SPI or 2-OTP assignable direct inputs. Real-time diagnostic is available through the SPI bus (open-load, output short to VCC, overtemperature, communication error, power limitation or latch off). The device detects open-load in OFF-state conditions.
The VNF9Q20F embeds the STMicroelectronics proprietary I²t functionality, featuring an intelligent circuit breaking aimed at protecting PCB traces, connectors and wire harness from overheating, with no impact on load transients like inrush currents and capacitance charging. This function is set by two parameters called INOM and tNOM: there are 3 dedicated bits, per each parameter, to set respectively INOM (nominal current) and tNOM (nominal timing). The I²t curve parameters can be individually set per each channel.
The VNF9Q20F can limit the dissipated power to a safe level up to thermal shutdown intervention. Thermal shutdown can be configured as latched off or programmable time limited auto restart.
The output current limitation protects the device in case of overload.
The device enters a fail-safe mode in case of communication loss with the microcontroller, reset of digital memory or watchdog monitoring time-out event. In fail-safe mode, the 4 outputs can be directly controlled by dedicated, assignable direct inputs.
It is also possible to configure the VNF9Q20F in parallel mode (CH0//CH1 only) through a dedicated OTP bit.
The VNF9Q20F features an operative condition called capacitive charging mode (CCM), which is available in both fail-safe and normal device states and with channels configured in bulb mode. |
| Power Management (PMIC) | 1 | Obsolete | ||
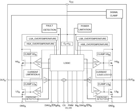
VNH3SP30-EAUTOMOTIVE FULLY INTEGRATED H-BRIDGE MOTOR DRIVER | Power Management (PMIC) | 1 | Active | The VNH3SP30-E is a full-bridge motor driver intended for a wide range of automotive applications. The device incorporates a dual monolithic high-side driver (HSD) and two low-side switches. The HSD switch is designed using STMicroelectronics proprietary VIPower™ M0-3 technology that efficiently integrates a true Power MOSFET with an intelligent signal/protection circuit on the same die.
The low-side switches are vertical MOSFETs manufactured using STMicroelectronics proprietary EHD ("STripFET™") process. The three circuits are assembled in a MultiPowerSO-30 package on electrically isolated lead frames. This package, specifically designed for the harsh automotive environment, offers improved thermal performance thanks to exposed die pads. Moreover, its fully symmetrical mechanical design provides superior manufacturability at board level. The input signals INAand INBcan directly interface with the microcontroller to select the motor direction and the brake condition. Pins DIAGA/ENAor DIAGB/ENB, when connected to an external pull-up resistor, enable one leg of the bridge. They also provide a feedback digital diagnostic signal. The normal operating conditions are explained in the truth table. The speed of the motor can be controlled in all possible conditions by the PWM up to kHz. In all cases, a low level state on the PWM pin will turn off both the LSAand LSBswitches. When PWM rises to a high level, LSAor LSBwill turn on again depending on the state of the input pin. |
| Motor Drivers, Controllers | 1 | Unknown | ||
VNH5019A-EAutomotive fully integrated H-bridge motor driver | Integrated Circuits (ICs) | 1 | Active | The VHN5019A-E is a full bridge motor driver intended for a wide range of automotive applications. The device incorporates a dual monolithic high-side drivers and two low-side switches. The high-side driver switch is designed using STMicroelectronics’ well known and proven proprietary VIPower®M0 technology that allows to efficiently integrate on the same die a true Power MOSFET with an intelligent signal/protection circuit.
The three dice are assembled in a MultiPowerSO-30 package on electrically isolated lead-frames. This package, specifically designed for harsh automotive environments offers improved thermal performance thanks to exposed die pads. The input signals INAand INBcan directly interface the microcontroller to select the motor direction and the brake condition.
The DIAGA/ENAor DIAGB/ENB, when connected to an external pull-up resistor, enables one leg of the bridge. It also provides a feedback digital diagnostic signal. The CS pin allows to monitor the motor current by delivering a current proportional to its value when CS_DIS pin is driven low or left open. The PWM, up to 20 KHz, lets us control the speed of the motor in all possible conditions. In all cases, a low-level state on the PWM pin turns off both the LSAand LSBswitches. When PWM rises to a high-level, LSAor LSBturns on again depending on the input pin state. Output current limitation and thermal shutdown protects the concerned high-side in short to ground condition.
The short to battery condition is revealed by the overload detector or by thermal shutdown that latches off the relevant low-side.
Active VCCpin voltage clamp protect the device against low energy spikes in all configurations for the motor. The CP pin provides the necessary gate drive for an external N-channel PowerMOS used for reverse polarity protection. |
| Integrated Circuits (ICs) | 1 | Obsolete | ||
VNH5050A-EAutomotive fully integrated H-bridge motor driver | Power Management (PMIC) | 1 | Active | The VNH5050A-E is a full bridge motor driver intended for a wide range of automotive applications. The device incorporates a dual monolithic high-side driver and two low-side switches. All switches are designed using STMicroelectronics®well known and proven proprietary VIPower®M0 technology that allows to efficiently integrate on the same die a true Power MOSFET with an intelligent signal/protection circuitry. The three dies are assembled in a PowerSSO-36 TP package on electrically isolated lead frames. This package, specifically designed for the harsh automotive environment offers improved thermal performance thanks to exposed die pads. Moreover, its fully symmetrical mechanical design allows superior manufacturability at board level. The input signals INAand INBcan directly interface to the microcontroller to select the motor direction and the brake condition. The DIAGA/ENAor DIAGB/ENB, when connected to an external pull-up resistor, enables one leg of the bridge. Each DIAGA/ENAprovides a digital diagnostic feedback signal as well. The normal operating condition is explained in the truth table. The CS pin allows monitoring the motor current by delivering a current proportional to its value when CS_DIS pin is driven low or left open. When CS_DIS is driven high, CS pin is in high impedance condition. The PWM, up to 20 KHz, allows to control the speed of the motor in all possible conditions. In all cases, a low level state on the PWM pin turns off both the LSAand LSBswitches. |
| Power Management (PMIC) | 2 | Active | ||
VNH5200AS-EAutomotive fully integrated H-bridge motor driver | Motor Drivers, Controllers | 1 | Active | The VNH5200AS-E is a full bridge motor driver intended for a wide range of automotive applications. The device incorporates a dual monolithic high-side driver and two low-side switches.
Both switches are designed using STMicroelectronics’ well known and proven proprietary VIPower®M0 technology that allows to efficiently integrate on the same die a true Power MOSFET with an intelligent signal/protection circuitry. The three dies are assembled in SO-16N package on electrically isolated leadframes. Moreover, its fully symmetrical mechanical design allows superior manufacturability at board level. The input signals INAand INBcan directly interface the microcontroller to select the motor direction and the brake condition. The DIAGA/ENAor DIAGB/ENB, when connected to an external pull-up resistor, enables one leg of the bridge. Each DIAGA/ENAprovides a feedback digital diagnostic signal as well. The normal operating condition is explained in the truth table. The CS pin allows to monitor the motor current by delivering a current proportional to its value. |
| FETs, MOSFETs | 1 | Obsolete | ||