R
Renesas Electronics Corporation
| Series | Category | # Parts | Status | Description |
|---|---|---|---|---|
| Part | Spec A | Spec B | Spec C | Spec D | Description |
|---|---|---|---|---|---|
| Series | Category | # Parts | Status | Description |
|---|---|---|---|---|
| Part | Spec A | Spec B | Spec C | Spec D | Description |
|---|---|---|---|---|---|
| Part | Category | Description |
|---|---|---|
Renesas Electronics Corporation | Integrated Circuits (ICs) | IC MCU 32BIT 1MB FLASH 48LFQFP |
Renesas Electronics Corporation | Integrated Circuits (ICs) | 16-BIT GENERAL MCU RL78/G23 96K |
Renesas Electronics Corporation | Isolators | OPTOISOLATOR 5KV TRANS 4SMD |
Renesas Electronics Corporation | Integrated Circuits (ICs) | IC REG PQFN |
Renesas Electronics Corporation X1228S14-2.7Obsolete | Integrated Circuits (ICs) | IC RTC CLK/CALENDAR I2C 14SOIC |
Renesas Electronics Corporation | Integrated Circuits (ICs) | 32-BIT MICROCONTROLLER OPTIMIZED FOR DUAL-MOTOR AND PFC CONTROL |
Renesas Electronics Corporation R5F104FJAFP#V0Obsolete | Integrated Circuits (ICs) | LOW POWER, HIGH FUNCTION, GENERAL PURPOSE MICROCONTROLLERS FOR MOTOR CONTROL, INDUSTRIAL AND METERING APPLICATIONS |
Renesas Electronics Corporation MK1493-03BGILFTRObsolete | Integrated Circuits (ICs) | IC CLOCK GENERATOR 48TSSOP |
Renesas Electronics Corporation | Development Boards Kits Programmers | E10A-USB SH4AL-DSP LICENSE TOOL |
Renesas Electronics Corporation | Integrated Circuits (ICs) | 32BIT MCU R32C/100X |
| Series | Category | # Parts | Status | Description |
|---|---|---|---|---|
| Specialized ICs | 3 | Obsolete | ||
| Data Acquisition | 16 | Obsolete | ||
X9110Single Digitally Controlled (XDCP™) Potentiometer | Integrated Circuits (ICs) | 7 | Obsolete | The X9110 integrates a Single Digitally Controlled Potentiometer (XDCP) on a monolithic CMOS integrated circuit. The digital controlled potentiometer is implemented using 1023 resistive elements in a series array. Between each element are tap points connected to the wiper terminal through switches. The position of the wiper on the array is controlled by the user through the SPI bus interface. The potentiometer has associated with it a volatile Wiper Counter Register (WCR) and four non-volatile Data Registers that can be directly written to and read by the user. The contents of the WCR controls the position of the wiper on the resistor array though the switches. Power-up recalls the contents of the default data register (DR0) to the WCR. The XDCP can be used as a three-terminal potentiometer or as a two terminal variable resistor in a wide variety of applications including control, parameter adjustments and signal processing. |
| Integrated Circuits (ICs) | 6 | Obsolete | ||
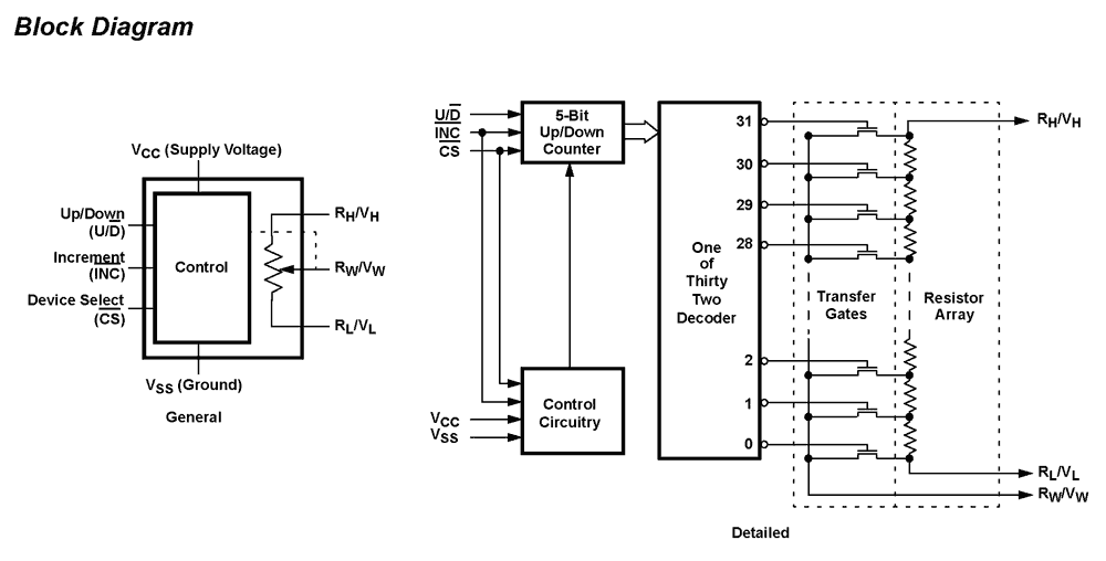
X9116Digitally Controlled Potentiometer (XDCP™) | Digital Potentiometers | 8 | Obsolete | The Intersil X9116 is a digitally controlled nonvolatile potentiometer designed to be used in trimmer applications. The pot consists of 15 equal resistor segments that connect to the wiper pin through programmable CMOS switches. The tap position is programmed through a 3-wire up/down serial port. The last position of the wiper is stored in a nonvolatile memory location which is recalled at the time of power up of the device. The wiper moves through sequential tap positions with inputs on the serial port. A falling edge on INC (bar) causes the tap position to increment one position up or down based on whether the U/D (bar) pin is held high or low. The X9116 can be used in many applications requiring a variable resistance. In many cases it can replace a mechanical trimmer and offers many advantages such as temperature and time stability as well as the reliability of a solid state solution. |
X9118Dual Supply/Low Power/1024-Tap/2-Wire Bus Single Digitally-Controlled (XDCP™) Potentiometer | Integrated Circuits (ICs) | 5 | Obsolete | The X9118 is a single digitally controlled potentiometer (XDCP) on a monolithic CMOS integrated circuit. The digital controlled potentiometer is implemented using 1023 resistive elements in a series array. Between each element are tap points connected to the wiper terminal through switches. The position of the wiper on the array is controlled by the user through the 2-wire bus interface. The potentiometer has associated with it a volatile Wiper Counter Register (WCR) and a four non-volatile Data Registers that can be directly written to and read by the user. The contents of the WCR controls the position of the wiper on the resistor array though the switches. Power-up recalls the contents of the default data register (DR0) to the WCR. The XDCP can be used as a three-terminal potentiometer or as a two terminal variable resistors in a wide variety of applications including control, parameter adjustments, and signal processing. |
| Digital Potentiometers | 5 | Obsolete | ||
| Data Acquisition | 8 | Obsolete | ||
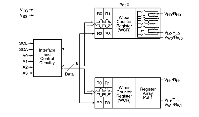
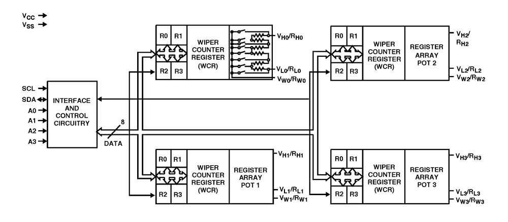
X9241AQuad Digital Controlled Potentiometers (XDCP™), Non-Volatile/Low Power/2-Wire/64 Taps | Integrated Circuits (ICs) | 31 | Active | The X9241A integrates four digitally controlled potentiometers (XDCP) on a monolithic CMOS integrated microcircuit. The digitally controlled potentiometer is implemented using 63 resistive elements in a series array. Between each element are tap points connected to the wiper terminal through switches. The position of the wiper on the array is controlled by the user through the 2-wire bus interface. Each potentiometer has associated with it a volatile Wiper Counter Register (WCR) and 4 nonvolatile Data Registers (DR0:DR3) that can be directly written to and read by the user. The contents of the WCR controls the position of the wiper on the resistor array through the switches. Power up recalls the contents of DR0 to the WCR. The XDCP can be used as a three-terminal potentiometer or as a two-terminal variable resistor in a wide variety of applications including control, parameter adjustments, and signal processing. |
X9250Quad Digitally Controlled Potentiometer (XDCP™) | Integrated Circuits (ICs) | 22 | Active | The X9250 integrates 4 digitally controlled potentiometers (XDCP) on a monolithic CMOS integrated circuit. The digitally controlled potentiometer is implemented using 255 resistive elements in a series array. Between each element are tap points connected to the wiper terminal through switches. The position of the wiper on the array is controlled by the user through the SPI bus interface. Each potentiometer has associated with it a volatile Wiper Counter Register (WCR) and 4 nonvolatile Data Registers (DR0:DR3) that can be directly written to and read by the user. The contents of the WCR controls the position of the wiper on the resistor array though the switches. Power up recalls the contents of DR0 to the WCR. The XDCP can be used as a three-terminal potentiometer or as a two-terminal variable resistor in a wide variety of applications including control, parameter adjustments, and signal processing. |