R
Renesas Electronics Corporation
| Series | Category | # Parts | Status | Description |
|---|---|---|---|---|
| Part | Spec A | Spec B | Spec C | Spec D | Description |
|---|---|---|---|---|---|
| Series | Category | # Parts | Status | Description |
|---|---|---|---|---|
| Part | Spec A | Spec B | Spec C | Spec D | Description |
|---|---|---|---|---|---|
| Series | Category | # Parts | Status | Description |
|---|---|---|---|---|
| Integrated Circuits (ICs) | 45 | Active | ||
| Data Acquisition | 3 | Obsolete | ||
| Digital Potentiometers | 2 | Obsolete | ||
| Data Acquisition | 6 | Obsolete | ||
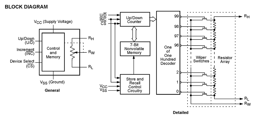
X9317Digitally Controlled Potentiometer (XDCP™) | Digital Potentiometers | 78 | Active | The X9317 is a digitally controlled potentiometer (XDCP™). The device consists of a resistor array, wiper switches, a control section, and nonvolatile memory. The wiper position is controlled by a 3-wire interface. The potentiometer is implemented by a resistor array composed of 99 resistive elements and a wiper switching network. Between each element and at either end are tap points accessible to the wiper terminal. The position of the wiper element is controlled by the CS, U/D, and INC inputs. The position of the wiper can be stored in nonvolatile memory and then be recalled upon a subsequent power-up operation. The device can be used as a three-terminal potentiometer for voltage control or as a two-terminal variable resistor for current control in a wide variety of applications. |
X9318Digitally Controlled Potentiometer (XDCP™) | Data Acquisition | 6 | Active | The Intersil X9318 is a digitally controlled potentiometer (XDCP). The device consists of a resistor array, wiper switches, a control section, and nonvolatile memory. The wiper position is controlled by a 3-wire interface. The potentiometer is implemented by a resistor array composed of 99 resistive elements and a wiper switching network. Between each element and at either end are tap points accessible to the wiper terminal. The position of the wiper element is controlled by the CS, U/D, and INC inputs. The position of the wiper can be stored in nonvolatile memory and then be recalled upon a subsequent power-up operation. The device can be used as a three-terminal potentiometer for voltage control or as a two-terminal variable resistor for current control in a wide variety of applications. |
X9319Digitally Controlled Potentiometer (XDCP™) | Digital Potentiometers | 9 | Obsolete | The Intersil X9319 is a digitally controlled potentiometer (XDCP). The device consists of a resistor array, wiper switches, a control section, and nonvolatile memory. The wiper position is controlled by a 3-wire interface. The potentiometer is implemented by a resistor array composed of 99 resistive elements and a wiper switching network. Between each element and at either end are tap points accessible to the wiper terminal. The position of the wiper element is controlled by the CS, U/D, and INC inputs. The position of the wiper can be stored in nonvolatile memory and then be recalled upon a subsequent power-up operation. The device can be used as a three-terminal potentiometer for voltage control or as a two-terminal variable resistor for current control in a wide variety of applications. |
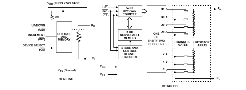
X93256Dual Digitally Controlled Potentiometers (XDCPs™) | Data Acquisition | 4 | Obsolete | The Intersil X93256 is a dual digitally controlled potentiometer (XDCP). The device consists of two resistor arrays, wiper switches, a control section, and nonvolatile memory. The wiper positions are controlled by individual Up/Down interfaces. A potentiometer is implemented by a resistor array composed of 31 resistive elements and a wiper switching network. The position of each wiper element is controlled by a set of independent CS, U/D, and INC inputs. The position of the wiper can be stored in nonvolatile memory and then be recalled upon a subsequent power-up operation. Each potentiometer is connected as a three-terminal variable resistor and can be used in a wide variety of applications including: |
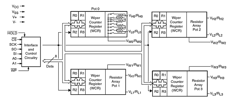
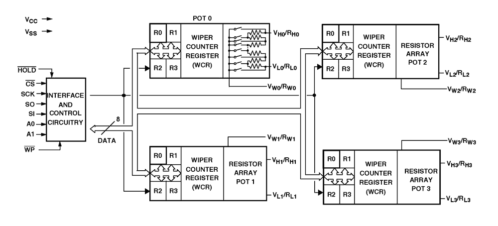
X9400Quad Digitally Controlled Potentiometers (XDCP™) | Digital Potentiometers | 14 | Obsolete | The X9400 integrates four digitally controlled potentiometers (XDCPs) on a monolithic CMOS integrated circuit. The digitally controlled potentiometer is implemented using 63 resistive elements in a series array. Between each element are tap points connected to the wiper terminal through switches. The position of the wiper on the array is controlled by the user through the SPI serial bus interface. Each potentiometer has associated with it a volatile Wiper Counter Register (WCR) and four nonvolatile Data Registers (DR0-3) that can be directly written to and read by the user. The contents of the WCR controls the position of the wiper on the resistor array through the switches. Power-up recalls the contents of DR0 to the WCR. The XDCP can be used as a three-terminal potentiometer or as a two-terminal variable resistor in a wide variety of applications including control, parameter adjustments, and signal processing. |
| Integrated Circuits (ICs) | 8 | Obsolete | ||
| Part | Category | Description |
|---|---|---|
Renesas Electronics Corporation | Integrated Circuits (ICs) | IC MCU 32BIT 1MB FLASH 48LFQFP |
Renesas Electronics Corporation | Integrated Circuits (ICs) | 16-BIT GENERAL MCU RL78/G23 96K |
Renesas Electronics Corporation | Isolators | OPTOISOLATOR 5KV TRANS 4SMD |
Renesas Electronics Corporation | Integrated Circuits (ICs) | IC REG PQFN |
Renesas Electronics Corporation X1228S14-2.7Obsolete | Integrated Circuits (ICs) | IC RTC CLK/CALENDAR I2C 14SOIC |
Renesas Electronics Corporation | Integrated Circuits (ICs) | 32-BIT MICROCONTROLLER OPTIMIZED FOR DUAL-MOTOR AND PFC CONTROL |
Renesas Electronics Corporation R5F104FJAFP#V0Obsolete | Integrated Circuits (ICs) | LOW POWER, HIGH FUNCTION, GENERAL PURPOSE MICROCONTROLLERS FOR MOTOR CONTROL, INDUSTRIAL AND METERING APPLICATIONS |
Renesas Electronics Corporation MK1493-03BGILFTRObsolete | Integrated Circuits (ICs) | IC CLOCK GENERATOR 48TSSOP |
Renesas Electronics Corporation | Development Boards Kits Programmers | E10A-USB SH4AL-DSP LICENSE TOOL |
Renesas Electronics Corporation | Integrated Circuits (ICs) | 32BIT MCU R32C/100X |