R
Renesas Electronics Corporation
| Series | Category | # Parts | Status | Description |
|---|---|---|---|---|
| Part | Spec A | Spec B | Spec C | Spec D | Description |
|---|---|---|---|---|---|
| Series | Category | # Parts | Status | Description |
|---|---|---|---|---|
| Part | Spec A | Spec B | Spec C | Spec D | Description |
|---|---|---|---|---|---|
| Part | Category | Description |
|---|---|---|
Renesas Electronics Corporation | Integrated Circuits (ICs) | IC MCU 32BIT 1MB FLASH 48LFQFP |
Renesas Electronics Corporation | Integrated Circuits (ICs) | 16-BIT GENERAL MCU RL78/G23 96K |
Renesas Electronics Corporation | Isolators | OPTOISOLATOR 5KV TRANS 4SMD |
Renesas Electronics Corporation | Integrated Circuits (ICs) | IC REG PQFN |
Renesas Electronics Corporation X1228S14-2.7Obsolete | Integrated Circuits (ICs) | IC RTC CLK/CALENDAR I2C 14SOIC |
Renesas Electronics Corporation | Integrated Circuits (ICs) | 32-BIT MICROCONTROLLER OPTIMIZED FOR DUAL-MOTOR AND PFC CONTROL |
Renesas Electronics Corporation R5F104FJAFP#V0Obsolete | Integrated Circuits (ICs) | LOW POWER, HIGH FUNCTION, GENERAL PURPOSE MICROCONTROLLERS FOR MOTOR CONTROL, INDUSTRIAL AND METERING APPLICATIONS |
Renesas Electronics Corporation MK1493-03BGILFTRObsolete | Integrated Circuits (ICs) | IC CLOCK GENERATOR 48TSSOP |
Renesas Electronics Corporation | Development Boards Kits Programmers | E10A-USB SH4AL-DSP LICENSE TOOL |
Renesas Electronics Corporation | Integrated Circuits (ICs) | 32BIT MCU R32C/100X |
| Series | Category | # Parts | Status | Description |
|---|---|---|---|---|
| Supervisors | 2 | Obsolete | ||
| Power Management (PMIC) | 3 | Obsolete | ||
| Supervisors | 1 | Obsolete | ||
| PMIC | 3 | Obsolete | ||
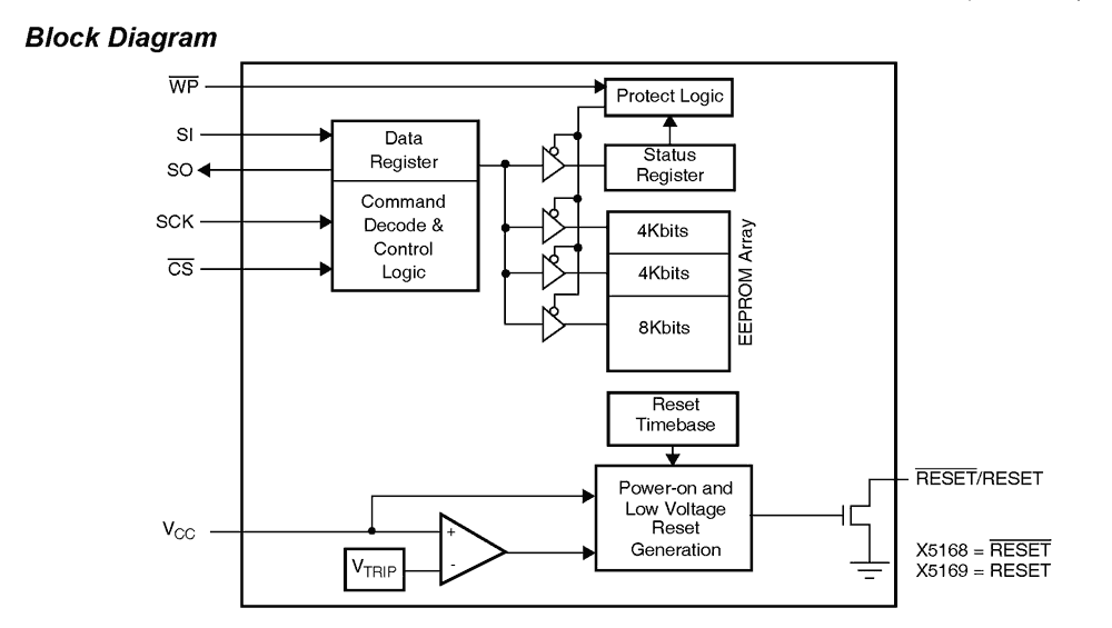
X5043CPU Supervisor with 4k SPI EEPROM | PMIC | 23 | Active | These devices combine four popular functions, Power-on Reset Control, Watchdog Timer, Supply Voltage Supervision, and Block Lock Protect Serial EEPROM Memory in one package. This combination lowers system cost, reduces board space requirements, and increases reliability. Applying power to the device activates the power-on reset circuit which holds RESET/RESET active for a period of time. This allows the power supply and oscillator to stabilize before the processor executes code. The Watchdog Timer provides an independent protection mechanism for microcontrollers. When the microcontroller fails to restart a timer within a selectable time out interval, the device activates the RESET/RESET signal. The user selects the interval from three preset values. Once selected, the interval does not change, even after cycling the power. The Device's low VCCdetection circuitry protects the user's system from low voltage conditions, resetting the system when VCCfalls below the minimum VCCtrip point. RESET/RESET is asserted until VCCreturns to proper operating level and stabilizes. Four industry standard VTRIPthresholds are available, however, Intersil's unique circuits allow the threshold to be reprogrammed to meet custom requirements or to fine-tune the threshold for applications requiring higher precision. The memory portion of the device is a CMOS Serial EEPROM array with Intersil's block lock protection. The array is internally organized as 512 x 8. The device features a Serial Peripheral Interface (SPI) and software protocol allowing operation on a simple four-wire bus. The device utilizes Intersil's proprietary Direct Write™ cell, providing a minimum endurance of 100, 000 cycles and a minimum data retention of 100 years. |
X5045CPU Supervisor with 4k SPI EEPROM | PMIC | 18 | Active | These devices combine four popular functions, Power-on Reset Control, Watchdog Timer, Supply Voltage Supervision, and Block Lock Protect Serial EEPROM Memory in one package. This combination lowers system cost, reduces board space requirements, and increases reliability. Applying power to the device activates the power-on reset circuit which holds RESET/RESET active for a period of time. This allows the power supply and oscillator to stabilize before the processor executes code. The Watchdog Timer provides an independent protection mechanism for microcontrollers. When the microcontroller fails to restart a timer within a selectable time out interval, the device activates the RESET/RESET signal. The user selects the interval from three preset values. Once selected, the interval does not change, even after cycling the power. The Device's low VCCdetection circuitry protects the user's system from low voltage conditions, resetting the system when VCCfalls below the minimum VCCtrip point. RESET/RESET is asserted until VCCreturns to proper operating level and stabilizes. Four industry standard VTRIPthresholds are available, however, Intersil's unique circuits allow the threshold to be reprogrammed to meet custom requirements or to fine-tune the threshold for applications requiring higher precision. The memory portion of the device is a CMOS Serial EEPROM array with Intersil's block lock protection. The array is internally organized as 512 x 8. The device features a Serial Peripheral Interface (SPI) and software protocol allowing operation on a simple four-wire bus. The device utilizes Intersil's proprietary Direct Write™ cell, providing a minimum endurance of 100, 000 cycles and a minimum data retention of 100 years. |
| Power Management (PMIC) | 7 | Obsolete | ||
| Power Management (PMIC) | 1 | Obsolete | ||
| Power Management (PMIC) | 2 | Obsolete | ||
X5323CPU Supervisor with 32Kb SPI EEPROM | Integrated Circuits (ICs) | 7 | Obsolete | These devices combine four popular functions, Power-on Reset Control, Watchdog Timer, Supply Voltage Supervision, and Block Lock Protect Serial EEPROM Memory in one package. This combination lowers system cost, reduces board space requirements, and increases reliability. Applying power to the device activates the power-on reset circuit which holds RESET/RESET active for a period of time. This allows the power supply and oscillator to stabilize before the processor can execute code. The Watchdog Timer provides an independent protection mechanism for microcontrollers. When the microcontroller fails to restart a timer within a selectable time out interval, the device activates the RESET/RESET signal. The user selects the interval from three preset values. Once selected, the interval does not change, even after cycling the power. The Device's low VCCdetection circuitry protects the user's system from low voltage conditions, resetting the system when VCCfalls below the minimum VCCtrip point. RESET/RESET is asserted until VCCreturns to proper operating level and stabilizes. Five industry standardTRIPthresholds are available, however, Intersil's unique circuits allow the threshold to be reprogrammed to meet custom requirements or to fine-tune the threshold for applications requiring higher precision. |