| Amplifiers | 2 | Active | |
AD648Dual Precision, Low Power BiFET Op Amp | Amplifiers | 7 | Active | The AD648 is a matched pair of low power, precision monolithic operational amplifiers. It offers both low bias current (10 pA max, warmed up) and low quiescent current (400 µA max) and is fabricated with ion-implanted FET and laser wafer trimming technologies. Input bias current is guaranteed over the AD648's entire common-mode voltage range.The economical J grade has a maximum guaranteed offset voltage of less than 2 mV and an offset voltage drift of less than 20 µV/°C. The combination of low quiescent current and low offset voltage drift minimizes changes in input offset voltage due to self-heating effects.The AD648 is recommended for any dual supply op amp application requiring low power and excellent dc and ac performance. In applications such as battery-powered, precision instrument front ends and CMOS DAC buffers, the AD648's excellent combination of low input offset voltage and drift, low bias current and low 1/f noise reduces output errors. High common-mode rejection and high open-loop gain ensures better than 12-bit linearity in high impedance, buffer applications.The AD648 is pinned out in a standard dual op amp configuration and is available in seven performance grades. The AD648J and AD648K are rated over the commercial temperature range of 0°C to +70°C.The AD648 is available in an 8-pin plastic mini-DIP and SOIC package. |
| PMIC | 9 | Active | |
| PMIC | 15 | Active | |
AD654Low Cost Monolithic Voltage-to-Frequency Converter | PMIC | 8 | Active | The AD654 is a monolithic V/F converter consisting of an input amplifier, a precision oscillator system, and a high current output stage. A single RC network is all that is required to set up any full scale (FS) frequency up to 500 kHz and any FS input voltage up to ±30 V. Linearity error is only 0.03% for a 250 kHz FS, and operation is guaranteed over an 80 dB dynamic range. The overall temperature coefficient (excluding the effects of external components) is typically ±50 ppm/°C. The AD654 operates from a single supply of 5 V to 36 V and consumes only 2.0 mA quiescent current.The low drift (4 µV/°C typ) input amplifier allows operation directly from small signals such as thermocouples or strain gauges while offering a high (250 MΩ) input resistance. Unlike most V/F converters, the AD654 provides a square-wave output, and can drive up to 12 TTL loads, optocouplers, long cables, or similar loads. |
AD660Monolithic 16-Bit Serial/Byte DACPORT | Data Acquisition | 13 | Active | The AD660 DACPORT®is a complete 16-bit monolithic digital-to-analog converter with an on-board voltage reference, double-buffered latches, and an output amplifier. It is manufactured on the Analog Devices, Inc., BiMOS II process. This process allows the fabrication of low power CMOS logic functions on the same chip as high precision bipolar linear circuitry.The AD660 architecture ensures 15-bit monotonicity over time and temperature. Integral and differential nonlinearity is maintained at ±0.003% maximum. The on-chip output amplifier provides a voltage output settling time of 10 μs to within ½ LSB for a full-scale step.The AD660 has an extremely flexible digital interface. Data can be loaded into the AD660 in serial mode or as two 8-bit bytes. This is made possible by two digital input pins that have dual functions. The serial mode input format is pin selectable to be MSB or LSB first. The serial output pin allows the user to daisy-chain several AD660 devices by shifting the data through the input latch into the next DAC, thus minimizing the number of control lines required to SIN,CSand LDAC. The byte mode input format is also flexible in that the high byte or low byte data can be loaded first. The double buffered latch structure eliminates data skew errors and provides for simultaneous updating of DACs in a multiDAC system.The AD660 is available in five grades. AN and BN versions are specified from −40°C to +85°C and are packaged in a 24-lead300 mil plastic DIP. AR and BR versions are also specified from −40°C to +85°C and are packaged in a 24-lead SOIC. The SQ version is packaged in a 24-lead 300 mil CERDIP package and is also available compliant to MIL-STD-883. Refer to the AD660SQ/883B military data sheet for specifications and test conditions.PRODUCT HIGHLIGHTSThe AD660 is a complete 16-bit DAC, with a voltage reference, double-buffered latches, and an output amplifier on a single chip.The internal buried Zener reference is laser trimmed to 10.000 V with a ±0.1% maximum error and a temperature drift performance of ±15 ppm/°C. The reference is available for external applications.The output range of the AD660 is pin programmable and can be set to provide a unipolar output range of 0 V to 10 V or a bipolar output range of −10 V to +10 V. No external components are required.The AD660 is both dc and ac specified. DC specifications include ±1 LSB INL and ±1 LSB DNL errors. AC specifications include 0.009% THD + N and 83 dB SNR.The double-buffered latches on the AD660 eliminate data skew errors and allow simultaneous updating of DACs in multiDAC applications.The clear function can asynchronously set the output to 0 V regardless of whether the DAC is in unipolar or bipolar mode.The output amplifier settles within 10 μs to ±½ LSB for a full-scale step and within 2.5 μs for a 1 LSB step over temperature. The output glitch is typically 15 nV-s when a full-scale step is loaded.Data Sheet, Rev. B, 6/08 |
| Analog to Digital Converters (ADC) | 3 | Active | |
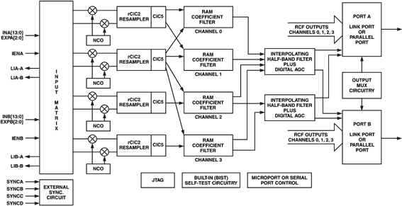
AD662065MSPS Digital Receive Signal Processor | Interface | 2 | Active | Analog Devices' innovative Diversity Receiver chipset delivers two IF-to-baseband diversity channels in a compact, comprehensive solution that incorporates Automatic Gain Control, Received Signal Strength Indicator, high-resolution. Numerically Controlled Oscillator and digital filtering on-chip.The chipset comprises Analog Devices' AD6600 dual-channel IF sampling analog-to-digital converter and AD6620 dual-channel decimating receiver chip. Configured with the appropriate external components, it can address a variety of air interface standards, including GSM, CDMA, IS136 and PHS, as well as proprietary modulation schemes for paging systems and wireless fixed access receivers.Based on Analog Devices' next-generation receiver architecture, the Diversity Receiver replaces sensitive analog filters with digital filters for significant cost and size reductions. Complete reference designs show the optimal layout for reducing noise and minimizing cross-channel coupling. |
| Integrated Circuits (ICs) | 2 | Active | |
| RF Misc ICs and Modules | 2 | Active | |