MSP430FR2633Capacitive Touch MCU with 16 touch IO (64 sensors), 16KB FRAM, 4KB SRAM, 19 IO, 10-bit ADC | Embedded | 5 | Active | The MSP430FR263x and MSP430FR253x are ultra-low-power MSP430™ microcontrollers for capacitive touch sensing that featureCapTIvate™ touch technologyfor buttons, sliders, wheels, and proximity applications. MSP430 MCUs with CapTIvate technology provide the most integrated and autonomous capacitive-touch solution in the market with high reliability and noise immunity at the lowest power. TI’s capacitive touch technology supports concurrent self-capacitance and mutual-capacitance electrodes on the same design for maximum flexibility. MSP430 MCUs with CapTIvate technology operate through thick glass, plastic enclosures, metal, and wood with operation in harsh environments including wet, greasy, and dirty environments.
TI capacitive touch sensing MSP430 MCUs are supported by an extensive hardware and software ecosystem with reference designs and code examples to get your design started quickly. Development kits include theMSP-CAPT-FR2633 CapTIvate technology development kit. TI also provides free software including theCapTIvate Design Center, where engineers can quickly develop applications with an easy-to-use GUI andMSP430Ware™ softwareand comprehensive documentation with theCapTIvate Technology Guide.
TI’s MSP430 ultra-low-power (ULP) FRAM microcontroller platform combines uniquely embedded FRAM and a holistic ultra-low-power system architecture, allowing system designers to increase performance while lowering energy consumption. FRAM technology combines the low-energy fast writes, flexibility, and endurance of RAM with the nonvolatility of flash.
For complete module descriptions, see theMSP430FR4xx and MSP430FR2xx Family User’s Guide.
The MSP430FR263x and MSP430FR253x are ultra-low-power MSP430™ microcontrollers for capacitive touch sensing that featureCapTIvate™ touch technologyfor buttons, sliders, wheels, and proximity applications. MSP430 MCUs with CapTIvate technology provide the most integrated and autonomous capacitive-touch solution in the market with high reliability and noise immunity at the lowest power. TI’s capacitive touch technology supports concurrent self-capacitance and mutual-capacitance electrodes on the same design for maximum flexibility. MSP430 MCUs with CapTIvate technology operate through thick glass, plastic enclosures, metal, and wood with operation in harsh environments including wet, greasy, and dirty environments.
TI capacitive touch sensing MSP430 MCUs are supported by an extensive hardware and software ecosystem with reference designs and code examples to get your design started quickly. Development kits include theMSP-CAPT-FR2633 CapTIvate technology development kit. TI also provides free software including theCapTIvate Design Center, where engineers can quickly develop applications with an easy-to-use GUI andMSP430Ware™ softwareand comprehensive documentation with theCapTIvate Technology Guide.
TI’s MSP430 ultra-low-power (ULP) FRAM microcontroller platform combines uniquely embedded FRAM and a holistic ultra-low-power system architecture, allowing system designers to increase performance while lowering energy consumption. FRAM technology combines the low-energy fast writes, flexibility, and endurance of RAM with the nonvolatility of flash.
For complete module descriptions, see theMSP430FR4xx and MSP430FR2xx Family User’s Guide. |
MSP430FR2672Capacitive-touch MCU with 16 I/O (16 sensors), 8-KB FRAM, 2-KB SRAM, 27 I/O and 12-bit ADC | Microcontrollers | 2 | Active | The MSP430FR267x is an ultra-low-power MSP430™ microcontroller for capacitive touch sensing that featureCapTIvate touch technologyfor buttons, slides, wheel and proximity applications. MSP430 MCUs with CapTIvate technology provide the most integrated and autonomous capacitive-touch solution in the market with high reliability and noise immunity at the lowest power. TI’s capacitive touch technology supports concurrent self-capacitance and mutual-capacitance electrodes on the same design for maximum flexibility. MSP430 MCUs with CapTIvate technology operate through thick glass, plastic enclosures, metal, and wood with operation in harsh environments including wet, greasy, and dirty environments.
TI capacitive touch sensing MSP430 MCUs are supported by an extensive hardware and software ecosystem with reference designs and code examples to get your design started quickly. Development kits include theMSP-CAPT-FR2633 CapTIvate Technology Development Kit. TI also provides free software including theCapTIvate Design Center, where engineers can quickly develop applications with an easy-to-use GUI andMSP430Ware™ software, and comprehensive documentation with theCapTIvate Technology Guide. MSP430 MCUs are also supported by extensive online collateral, such as ourhousekeeping example series,MSP Academy training, and online support through theTI E2E™ support forums.
The TI MSP430 family of low-power microcontrollers consists of devices with different sets of peripherals targeted for various applications. The architecture, combined with extensive low-power modes, is optimized to achieve extended battery life in portable measurement applications. The MCU features a powerful 16-bit RISC CPU, 16-bit registers, and constant generators that contribute to maximum code efficiency. The digitally controlled oscillator (DCO) allows the MCU to wake up from low-power modes to active mode in less than 10 µs (typical).
For complete module descriptions, see theMSP430FR4xx and MSP430FR2xx Family User’s Guide.
The MSP430FR267x is an ultra-low-power MSP430™ microcontroller for capacitive touch sensing that featureCapTIvate touch technologyfor buttons, slides, wheel and proximity applications. MSP430 MCUs with CapTIvate technology provide the most integrated and autonomous capacitive-touch solution in the market with high reliability and noise immunity at the lowest power. TI’s capacitive touch technology supports concurrent self-capacitance and mutual-capacitance electrodes on the same design for maximum flexibility. MSP430 MCUs with CapTIvate technology operate through thick glass, plastic enclosures, metal, and wood with operation in harsh environments including wet, greasy, and dirty environments.
TI capacitive touch sensing MSP430 MCUs are supported by an extensive hardware and software ecosystem with reference designs and code examples to get your design started quickly. Development kits include theMSP-CAPT-FR2633 CapTIvate Technology Development Kit. TI also provides free software including theCapTIvate Design Center, where engineers can quickly develop applications with an easy-to-use GUI andMSP430Ware™ software, and comprehensive documentation with theCapTIvate Technology Guide. MSP430 MCUs are also supported by extensive online collateral, such as ourhousekeeping example series,MSP Academy training, and online support through theTI E2E™ support forums.
The TI MSP430 family of low-power microcontrollers consists of devices with different sets of peripherals targeted for various applications. The architecture, combined with extensive low-power modes, is optimized to achieve extended battery life in portable measurement applications. The MCU features a powerful 16-bit RISC CPU, 16-bit registers, and constant generators that contribute to maximum code efficiency. The digitally controlled oscillator (DCO) allows the MCU to wake up from low-power modes to active mode in less than 10 µs (typical).
For complete module descriptions, see theMSP430FR4xx and MSP430FR2xx Family User’s Guide. |
MSP430FR2673Capacitive-touch MCU with 16 I/O (64 sensors), 16-KB FRAM, 4-KB SRAM, 27 I/O and 12-bit ADC | Microcontrollers | 1 | Active | The MSP430FR267x is an ultra-low-power MSP430™ microcontroller for capacitive touch sensing that featureCapTIvate touch technologyfor buttons, slides, wheel and proximity applications. MSP430 MCUs with CapTIvate technology provide the most integrated and autonomous capacitive-touch solution in the market with high reliability and noise immunity at the lowest power. TI’s capacitive touch technology supports concurrent self-capacitance and mutual-capacitance electrodes on the same design for maximum flexibility. MSP430 MCUs with CapTIvate technology operate through thick glass, plastic enclosures, metal, and wood with operation in harsh environments including wet, greasy, and dirty environments.
TI capacitive touch sensing MSP430 MCUs are supported by an extensive hardware and software ecosystem with reference designs and code examples to get your design started quickly. Development kits include theMSP-CAPT-FR2633 CapTIvate Technology Development Kit. TI also provides free software including theCapTIvate Design Center, where engineers can quickly develop applications with an easy-to-use GUI andMSP430Ware™ software, and comprehensive documentation with theCapTIvate Technology Guide. MSP430 MCUs are also supported by extensive online collateral, such as ourhousekeeping example series,MSP Academy training, and online support through theTI E2E™ support forums.
The TI MSP430 family of low-power microcontrollers consists of devices with different sets of peripherals targeted for various applications. The architecture, combined with extensive low-power modes, is optimized to achieve extended battery life in portable measurement applications. The MCU features a powerful 16-bit RISC CPU, 16-bit registers, and constant generators that contribute to maximum code efficiency. The digitally controlled oscillator (DCO) allows the MCU to wake up from low-power modes to active mode in less than 10 µs (typical).
For complete module descriptions, see theMSP430FR4xx and MSP430FR2xx Family User’s Guide.
The MSP430FR267x is an ultra-low-power MSP430™ microcontroller for capacitive touch sensing that featureCapTIvate touch technologyfor buttons, slides, wheel and proximity applications. MSP430 MCUs with CapTIvate technology provide the most integrated and autonomous capacitive-touch solution in the market with high reliability and noise immunity at the lowest power. TI’s capacitive touch technology supports concurrent self-capacitance and mutual-capacitance electrodes on the same design for maximum flexibility. MSP430 MCUs with CapTIvate technology operate through thick glass, plastic enclosures, metal, and wood with operation in harsh environments including wet, greasy, and dirty environments.
TI capacitive touch sensing MSP430 MCUs are supported by an extensive hardware and software ecosystem with reference designs and code examples to get your design started quickly. Development kits include theMSP-CAPT-FR2633 CapTIvate Technology Development Kit. TI also provides free software including theCapTIvate Design Center, where engineers can quickly develop applications with an easy-to-use GUI andMSP430Ware™ software, and comprehensive documentation with theCapTIvate Technology Guide. MSP430 MCUs are also supported by extensive online collateral, such as ourhousekeeping example series,MSP Academy training, and online support through theTI E2E™ support forums.
The TI MSP430 family of low-power microcontrollers consists of devices with different sets of peripherals targeted for various applications. The architecture, combined with extensive low-power modes, is optimized to achieve extended battery life in portable measurement applications. The MCU features a powerful 16-bit RISC CPU, 16-bit registers, and constant generators that contribute to maximum code efficiency. The digitally controlled oscillator (DCO) allows the MCU to wake up from low-power modes to active mode in less than 10 µs (typical).
For complete module descriptions, see theMSP430FR4xx and MSP430FR2xx Family User’s Guide. |
MSP430FR2675Capacitive Touch MCU with 16 touch IO (64 sensors), 32KB FRAM, 6KB SRAM, 43 IO, 12-bit ADC, 105C | Microcontrollers | 6 | Active | The MSP430FR267x is an ultra-low-power MSP430™ microcontroller for capacitive touch sensing that featureCapTIvate touch technologyfor buttons, slides, wheel and proximity applications. MSP430 MCUs with CapTIvate technology provide the most integrated and autonomous capacitive-touch solution in the market with high reliability and noise immunity at the lowest power. TI’s capacitive touch technology supports concurrent self-capacitance and mutual-capacitance electrodes on the same design for maximum flexibility. MSP430 MCUs with CapTIvate technology operate through thick glass, plastic enclosures, metal, and wood with operation in harsh environments including wet, greasy, and dirty environments.
TI capacitive touch sensing MSP430 MCUs are supported by an extensive hardware and software ecosystem with reference designs and code examples to get your design started quickly. Development kits include theMSP-CAPT-FR2633 CapTIvate Technology Development Kit. TI also provides free software including theCapTIvate Design Center, where engineers can quickly develop applications with an easy-to-use GUI andMSP430Ware™ software, and comprehensive documentation with theCapTIvate Technology Guide. MSP430 MCUs are also supported by extensive online collateral, such as ourhousekeeping example series,MSP Academy training, and online support through theTI E2E™ support forums.
The TI MSP430 family of low-power microcontrollers consists of devices with different sets of peripherals targeted for various applications. The architecture, combined with extensive low-power modes, is optimized to achieve extended battery life in portable measurement applications. The MCU features a powerful 16-bit RISC CPU, 16-bit registers, and constant generators that contribute to maximum code efficiency. The digitally controlled oscillator (DCO) allows the MCU to wake up from low-power modes to active mode in less than 10 µs (typical).
For complete module descriptions, see theMSP430FR4xx and MSP430FR2xx Family User’s Guide.
The MSP430FR267x is an ultra-low-power MSP430™ microcontroller for capacitive touch sensing that featureCapTIvate touch technologyfor buttons, slides, wheel and proximity applications. MSP430 MCUs with CapTIvate technology provide the most integrated and autonomous capacitive-touch solution in the market with high reliability and noise immunity at the lowest power. TI’s capacitive touch technology supports concurrent self-capacitance and mutual-capacitance electrodes on the same design for maximum flexibility. MSP430 MCUs with CapTIvate technology operate through thick glass, plastic enclosures, metal, and wood with operation in harsh environments including wet, greasy, and dirty environments.
TI capacitive touch sensing MSP430 MCUs are supported by an extensive hardware and software ecosystem with reference designs and code examples to get your design started quickly. Development kits include theMSP-CAPT-FR2633 CapTIvate Technology Development Kit. TI also provides free software including theCapTIvate Design Center, where engineers can quickly develop applications with an easy-to-use GUI andMSP430Ware™ software, and comprehensive documentation with theCapTIvate Technology Guide. MSP430 MCUs are also supported by extensive online collateral, such as ourhousekeeping example series,MSP Academy training, and online support through theTI E2E™ support forums.
The TI MSP430 family of low-power microcontrollers consists of devices with different sets of peripherals targeted for various applications. The architecture, combined with extensive low-power modes, is optimized to achieve extended battery life in portable measurement applications. The MCU features a powerful 16-bit RISC CPU, 16-bit registers, and constant generators that contribute to maximum code efficiency. The digitally controlled oscillator (DCO) allows the MCU to wake up from low-power modes to active mode in less than 10 µs (typical).
For complete module descriptions, see theMSP430FR4xx and MSP430FR2xx Family User’s Guide. |
MSP430FR2676Capacitive Touch MCU with 16 touch IO (64 sensors), 64KB FRAM, 8KB SRAM, 43 IO, 12-bit ADC, 105C | Microcontrollers | 6 | Active | The MSP430FR267x is an ultra-low-power MSP430™ microcontroller for capacitive touch sensing that featureCapTIvate touch technologyfor buttons, slides, wheel and proximity applications. MSP430 MCUs with CapTIvate technology provide the most integrated and autonomous capacitive-touch solution in the market with high reliability and noise immunity at the lowest power. TI’s capacitive touch technology supports concurrent self-capacitance and mutual-capacitance electrodes on the same design for maximum flexibility. MSP430 MCUs with CapTIvate technology operate through thick glass, plastic enclosures, metal, and wood with operation in harsh environments including wet, greasy, and dirty environments.
TI capacitive touch sensing MSP430 MCUs are supported by an extensive hardware and software ecosystem with reference designs and code examples to get your design started quickly. Development kits include theMSP-CAPT-FR2633 CapTIvate Technology Development Kit. TI also provides free software including theCapTIvate Design Center, where engineers can quickly develop applications with an easy-to-use GUI andMSP430Ware™ software, and comprehensive documentation with theCapTIvate Technology Guide. MSP430 MCUs are also supported by extensive online collateral, such as ourhousekeeping example series,MSP Academy training, and online support through theTI E2E™ support forums.
The TI MSP430 family of low-power microcontrollers consists of devices with different sets of peripherals targeted for various applications. The architecture, combined with extensive low-power modes, is optimized to achieve extended battery life in portable measurement applications. The MCU features a powerful 16-bit RISC CPU, 16-bit registers, and constant generators that contribute to maximum code efficiency. The digitally controlled oscillator (DCO) allows the MCU to wake up from low-power modes to active mode in less than 10 µs (typical).
For complete module descriptions, see theMSP430FR4xx and MSP430FR2xx Family User’s Guide.
The MSP430FR267x is an ultra-low-power MSP430™ microcontroller for capacitive touch sensing that featureCapTIvate touch technologyfor buttons, slides, wheel and proximity applications. MSP430 MCUs with CapTIvate technology provide the most integrated and autonomous capacitive-touch solution in the market with high reliability and noise immunity at the lowest power. TI’s capacitive touch technology supports concurrent self-capacitance and mutual-capacitance electrodes on the same design for maximum flexibility. MSP430 MCUs with CapTIvate technology operate through thick glass, plastic enclosures, metal, and wood with operation in harsh environments including wet, greasy, and dirty environments.
TI capacitive touch sensing MSP430 MCUs are supported by an extensive hardware and software ecosystem with reference designs and code examples to get your design started quickly. Development kits include theMSP-CAPT-FR2633 CapTIvate Technology Development Kit. TI also provides free software including theCapTIvate Design Center, where engineers can quickly develop applications with an easy-to-use GUI andMSP430Ware™ software, and comprehensive documentation with theCapTIvate Technology Guide. MSP430 MCUs are also supported by extensive online collateral, such as ourhousekeeping example series,MSP Academy training, and online support through theTI E2E™ support forums.
The TI MSP430 family of low-power microcontrollers consists of devices with different sets of peripherals targeted for various applications. The architecture, combined with extensive low-power modes, is optimized to achieve extended battery life in portable measurement applications. The MCU features a powerful 16-bit RISC CPU, 16-bit registers, and constant generators that contribute to maximum code efficiency. The digitally controlled oscillator (DCO) allows the MCU to wake up from low-power modes to active mode in less than 10 µs (typical).
For complete module descriptions, see theMSP430FR4xx and MSP430FR2xx Family User’s Guide. |
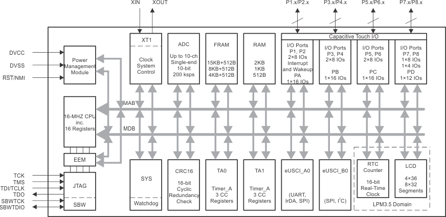
MSP430FR413116 MHz MCU with 4KB FRAM, 0.5KB SRAM, 10-bit ADC, LCD, UART/SPI/I2C, IR logic, timer | Embedded | 5 | Active | MSP430FR41xx ultra-low-power (ULP) microcontroller family supports low-cost LCD applications that benefit from an integrated 10-bit ADC such as remote controls, thermostats, smart meters, blood glucose monitors, and blood pressure monitors. The MCUs feature a powerful 16-bit RISC CPU, 16-bit registers, and constant generators that contribute to maximum code efficiency. The digitally controlled oscillator (DCO) allows the device to wake up from low-power modes to active mode in less than 10 µs. The architecture, combined with extensive low-power modes, is optimized to achieve extended battery life in portable measurement applications.
The MSP430™ FRAM microcontroller platform combines uniquely embedded ferroelectric random access memory (FRAM) and a holistic ultra-low-power system architecture, allowing system designers to increase performance while lowering energy consumption. FRAM technology combines the low-energy fast writes, flexibility, and endurance of RAM with the nonvolatile behavior of flash.
MSP430FR41x MCUs are supported by an extensive hardware and software ecosystem with reference designs and code examples to get your design started quickly. Development kits for the MSP430FR41xx include theMSP-EXP430FR4133LaunchPad™ development kit and theMSP-TS430PM64D64-pin target development board. TI also provides freeMSP430Ware™software, which is available as a component of Code Composer Studio™ IDE desktop and cloud versions within TI Resource Explorer. MSP430 MCUs are also supported by extensive online collateral, such as ourhousekeeping example series,MSP Academy training, and online support through theTI E2E™ support forums.
For complete module descriptions, see theMSP430FR4xx and MSP430FR2xx Family User’s Guide.
MSP430FR41xx ultra-low-power (ULP) microcontroller family supports low-cost LCD applications that benefit from an integrated 10-bit ADC such as remote controls, thermostats, smart meters, blood glucose monitors, and blood pressure monitors. The MCUs feature a powerful 16-bit RISC CPU, 16-bit registers, and constant generators that contribute to maximum code efficiency. The digitally controlled oscillator (DCO) allows the device to wake up from low-power modes to active mode in less than 10 µs. The architecture, combined with extensive low-power modes, is optimized to achieve extended battery life in portable measurement applications.
The MSP430™ FRAM microcontroller platform combines uniquely embedded ferroelectric random access memory (FRAM) and a holistic ultra-low-power system architecture, allowing system designers to increase performance while lowering energy consumption. FRAM technology combines the low-energy fast writes, flexibility, and endurance of RAM with the nonvolatile behavior of flash.
MSP430FR41x MCUs are supported by an extensive hardware and software ecosystem with reference designs and code examples to get your design started quickly. Development kits for the MSP430FR41xx include theMSP-EXP430FR4133LaunchPad™ development kit and theMSP-TS430PM64D64-pin target development board. TI also provides freeMSP430Ware™software, which is available as a component of Code Composer Studio™ IDE desktop and cloud versions within TI Resource Explorer. MSP430 MCUs are also supported by extensive online collateral, such as ourhousekeeping example series,MSP Academy training, and online support through theTI E2E™ support forums.
For complete module descriptions, see theMSP430FR4xx and MSP430FR2xx Family User’s Guide. |
MSP430FR413216 MHz MCU with 8KB FRAM, 1KB SRAM, 10-bit ADC, LCD, UART/SPI/I2C, IR logic, timer | Integrated Circuits (ICs) | 4 | Active | MSP430FR41xx ultra-low-power (ULP) microcontroller family supports low-cost LCD applications that benefit from an integrated 10-bit ADC such as remote controls, thermostats, smart meters, blood glucose monitors, and blood pressure monitors. The MCUs feature a powerful 16-bit RISC CPU, 16-bit registers, and constant generators that contribute to maximum code efficiency. The digitally controlled oscillator (DCO) allows the device to wake up from low-power modes to active mode in less than 10 µs. The architecture, combined with extensive low-power modes, is optimized to achieve extended battery life in portable measurement applications.
The MSP430™ FRAM microcontroller platform combines uniquely embedded ferroelectric random access memory (FRAM) and a holistic ultra-low-power system architecture, allowing system designers to increase performance while lowering energy consumption. FRAM technology combines the low-energy fast writes, flexibility, and endurance of RAM with the nonvolatile behavior of flash.
MSP430FR41x MCUs are supported by an extensive hardware and software ecosystem with reference designs and code examples to get your design started quickly. Development kits for the MSP430FR41xx include theMSP-EXP430FR4133LaunchPad™ development kit and theMSP-TS430PM64D64-pin target development board. TI also provides freeMSP430Ware™software, which is available as a component of Code Composer Studio™ IDE desktop and cloud versions within TI Resource Explorer. MSP430 MCUs are also supported by extensive online collateral, such as ourhousekeeping example series,MSP Academy training, and online support through theTI E2E™ support forums.
For complete module descriptions, see theMSP430FR4xx and MSP430FR2xx Family User’s Guide.
MSP430FR41xx ultra-low-power (ULP) microcontroller family supports low-cost LCD applications that benefit from an integrated 10-bit ADC such as remote controls, thermostats, smart meters, blood glucose monitors, and blood pressure monitors. The MCUs feature a powerful 16-bit RISC CPU, 16-bit registers, and constant generators that contribute to maximum code efficiency. The digitally controlled oscillator (DCO) allows the device to wake up from low-power modes to active mode in less than 10 µs. The architecture, combined with extensive low-power modes, is optimized to achieve extended battery life in portable measurement applications.
The MSP430™ FRAM microcontroller platform combines uniquely embedded ferroelectric random access memory (FRAM) and a holistic ultra-low-power system architecture, allowing system designers to increase performance while lowering energy consumption. FRAM technology combines the low-energy fast writes, flexibility, and endurance of RAM with the nonvolatile behavior of flash.
MSP430FR41x MCUs are supported by an extensive hardware and software ecosystem with reference designs and code examples to get your design started quickly. Development kits for the MSP430FR41xx include theMSP-EXP430FR4133LaunchPad™ development kit and theMSP-TS430PM64D64-pin target development board. TI also provides freeMSP430Ware™software, which is available as a component of Code Composer Studio™ IDE desktop and cloud versions within TI Resource Explorer. MSP430 MCUs are also supported by extensive online collateral, such as ourhousekeeping example series,MSP Academy training, and online support through theTI E2E™ support forums.
For complete module descriptions, see theMSP430FR4xx and MSP430FR2xx Family User’s Guide. |
MSP430FR413316 MHz MCU with 16KB FRAM, 2KB SRAM, 10-bit ADC, LCD, UART/SPI/I2C, IR logic, timer | Integrated Circuits (ICs) | 4 | Active | MSP430FR41xx ultra-low-power (ULP) microcontroller family supports low-cost LCD applications that benefit from an integrated 10-bit ADC such as remote controls, thermostats, smart meters, blood glucose monitors, and blood pressure monitors. The MCUs feature a powerful 16-bit RISC CPU, 16-bit registers, and constant generators that contribute to maximum code efficiency. The digitally controlled oscillator (DCO) allows the device to wake up from low-power modes to active mode in less than 10 µs. The architecture, combined with extensive low-power modes, is optimized to achieve extended battery life in portable measurement applications.
The MSP430™ FRAM microcontroller platform combines uniquely embedded ferroelectric random access memory (FRAM) and a holistic ultra-low-power system architecture, allowing system designers to increase performance while lowering energy consumption. FRAM technology combines the low-energy fast writes, flexibility, and endurance of RAM with the nonvolatile behavior of flash.
MSP430FR41x MCUs are supported by an extensive hardware and software ecosystem with reference designs and code examples to get your design started quickly. Development kits for the MSP430FR41xx include theMSP-EXP430FR4133LaunchPad™ development kit and theMSP-TS430PM64D64-pin target development board. TI also provides freeMSP430Ware™software, which is available as a component of Code Composer Studio™ IDE desktop and cloud versions within TI Resource Explorer. MSP430 MCUs are also supported by extensive online collateral, such as ourhousekeeping example series,MSP Academy training, and online support through theTI E2E™ support forums.
For complete module descriptions, see theMSP430FR4xx and MSP430FR2xx Family User’s Guide.
MSP430FR41xx ultra-low-power (ULP) microcontroller family supports low-cost LCD applications that benefit from an integrated 10-bit ADC such as remote controls, thermostats, smart meters, blood glucose monitors, and blood pressure monitors. The MCUs feature a powerful 16-bit RISC CPU, 16-bit registers, and constant generators that contribute to maximum code efficiency. The digitally controlled oscillator (DCO) allows the device to wake up from low-power modes to active mode in less than 10 µs. The architecture, combined with extensive low-power modes, is optimized to achieve extended battery life in portable measurement applications.
The MSP430™ FRAM microcontroller platform combines uniquely embedded ferroelectric random access memory (FRAM) and a holistic ultra-low-power system architecture, allowing system designers to increase performance while lowering energy consumption. FRAM technology combines the low-energy fast writes, flexibility, and endurance of RAM with the nonvolatile behavior of flash.
MSP430FR41x MCUs are supported by an extensive hardware and software ecosystem with reference designs and code examples to get your design started quickly. Development kits for the MSP430FR41xx include theMSP-EXP430FR4133LaunchPad™ development kit and theMSP-TS430PM64D64-pin target development board. TI also provides freeMSP430Ware™software, which is available as a component of Code Composer Studio™ IDE desktop and cloud versions within TI Resource Explorer. MSP430 MCUs are also supported by extensive online collateral, such as ourhousekeeping example series,MSP Academy training, and online support through theTI E2E™ support forums.
For complete module descriptions, see theMSP430FR4xx and MSP430FR2xx Family User’s Guide. |
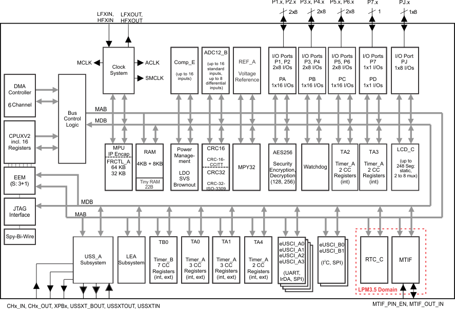
MSP430FR504116-MHz MCU with 32 KB FRAM, 12-bit high speed 8 MSPS sigma-delta ADC and integrated sensor AFE | Integrated Circuits (ICs) | 2 | Active | The Texas Instruments MSP430FR604x and MSP430FR504x SoCs are part of theMSP430 ultrasonic sensing microcontroller(MCU) family and are powerful, highly integrated devices designed for a wide variety of industrial applications:
These MCUs offer an integrated ultrasonic sensing solution (USS_A) module, which provides high accuracy for a wide range of flow rates. The USS module helps achieve ultra-low-power metering combined with lower system cost due to maximum integration requiring very few external components.
MSP430FR604x and MSP430FR504x devices implement high-speed ADC-based signal acquisition followed by optimized digital signal processing using the low-energy accelerator (LEA) to deliver a high-accuracy metering solution with ultra-low power optimum for battery-powered metering applications.
The USS_A module includes a programmable pulse generator (PPG) and a physical interface (PHY) with a low impedance output driver for optimum sensor excitation and accurate impendence matching to deliver best results for zero-flow drift (ZFD). The USS_A module also includes a programmable gain amplifier (PGA) and a high-speed 12-bit 8-Msps sigma-delta ADC (SDHS) for accurate signal acquisition from industry standard ultrasonic transducers.
The MSP430FR604x and MSP430FR504x MCUs also integrate other peripherals to improve system integration for metering. It has a metering test interface (MTIF) module to implement pulse generation to indicate flow measured by the meter. It also has an on-chip 8-mux LCD driver (MSP430FR604x only), a real-time clock (RTC), a 12-bit SAR ADC, an analog comparator, an advanced encryption (AES256) module, and a cyclic redundancy check (CRC) module.
MSP430FR604x and MSP430FR504x MCUs are supported by an extensive hardware and software ecosystem with reference designs and code examples to get your design started quickly. Development kits include theMSP-TS430PN80C 80-pin target development boardandEVM430-FR6043 ultrasonic gas flow meter EVM. TI also provides free software including theultrasonic sensing design center, ultrasonic sensing software library, andMSP430Ware™ software.
The MSP430FR604x and MSP430FR504x MCU family integrates TI’s FRAM (ferroelectric RAM) and a holistic ultra-low-power MSP system architecture, allowing system designers to increase performance while lowering energy consumption. FRAM technology combines the low-energy fast writes, flexibility, and endurance of RAM with the nonvolatility of flash.
For complete module descriptions, see theMSP430FR58xx, MSP430FR59xx, and MSP430FR6xx Family User’s Guide.
The Texas Instruments MSP430FR604x and MSP430FR504x SoCs are part of theMSP430 ultrasonic sensing microcontroller(MCU) family and are powerful, highly integrated devices designed for a wide variety of industrial applications:
These MCUs offer an integrated ultrasonic sensing solution (USS_A) module, which provides high accuracy for a wide range of flow rates. The USS module helps achieve ultra-low-power metering combined with lower system cost due to maximum integration requiring very few external components.
MSP430FR604x and MSP430FR504x devices implement high-speed ADC-based signal acquisition followed by optimized digital signal processing using the low-energy accelerator (LEA) to deliver a high-accuracy metering solution with ultra-low power optimum for battery-powered metering applications.
The USS_A module includes a programmable pulse generator (PPG) and a physical interface (PHY) with a low impedance output driver for optimum sensor excitation and accurate impendence matching to deliver best results for zero-flow drift (ZFD). The USS_A module also includes a programmable gain amplifier (PGA) and a high-speed 12-bit 8-Msps sigma-delta ADC (SDHS) for accurate signal acquisition from industry standard ultrasonic transducers.
The MSP430FR604x and MSP430FR504x MCUs also integrate other peripherals to improve system integration for metering. It has a metering test interface (MTIF) module to implement pulse generation to indicate flow measured by the meter. It also has an on-chip 8-mux LCD driver (MSP430FR604x only), a real-time clock (RTC), a 12-bit SAR ADC, an analog comparator, an advanced encryption (AES256) module, and a cyclic redundancy check (CRC) module.
MSP430FR604x and MSP430FR504x MCUs are supported by an extensive hardware and software ecosystem with reference designs and code examples to get your design started quickly. Development kits include theMSP-TS430PN80C 80-pin target development boardandEVM430-FR6043 ultrasonic gas flow meter EVM. TI also provides free software including theultrasonic sensing design center, ultrasonic sensing software library, andMSP430Ware™ software.
The MSP430FR604x and MSP430FR504x MCU family integrates TI’s FRAM (ferroelectric RAM) and a holistic ultra-low-power MSP system architecture, allowing system designers to increase performance while lowering energy consumption. FRAM technology combines the low-energy fast writes, flexibility, and endurance of RAM with the nonvolatility of flash.
For complete module descriptions, see theMSP430FR58xx, MSP430FR59xx, and MSP430FR6xx Family User’s Guide. |
MSP430FR504316-MHz MCU with 64 KB FRAM, 12-bit high speed 8-MSPS sigma-delta ADC and integrated sensor AFE | Microcontrollers | 3 | Active | The Texas Instruments MSP430FR604x and MSP430FR504x SoCs are part of theMSP430 ultrasonic sensing microcontroller(MCU) family and are powerful, highly integrated devices designed for a wide variety of industrial applications:
These MCUs offer an integrated ultrasonic sensing solution (USS_A) module, which provides high accuracy for a wide range of flow rates. The USS module helps achieve ultra-low-power metering combined with lower system cost due to maximum integration requiring very few external components.
MSP430FR604x and MSP430FR504x devices implement high-speed ADC-based signal acquisition followed by optimized digital signal processing using the low-energy accelerator (LEA) to deliver a high-accuracy metering solution with ultra-low power optimum for battery-powered metering applications.
The USS_A module includes a programmable pulse generator (PPG) and a physical interface (PHY) with a low impedance output driver for optimum sensor excitation and accurate impendence matching to deliver best results for zero-flow drift (ZFD). The USS_A module also includes a programmable gain amplifier (PGA) and a high-speed 12-bit 8-Msps sigma-delta ADC (SDHS) for accurate signal acquisition from industry standard ultrasonic transducers.
The MSP430FR604x and MSP430FR504x MCUs also integrate other peripherals to improve system integration for metering. It has a metering test interface (MTIF) module to implement pulse generation to indicate flow measured by the meter. It also has an on-chip 8-mux LCD driver (MSP430FR604x only), a real-time clock (RTC), a 12-bit SAR ADC, an analog comparator, an advanced encryption (AES256) module, and a cyclic redundancy check (CRC) module.
MSP430FR604x and MSP430FR504x MCUs are supported by an extensive hardware and software ecosystem with reference designs and code examples to get your design started quickly. Development kits include theMSP-TS430PN80C 80-pin target development boardandEVM430-FR6043 ultrasonic gas flow meter EVM. TI also provides free software including theultrasonic sensing design center, ultrasonic sensing software library, andMSP430Ware™ software.
The MSP430FR604x and MSP430FR504x MCU family integrates TI’s FRAM (ferroelectric RAM) and a holistic ultra-low-power MSP system architecture, allowing system designers to increase performance while lowering energy consumption. FRAM technology combines the low-energy fast writes, flexibility, and endurance of RAM with the nonvolatility of flash.
For complete module descriptions, see theMSP430FR58xx, MSP430FR59xx, and MSP430FR6xx Family User’s Guide.
The Texas Instruments MSP430FR604x and MSP430FR504x SoCs are part of theMSP430 ultrasonic sensing microcontroller(MCU) family and are powerful, highly integrated devices designed for a wide variety of industrial applications:
These MCUs offer an integrated ultrasonic sensing solution (USS_A) module, which provides high accuracy for a wide range of flow rates. The USS module helps achieve ultra-low-power metering combined with lower system cost due to maximum integration requiring very few external components.
MSP430FR604x and MSP430FR504x devices implement high-speed ADC-based signal acquisition followed by optimized digital signal processing using the low-energy accelerator (LEA) to deliver a high-accuracy metering solution with ultra-low power optimum for battery-powered metering applications.
The USS_A module includes a programmable pulse generator (PPG) and a physical interface (PHY) with a low impedance output driver for optimum sensor excitation and accurate impendence matching to deliver best results for zero-flow drift (ZFD). The USS_A module also includes a programmable gain amplifier (PGA) and a high-speed 12-bit 8-Msps sigma-delta ADC (SDHS) for accurate signal acquisition from industry standard ultrasonic transducers.
The MSP430FR604x and MSP430FR504x MCUs also integrate other peripherals to improve system integration for metering. It has a metering test interface (MTIF) module to implement pulse generation to indicate flow measured by the meter. It also has an on-chip 8-mux LCD driver (MSP430FR604x only), a real-time clock (RTC), a 12-bit SAR ADC, an analog comparator, an advanced encryption (AES256) module, and a cyclic redundancy check (CRC) module.
MSP430FR604x and MSP430FR504x MCUs are supported by an extensive hardware and software ecosystem with reference designs and code examples to get your design started quickly. Development kits include theMSP-TS430PN80C 80-pin target development boardandEVM430-FR6043 ultrasonic gas flow meter EVM. TI also provides free software including theultrasonic sensing design center, ultrasonic sensing software library, andMSP430Ware™ software.
The MSP430FR604x and MSP430FR504x MCU family integrates TI’s FRAM (ferroelectric RAM) and a holistic ultra-low-power MSP system architecture, allowing system designers to increase performance while lowering energy consumption. FRAM technology combines the low-energy fast writes, flexibility, and endurance of RAM with the nonvolatility of flash.
For complete module descriptions, see theMSP430FR58xx, MSP430FR59xx, and MSP430FR6xx Family User’s Guide. |