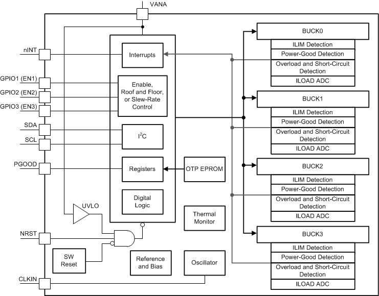
LP87522-Q1Automotive 10-A, 3-phase + 1-phase, two output buck converter with integrated switches | Power Management (PMIC) | 4 | Active | The LP8752x-Q1 device is designed to meet the power-management requirements of the latest processors and platforms in various automotive power applications. The device contains four step-down DC/DC converter cores, which are configured as a 4-phase output, 3-phase and 1-phase outputs, 2-phase and 2-phase outputs, one 2-phase and two 1-phase outputs, or four 1-phase outputs. The device is controlled by an I2C-compatible serial interface and by enable signals.
The automatic pulse-width-modulation (PWM) to pulsed-frequency-modulation (PFM) operation (AUTO mode), together with the automatic phase adding and phase shedding, maximizes efficiency over a wide output-current range. The LP8752x-Q1 supports remote differential-voltage sensing for multiphase outputs to compensate IR drop between the regulator output and the point-of-load (POL) improving the accuracy of the output voltage. The switching clock can be forced to PWM mode and also synchronized to an external clock to minimize the disturbances.
The LP8752x-Q1 device supports load-current measurement without the addition of external current-sense resistors. The device also supports programmable start-up and shutdown delays and sequences synchronized to enable signals. The sequences can include GPIO signals to control external regulators, load switches, and processor reset. During start-up and voltage change, the device controls the output slew rate to minimize output-voltage overshoot and in-rush current.
The LP8752x-Q1 device is designed to meet the power-management requirements of the latest processors and platforms in various automotive power applications. The device contains four step-down DC/DC converter cores, which are configured as a 4-phase output, 3-phase and 1-phase outputs, 2-phase and 2-phase outputs, one 2-phase and two 1-phase outputs, or four 1-phase outputs. The device is controlled by an I2C-compatible serial interface and by enable signals.
The automatic pulse-width-modulation (PWM) to pulsed-frequency-modulation (PFM) operation (AUTO mode), together with the automatic phase adding and phase shedding, maximizes efficiency over a wide output-current range. The LP8752x-Q1 supports remote differential-voltage sensing for multiphase outputs to compensate IR drop between the regulator output and the point-of-load (POL) improving the accuracy of the output voltage. The switching clock can be forced to PWM mode and also synchronized to an external clock to minimize the disturbances.
The LP8752x-Q1 device supports load-current measurement without the addition of external current-sense resistors. The device also supports programmable start-up and shutdown delays and sequences synchronized to enable signals. The sequences can include GPIO signals to control external regulators, load switches, and processor reset. During start-up and voltage change, the device controls the output slew rate to minimize output-voltage overshoot and in-rush current. |
LP87523-Q1Automotive, 10A, 2-phase + 1-phase + 1-phase, three-output buck converter with integrated switches | Voltage Regulators - DC DC Switching Regulators | 4 | Active | The LP8752x-Q1 device is designed to meet the power-management requirements of the latest processors and platforms in various automotive power applications. The device contains four step-down DC/DC converter cores, which are configured as a 4-phase output, 3-phase and 1-phase outputs, 2-phase and 2-phase outputs, one 2-phase and two 1-phase outputs, or four 1-phase outputs. The device is controlled by an I2C-compatible serial interface and by enable signals.
The automatic pulse-width-modulation (PWM) to pulsed-frequency-modulation (PFM) operation (AUTO mode), together with the automatic phase adding and phase shedding, maximizes efficiency over a wide output-current range. The LP8752x-Q1 supports remote differential-voltage sensing for multiphase outputs to compensate IR drop between the regulator output and the point-of-load (POL) improving the accuracy of the output voltage. The switching clock can be forced to PWM mode and also synchronized to an external clock to minimize the disturbances.
The LP8752x-Q1 device supports load-current measurement without the addition of external current-sense resistors. The device also supports programmable start-up and shutdown delays and sequences synchronized to enable signals. The sequences can include GPIO signals to control external regulators, load switches, and processor reset. During start-up and voltage change, the device controls the output slew rate to minimize output-voltage overshoot and in-rush current.
The LP8752x-Q1 device is designed to meet the power-management requirements of the latest processors and platforms in various automotive power applications. The device contains four step-down DC/DC converter cores, which are configured as a 4-phase output, 3-phase and 1-phase outputs, 2-phase and 2-phase outputs, one 2-phase and two 1-phase outputs, or four 1-phase outputs. The device is controlled by an I2C-compatible serial interface and by enable signals.
The automatic pulse-width-modulation (PWM) to pulsed-frequency-modulation (PFM) operation (AUTO mode), together with the automatic phase adding and phase shedding, maximizes efficiency over a wide output-current range. The LP8752x-Q1 supports remote differential-voltage sensing for multiphase outputs to compensate IR drop between the regulator output and the point-of-load (POL) improving the accuracy of the output voltage. The switching clock can be forced to PWM mode and also synchronized to an external clock to minimize the disturbances.
The LP8752x-Q1 device supports load-current measurement without the addition of external current-sense resistors. The device also supports programmable start-up and shutdown delays and sequences synchronized to enable signals. The sequences can include GPIO signals to control external regulators, load switches, and processor reset. During start-up and voltage change, the device controls the output slew rate to minimize output-voltage overshoot and in-rush current. |
LP875241Automotive 10A, 1-phase, quad-output buck converter with integrated switches | Power Management (PMIC) | 1 | Active | The LP8752x-Q1 device is designed to meet the power-management requirements of the latest processors and platforms in various automotive power applications. The device contains four step-down DC/DC converter cores, which are configured as a 4-phase output, 3-phase and 1-phase outputs, 2-phase and 2-phase outputs, one 2-phase and two 1-phase outputs, or four 1-phase outputs. The device is controlled by an I2C-compatible serial interface and by enable signals.
The automatic pulse-width-modulation (PWM) to pulsed-frequency-modulation (PFM) operation (AUTO mode), together with the automatic phase adding and phase shedding, maximizes efficiency over a wide output-current range. The LP8752x-Q1 supports remote differential-voltage sensing for multiphase outputs to compensate IR drop between the regulator output and the point-of-load (POL) improving the accuracy of the output voltage. The switching clock can be forced to PWM mode and also synchronized to an external clock to minimize the disturbances.
The LP8752x-Q1 device supports load-current measurement without the addition of external current-sense resistors. The device also supports programmable start-up and shutdown delays and sequences synchronized to enable signals. The sequences can include GPIO signals to control external regulators, load switches, and processor reset. During start-up and voltage change, the device controls the output slew rate to minimize output-voltage overshoot and in-rush current.
The LP8752x-Q1 device is designed to meet the power-management requirements of the latest processors and platforms in various automotive power applications. The device contains four step-down DC/DC converter cores, which are configured as a 4-phase output, 3-phase and 1-phase outputs, 2-phase and 2-phase outputs, one 2-phase and two 1-phase outputs, or four 1-phase outputs. The device is controlled by an I2C-compatible serial interface and by enable signals.
The automatic pulse-width-modulation (PWM) to pulsed-frequency-modulation (PFM) operation (AUTO mode), together with the automatic phase adding and phase shedding, maximizes efficiency over a wide output-current range. The LP8752x-Q1 supports remote differential-voltage sensing for multiphase outputs to compensate IR drop between the regulator output and the point-of-load (POL) improving the accuracy of the output voltage. The switching clock can be forced to PWM mode and also synchronized to an external clock to minimize the disturbances.
The LP8752x-Q1 device supports load-current measurement without the addition of external current-sense resistors. The device also supports programmable start-up and shutdown delays and sequences synchronized to enable signals. The sequences can include GPIO signals to control external regulators, load switches, and processor reset. During start-up and voltage change, the device controls the output slew rate to minimize output-voltage overshoot and in-rush current. |
LP87524J-Q1Automotive multiphase 4MHz, 3A/1.0V + 3A/1.0V + 2.5A/1.8V + 1.5A/1.2V buck converters for AWR MMICs | DC/DC & AC/DC (Off-Line) SMPS Evaluation Boards | 9 | Active | The LP8752x-Q1 device is designed to meet the power-management requirements of the latest processors and platforms in various automotive power applications. The device contains four step-down DC/DC converter cores, which are configured as a 4-phase output, 3-phase and 1-phase outputs, 2-phase and 2-phase outputs, one 2-phase and two 1-phase outputs, or four 1-phase outputs. The device is controlled by an I2C-compatible serial interface and by enable signals.
The automatic pulse-width-modulation (PWM) to pulsed-frequency-modulation (PFM) operation (AUTO mode), together with the automatic phase adding and phase shedding, maximizes efficiency over a wide output-current range. The LP8752x-Q1 supports remote differential-voltage sensing for multiphase outputs to compensate IR drop between the regulator output and the point-of-load (POL) improving the accuracy of the output voltage. The switching clock can be forced to PWM mode and also synchronized to an external clock to minimize the disturbances.
The LP8752x-Q1 device supports load-current measurement without the addition of external current-sense resistors. The device also supports programmable start-up and shutdown delays and sequences synchronized to enable signals. The sequences can include GPIO signals to control external regulators, load switches, and processor reset. During start-up and voltage change, the device controls the output slew rate to minimize output-voltage overshoot and in-rush current.
The LP8752x-Q1 device is designed to meet the power-management requirements of the latest processors and platforms in various automotive power applications. The device contains four step-down DC/DC converter cores, which are configured as a 4-phase output, 3-phase and 1-phase outputs, 2-phase and 2-phase outputs, one 2-phase and two 1-phase outputs, or four 1-phase outputs. The device is controlled by an I2C-compatible serial interface and by enable signals.
The automatic pulse-width-modulation (PWM) to pulsed-frequency-modulation (PFM) operation (AUTO mode), together with the automatic phase adding and phase shedding, maximizes efficiency over a wide output-current range. The LP8752x-Q1 supports remote differential-voltage sensing for multiphase outputs to compensate IR drop between the regulator output and the point-of-load (POL) improving the accuracy of the output voltage. The switching clock can be forced to PWM mode and also synchronized to an external clock to minimize the disturbances.
The LP8752x-Q1 device supports load-current measurement without the addition of external current-sense resistors. The device also supports programmable start-up and shutdown delays and sequences synchronized to enable signals. The sequences can include GPIO signals to control external regulators, load switches, and processor reset. During start-up and voltage change, the device controls the output slew rate to minimize output-voltage overshoot and in-rush current. |
LP87525-Q1Automotive 10-A, 2-phase + 2-phase, two output buck converters with integrated switches | Power Management (PMIC) | 6 | Active | The LP8752x-Q1 device is designed to meet the power-management requirements of the latest processors and platforms in various automotive power applications. The device contains four step-down DC/DC converter cores, which are configured as a 4-phase output, 3-phase and 1-phase outputs, 2-phase and 2-phase outputs, one 2-phase and two 1-phase outputs, or four 1-phase outputs. The device is controlled by an I2C-compatible serial interface and by enable signals.
The automatic pulse-width-modulation (PWM) to pulsed-frequency-modulation (PFM) operation (AUTO mode), together with the automatic phase adding and phase shedding, maximizes efficiency over a wide output-current range. The LP8752x-Q1 supports remote differential-voltage sensing for multiphase outputs to compensate IR drop between the regulator output and the point-of-load (POL) improving the accuracy of the output voltage. The switching clock can be forced to PWM mode and also synchronized to an external clock to minimize the disturbances.
The LP8752x-Q1 device supports load-current measurement without the addition of external current-sense resistors. The device also supports programmable start-up and shutdown delays and sequences synchronized to enable signals. The sequences can include GPIO signals to control external regulators, load switches, and processor reset. During start-up and voltage change, the device controls the output slew rate to minimize output-voltage overshoot and in-rush current.
The LP8752x-Q1 device is designed to meet the power-management requirements of the latest processors and platforms in various automotive power applications. The device contains four step-down DC/DC converter cores, which are configured as a 4-phase output, 3-phase and 1-phase outputs, 2-phase and 2-phase outputs, one 2-phase and two 1-phase outputs, or four 1-phase outputs. The device is controlled by an I2C-compatible serial interface and by enable signals.
The automatic pulse-width-modulation (PWM) to pulsed-frequency-modulation (PFM) operation (AUTO mode), together with the automatic phase adding and phase shedding, maximizes efficiency over a wide output-current range. The LP8752x-Q1 supports remote differential-voltage sensing for multiphase outputs to compensate IR drop between the regulator output and the point-of-load (POL) improving the accuracy of the output voltage. The switching clock can be forced to PWM mode and also synchronized to an external clock to minimize the disturbances.
The LP8752x-Q1 device supports load-current measurement without the addition of external current-sense resistors. The device also supports programmable start-up and shutdown delays and sequences synchronized to enable signals. The sequences can include GPIO signals to control external regulators, load switches, and processor reset. During start-up and voltage change, the device controls the output slew rate to minimize output-voltage overshoot and in-rush current. |
LP875484Multiphase 6-Core Step-Down Converter | Evaluation Boards | 2 | Active | The LP8754 is designed to meet the power management requirements of the latest applications processors in mobile phones and similar portable applications. The device contains six step-down DC/DC converter cores, which are bundled together in a 6-phase buck converter. The device is fully controlled by a Dynamic Voltage Scaling (DVS) interface or an I2C-compatible serial interface.
The automatic PWM/PFM operation together with the automatic phase adding/shedding maximizes efficiency over a wide output current range. The LP8754 supports remote differential voltage sensing to compensate IR drop between the regulator output and the point-of-load thus improving the accuracy of the output voltage.
The protection features include short-circuit protection, current limits, input OVP, UVLO, temperature warning, and shutdown functions. Several error flags are provided for status information of the IC. In addition, I2C read-back includes total load current and load current for each buck core: The LP8754 has the ability to sense current being delivered to the load without the addition of current sense resistors. During start-up, the device controls the output voltage slew rate to minimize overshoot and the inrush current.
The LP8754 is designed to meet the power management requirements of the latest applications processors in mobile phones and similar portable applications. The device contains six step-down DC/DC converter cores, which are bundled together in a 6-phase buck converter. The device is fully controlled by a Dynamic Voltage Scaling (DVS) interface or an I2C-compatible serial interface.
The automatic PWM/PFM operation together with the automatic phase adding/shedding maximizes efficiency over a wide output current range. The LP8754 supports remote differential voltage sensing to compensate IR drop between the regulator output and the point-of-load thus improving the accuracy of the output voltage.
The protection features include short-circuit protection, current limits, input OVP, UVLO, temperature warning, and shutdown functions. Several error flags are provided for status information of the IC. In addition, I2C read-back includes total load current and load current for each buck core: The LP8754 has the ability to sense current being delivered to the load without the addition of current sense resistors. During start-up, the device controls the output voltage slew rate to minimize overshoot and the inrush current. |
| Integrated Circuits (ICs) | 1 | Obsolete | |
LP87561-Q1Automotive multiphase 16-A buck converter with integrated switches | Voltage Regulators - DC DC Switching Regulators | 4 | Active | The LP8756x-Q1 device is designed to meet the power-management requirements of the latest processors and platforms in various automotive power applications. The device contains four step-down DC/DC converter cores, which are configured as a 4-phase output, 3-phase and 1-phase outputs, 2-phase and 2-phase outputs, one 2-phase and two 1-phase outputs, or four 1-phase outputs. The device is controlled by an I2C-compatible serial interface and by enable signals.
The automatic pulse-width-modulation (PWM) to pulsed-frequency-modulation (PFM) operation (AUTO mode), together with the automatic phase adding and phase shedding, maximizes efficiency over a wide output-current range. The LP8756x-Q1 supports remote differential-voltage sensing for multiphase outputs to compensate IR drop between the regulator output and the point-of-load (POL) improving the accuracy of the output voltage. The switching clock can be forced to PWM mode and also synchronized to an external clock to minimize the disturbances.
The LP8756x-Q1 device supports load-current measurement without the addition of external current-sense resistors. The device also supports programmable start-up and shutdown delays and sequences synchronized to enable signals. The sequences can include GPIO signals to control external regulators, load switches, and processor reset. During start-up and voltage change, the device controls the output slew rate to minimize output-voltage overshoot and in-rush current.
The LP8756x-Q1 device is designed to meet the power-management requirements of the latest processors and platforms in various automotive power applications. The device contains four step-down DC/DC converter cores, which are configured as a 4-phase output, 3-phase and 1-phase outputs, 2-phase and 2-phase outputs, one 2-phase and two 1-phase outputs, or four 1-phase outputs. The device is controlled by an I2C-compatible serial interface and by enable signals.
The automatic pulse-width-modulation (PWM) to pulsed-frequency-modulation (PFM) operation (AUTO mode), together with the automatic phase adding and phase shedding, maximizes efficiency over a wide output-current range. The LP8756x-Q1 supports remote differential-voltage sensing for multiphase outputs to compensate IR drop between the regulator output and the point-of-load (POL) improving the accuracy of the output voltage. The switching clock can be forced to PWM mode and also synchronized to an external clock to minimize the disturbances.
The LP8756x-Q1 device supports load-current measurement without the addition of external current-sense resistors. The device also supports programmable start-up and shutdown delays and sequences synchronized to enable signals. The sequences can include GPIO signals to control external regulators, load switches, and processor reset. During start-up and voltage change, the device controls the output slew rate to minimize output-voltage overshoot and in-rush current. |
| Evaluation Boards | 1 | Active | |
| Voltage Regulators - DC DC Switching Regulators | 2 | Active | |