| Interface | 1 | Obsolete | |
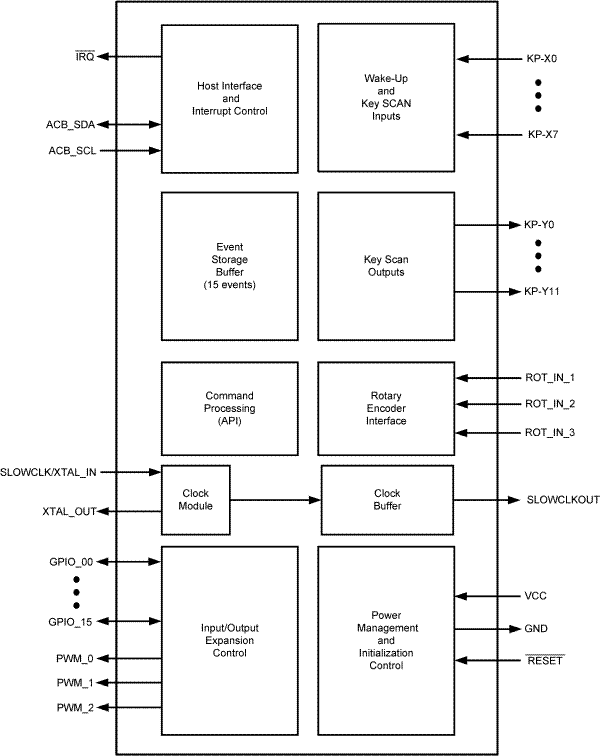
LM8323Mobile I/O Companion Supporting Keyscan, I/O Expansion, PWM, and ACCESS.bus Host Interface | Controllers | 1 | Active | The LM8323 key-scan controller is a dedicated device to unburden a host from scanning a matrix-addressed keypad. In addition, the LM8323 provides general-purpose I/O expansion, a rotary encoder interface and PWM outputs useful for dynamic LED brightness modulation.
It communicates with the host through an I2C-compatible ACCESS.bus interface. An interrupt output is available for signaling key-press and key-release events. Communication frequencies up to 400 kHz (Fast-mode) bus speed are supported. The LM8323 supports a predefined set of commands. These commands enable a host device to keep control over all functions.
The LM8323 key-scan controller is a dedicated device to unburden a host from scanning a matrix-addressed keypad. In addition, the LM8323 provides general-purpose I/O expansion, a rotary encoder interface and PWM outputs useful for dynamic LED brightness modulation.
It communicates with the host through an I2C-compatible ACCESS.bus interface. An interrupt output is available for signaling key-press and key-release events. Communication frequencies up to 400 kHz (Fast-mode) bus speed are supported. The LM8323 supports a predefined set of commands. These commands enable a host device to keep control over all functions. |
LM8325-1Mobile I/O Companion Supporting Keyscan, I/O Expansion, PWM, and ACCESS.bus Host Interface | Interface | 2 | Active | The LM8325-1 GenI/O - Expander and Keypad Controller is a dedicated device to unburden a host processor from scanning a matrix-addressed keypad and to provide flexible and general purpose, host programmable input/output functions. Three independent PWM timer outputs are provided for dynamic LED brightness modulation.
It communicates with a host processor through an I2C-compatible ACCESS.bus serial interface. It can communicate in Standard (100 kHz) - and Fast-Mode (400 kHz) in slave Mode only.
All available input/output pins can alternately be used as an input or an output in a keypad matrix or as a host programmable general purpose input or output.
Any pin programmed as an input can also sense hardware interrupts. The interrupt polarity ("high to low" or "low to high" transition) is thereby programmable.
The LM8325-1 follows a predefined register based set of commands. Upon startup (power - on) a configuration file must be sent from the host to setup the hardware of the device.
The LM8325-1 GenI/O - Expander and Keypad Controller is a dedicated device to unburden a host processor from scanning a matrix-addressed keypad and to provide flexible and general purpose, host programmable input/output functions. Three independent PWM timer outputs are provided for dynamic LED brightness modulation.
It communicates with a host processor through an I2C-compatible ACCESS.bus serial interface. It can communicate in Standard (100 kHz) - and Fast-Mode (400 kHz) in slave Mode only.
All available input/output pins can alternately be used as an input or an output in a keypad matrix or as a host programmable general purpose input or output.
Any pin programmed as an input can also sense hardware interrupts. The interrupt polarity ("high to low" or "low to high" transition) is thereby programmable.
The LM8325-1 follows a predefined register based set of commands. Upon startup (power - on) a configuration file must be sent from the host to setup the hardware of the device. |
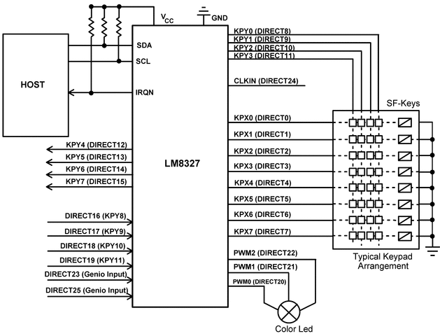
LM8327Mobile I/O Companion Supporting Keyscan, I/O Expansion, PWM, and ACCESS.bus Host Interface | Specialized | 2 | Active | The LM8327 GenI/O-Expander and Keypad Controller is a dedicated device to unburden a host processor from scanning a matrix-addressed keypad and to provide flexible and general purpose, host-programmable input/output functions. Three independent PWM timer outputs are provided for dynamic LED brightness modulation.
It communicates with a host processor through an I2C-compatible ACCESS.bus serial interface. It can communicate in Standard (100 kHz) and Fast-Mode (400 kHz) in slave Mode only.
All available input/output pins can alternately be used as a direct key input connection, an input or an output in a keypad matrix, or as a host-programmable general purpose input or output.
Any pin programmed as an input can also sense hardware interrupts. The interrupt polarity ("high-to-low" or "low-to-high" transition) is thereby programmable.
The LM8327 follows a predefined register based set of commands. Upon startup (power on) a configuration file must be sent from the host to setup the hardware of the device.
The LM8327 GenI/O-Expander and Keypad Controller is a dedicated device to unburden a host processor from scanning a matrix-addressed keypad and to provide flexible and general purpose, host-programmable input/output functions. Three independent PWM timer outputs are provided for dynamic LED brightness modulation.
It communicates with a host processor through an I2C-compatible ACCESS.bus serial interface. It can communicate in Standard (100 kHz) and Fast-Mode (400 kHz) in slave Mode only.
All available input/output pins can alternately be used as a direct key input connection, an input or an output in a keypad matrix, or as a host-programmable general purpose input or output.
Any pin programmed as an input can also sense hardware interrupts. The interrupt polarity ("high-to-low" or "low-to-high" transition) is thereby programmable.
The LM8327 follows a predefined register based set of commands. Upon startup (power on) a configuration file must be sent from the host to setup the hardware of the device. |
LM8328Mobile I/O Companion Supporting Keyscan, I/O Expansion, PWM, and ACCESS.bus Host Interface | Integrated Circuits (ICs) | 2 | Active | The LM8328 GenI/O - Expander and Keypad Controller is a dedicated device to unburden a host processor from scanning a matrix-addressed keypad and to provide flexible and general purpose, host programmable input/output functions. Three independent PWM timer outputs are provided for dynamic LED brightness modulation.
It communicates with a host processor through an I2C-compatible ACCESS.bus serial interface. It can communicate in Standard (100 kHz) - and Fast-Mode (400 kHz) in slave Mode only.
All available input/output pins can alternately be used as an input or an output in a keypad matrix or as a host programmable general purpose input or output.
Any pin programmed as an input can also sense hardware interrupts. The interrupt polarity ("high to low" or "low to high" transition) is thereby programmable.
The LM8328 follows a predefined register based set of commands. Upon start-up (power - on) a configuration file must be sent from the host to setup the hardware of the device.
The LM8328 GenI/O - Expander and Keypad Controller is a dedicated device to unburden a host processor from scanning a matrix-addressed keypad and to provide flexible and general purpose, host programmable input/output functions. Three independent PWM timer outputs are provided for dynamic LED brightness modulation.
It communicates with a host processor through an I2C-compatible ACCESS.bus serial interface. It can communicate in Standard (100 kHz) - and Fast-Mode (400 kHz) in slave Mode only.
All available input/output pins can alternately be used as an input or an output in a keypad matrix or as a host programmable general purpose input or output.
Any pin programmed as an input can also sense hardware interrupts. The interrupt polarity ("high to low" or "low to high" transition) is thereby programmable.
The LM8328 follows a predefined register based set of commands. Upon start-up (power - on) a configuration file must be sent from the host to setup the hardware of the device. |
LM833-N2-channel, 15-MHz, low distortion audio op amp | Instrumentation, OP Amps, Buffer Amps | 13 | Active | The LM833 is a dual general purpose operational amplifier designed with particular emphasis on performance in audio systems.
This dual amplifier IC utilizes new circuit and processing techniques to deliver low noise, high speed and wide bandwidth without increasing external components or decreasing stability. The LM833 is internally compensated for all closed loop gains and is therefore optimized for all preamp and high level stages in PCM and HiFi systems.
The LM833 is pin-for-pin compatible with industry standard dual operational amplifiers.
The LM833 is a dual general purpose operational amplifier designed with particular emphasis on performance in audio systems.
This dual amplifier IC utilizes new circuit and processing techniques to deliver low noise, high speed and wide bandwidth without increasing external components or decreasing stability. The LM833 is internally compensated for all closed loop gains and is therefore optimized for all preamp and high level stages in PCM and HiFi systems.
The LM833 is pin-for-pin compatible with industry standard dual operational amplifiers. |
| Specialized | 2 | Active | |
| Interface | 3 | Active | |
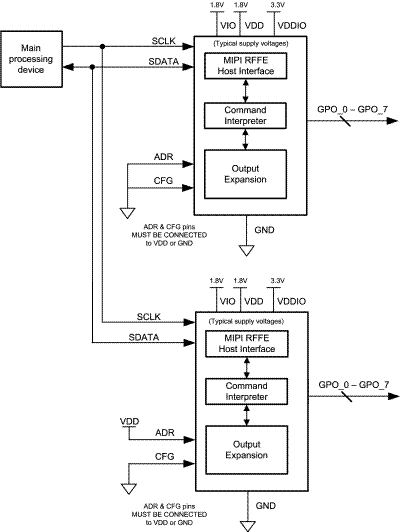
LM8335General-Purpose Output Expander with MIPI RFFE Host Interface | Evaluation and Demonstration Boards and Kits | 3 | Active | The LM8335 General Purpose Output Expander is a dedicated device to provide flexible and general purpose, host programmable output expansion functions. This device communicates with a host processor through a MIPI® RFFE Interface (Mobile Industry Processor Interface RF Front-End).
Eight general purpose outputs (GPO) can be configured by the host controller as drive high/low/high-z. Weak pull-ups (PU) or weak pull-downs (PD) can be enabled.
Upon power-on, the LM8335 default configuration is for all GPO to be set based on the state of the CFG pin.
After startup, any changes to the default configuration must be sent from the host via the MIPI RFFE host interface..
The LM8335 is available in a 16-bump lead-free DSBGA package of size 1.965 mm x 1.965 mm x 0.6 mm (0.5 mm pitch).
The LM8335 General Purpose Output Expander is a dedicated device to provide flexible and general purpose, host programmable output expansion functions. This device communicates with a host processor through a MIPI® RFFE Interface (Mobile Industry Processor Interface RF Front-End).
Eight general purpose outputs (GPO) can be configured by the host controller as drive high/low/high-z. Weak pull-ups (PU) or weak pull-downs (PD) can be enabled.
Upon power-on, the LM8335 default configuration is for all GPO to be set based on the state of the CFG pin.
After startup, any changes to the default configuration must be sent from the host via the MIPI RFFE host interface..
The LM8335 is available in a 16-bump lead-free DSBGA package of size 1.965 mm x 1.965 mm x 0.6 mm (0.5 mm pitch). |
LM8342Programmable TFT Vcom Calibrator with Non-Volatile Memory | Integrated Circuits (ICs) | 3 | Active | The LM8342 is an integrated combination of a non-volatile register (7 bits EEPROM) and a DAC controlled current source. Using the LM8342, the VCOMcalibration procedure is simplified by elimination of the potentiometer adjustment task. This adjustment task is currently performed at the factory using a trimmer adjustment tool and visual inspection.
The VCOMadjustment can be done electronically in production, using the I2C compatible interface. The factory operator can physically view the screen head-on (frontal viewing) when performing this step, easing manufacturing especially for large TFT panels.
The VCOMlevel is typically at half AVDD(determined by R1 and R2) and is buffered by the actual VCOMdriver. By controlling the level of IOUT, the VCOMlevel can be tuned. The current level at the output of the LM8342 is a fraction (1/128 to 128/128) of a maximum current which is set by RSETand an analog reference (AVDD). The actual fraction is determined by the 7-bit DAC. As a result, the output current of the LM8342 has a good temperature stability yielding a very stable VCOMadjustment. Controlling the DAC setting of the LM8342 is done via its I2C compatible interface. The actual DAC setting is stored in a volatile register. Using a "Write to EE" command the data can be stored permanently in the embedded EEPROM. At power on of the device, the EEPROM data is copied to the volatile register, setting the DAC. At any time, the data in the EEPROM can be changed again via the I2C compatible interface.
The LM8342 is an integrated combination of a non-volatile register (7 bits EEPROM) and a DAC controlled current source. Using the LM8342, the VCOMcalibration procedure is simplified by elimination of the potentiometer adjustment task. This adjustment task is currently performed at the factory using a trimmer adjustment tool and visual inspection.
The VCOMadjustment can be done electronically in production, using the I2C compatible interface. The factory operator can physically view the screen head-on (frontal viewing) when performing this step, easing manufacturing especially for large TFT panels.
The VCOMlevel is typically at half AVDD(determined by R1 and R2) and is buffered by the actual VCOMdriver. By controlling the level of IOUT, the VCOMlevel can be tuned. The current level at the output of the LM8342 is a fraction (1/128 to 128/128) of a maximum current which is set by RSETand an analog reference (AVDD). The actual fraction is determined by the 7-bit DAC. As a result, the output current of the LM8342 has a good temperature stability yielding a very stable VCOMadjustment. Controlling the DAC setting of the LM8342 is done via its I2C compatible interface. The actual DAC setting is stored in a volatile register. Using a "Write to EE" command the data can be stored permanently in the embedded EEPROM. At power on of the device, the EEPROM data is copied to the volatile register, setting the DAC. At any time, the data in the EEPROM can be changed again via the I2C compatible interface. |