TUSB8040A1Four Port SuperSpeed USB 5Gbps USB3.0 Hub | Interface | 1 | NRND | The TUSB8040A1 is a four-port USB 3.0 compliant hub and is available in a 100-pin WQFN package. The device is designed for operation over the commercial temperature range of 0°C to 70°C.
The TUSB8040A1 provides simultaneous SuperSpeed USB and high-speed or full-speed connections on the upstream port and provides SuperSpeed USB, high-speed, full-speed, or low-speed connections on the downstream ports. When the upstream port is connected to an electrical environment that only supports high-speed, full-speed, or low-speed connections, SuperSpeed USB connectivity is disabled on the downstream ports. When the upstream port is connected to an electrical environment that only supports full-speed or low-speed connections, SuperSpeed USB and high-speed connectivity are disabled on the downstream ports.
The TUSB8040A1 supports up to four downstream ports. The device may be configured to report one to four downstream ports by pin selection or by an attached EEPROM or SMBus controller. The configuration options provide the ability to scale the device by application.
shows a typical view of the TUSB8040A1.
The TUSB8040A1 is a four-port USB 3.0 compliant hub and is available in a 100-pin WQFN package. The device is designed for operation over the commercial temperature range of 0°C to 70°C.
The TUSB8040A1 provides simultaneous SuperSpeed USB and high-speed or full-speed connections on the upstream port and provides SuperSpeed USB, high-speed, full-speed, or low-speed connections on the downstream ports. When the upstream port is connected to an electrical environment that only supports high-speed, full-speed, or low-speed connections, SuperSpeed USB connectivity is disabled on the downstream ports. When the upstream port is connected to an electrical environment that only supports full-speed or low-speed connections, SuperSpeed USB and high-speed connectivity are disabled on the downstream ports.
The TUSB8040A1 supports up to four downstream ports. The device may be configured to report one to four downstream ports by pin selection or by an attached EEPROM or SMBus controller. The configuration options provide the ability to scale the device by application.
shows a typical view of the TUSB8040A1. |
TUSB8041Automotive 4-port SuperSpeed 5-Gbps USB 3.0 hub | Evaluation Boards | 9 | Active | The TUSB8041 is a four-port USB 3.0 hub. It provides simultaneous SuperSpeed USB and high-speed/full-speed connections on the upstream port and provides SuperSpeed USB, high-speed, full-speed, or low-speed connections on the downstream ports. When the upstream port is connected to an electrical environment that only supports high-speed or full-speed/low-speed connections, SuperSpeed USB connectivity is disabled on the downstream ports. When the upstream port is connected to an electrical environment that only supports full-speed/low-speed connections, SuperSpeed USB and high-speed connectivity are disabled on the downstream ports.
The TUSB8041 supports per port or ganged power switching and over-current protection, and supports battery charging applications.
An individually port power controlled hub switches power on or off to each downstream port as requested by the USB host. Also when an individually port power controlled hub senses an over-current event, only power to the affected downstream port will be switched off.
A ganged hub switches on power to all its downstream ports when power is required to be on for any port. The power to the downstream ports is not switched off unless all ports are in a state that allows power to be removed. Also when a ganged hub senses an over-current event, power to all downstream ports will be switched off.
The TUSB8041 downstream ports provide support for battery charging applications by providing Battery Charging Downstream Port (CDP) handshaking support. It also supports a Dedicated Charging Port (DCP) mode when the upstream port is not connected. The DCP mode supports USB devices which support with the USB Battery Charging and Chinese Telecommunications Industry Standard YD/T 1591-2009. In addition, an automatic mode provides transparent support for BC devices and devices supporting Divider Mode charging solutions when the upstream port unconnected.
The TUSB8041 provides pin strap configuration for some features including battery charging support, and also provides customization though OTP ROM, I2C EEPROM or via an I2C/SMBus slave interface for PID, VID, and custom port and phy configurations. Custom string support is also available when using an I2C EEPROM or the I2C/SMBus slave interface.
The device is available in a 64-pin RGC package and is offered in a commercial version (TUSB8041) for operation over the temperature range of 0°C to 70°C, and in an industrial version (TUSB8041I) for operation over the temperature range of -40°C to 85°C.
The TUSB8041 is a four-port USB 3.0 hub. It provides simultaneous SuperSpeed USB and high-speed/full-speed connections on the upstream port and provides SuperSpeed USB, high-speed, full-speed, or low-speed connections on the downstream ports. When the upstream port is connected to an electrical environment that only supports high-speed or full-speed/low-speed connections, SuperSpeed USB connectivity is disabled on the downstream ports. When the upstream port is connected to an electrical environment that only supports full-speed/low-speed connections, SuperSpeed USB and high-speed connectivity are disabled on the downstream ports.
The TUSB8041 supports per port or ganged power switching and over-current protection, and supports battery charging applications.
An individually port power controlled hub switches power on or off to each downstream port as requested by the USB host. Also when an individually port power controlled hub senses an over-current event, only power to the affected downstream port will be switched off.
A ganged hub switches on power to all its downstream ports when power is required to be on for any port. The power to the downstream ports is not switched off unless all ports are in a state that allows power to be removed. Also when a ganged hub senses an over-current event, power to all downstream ports will be switched off.
The TUSB8041 downstream ports provide support for battery charging applications by providing Battery Charging Downstream Port (CDP) handshaking support. It also supports a Dedicated Charging Port (DCP) mode when the upstream port is not connected. The DCP mode supports USB devices which support with the USB Battery Charging and Chinese Telecommunications Industry Standard YD/T 1591-2009. In addition, an automatic mode provides transparent support for BC devices and devices supporting Divider Mode charging solutions when the upstream port unconnected.
The TUSB8041 provides pin strap configuration for some features including battery charging support, and also provides customization though OTP ROM, I2C EEPROM or via an I2C/SMBus slave interface for PID, VID, and custom port and phy configurations. Custom string support is also available when using an I2C EEPROM or the I2C/SMBus slave interface.
The device is available in a 64-pin RGC package and is offered in a commercial version (TUSB8041) for operation over the temperature range of 0°C to 70°C, and in an industrial version (TUSB8041I) for operation over the temperature range of -40°C to 85°C. |
TUSB80424-Port SuperSpeed 5.0 Gbps USB 3.1 Hub | Controllers | 2 | Active | The TUSB8042 is a four-port USB 3.1 Gen1 hub. It provides simultaneous SuperSpeed USB and high-speed/full-speed connections on the upstream port and provides SuperSpeed USB, high-speed, full-speed, or low-speed connections on the downstream ports. When the upstream port is connected to an electrical environment that only supports high-speed or full-speed/low-speed connections, SuperSpeed USB connectivity is disabled on the downstream ports.
When the upstream port is connected to an electrical environment that only supports full-speed/low-speed connections, SuperSpeed USB and high-speed connectivity are disabled on the downstream ports.
The TUSB8042 supports per port or ganged power switching and over-current protection, and supports battery charging applications.
An individually port power controlled hub switches power on or off to each downstream port as requested by the USB host. Also when an individually port power controlled hub senses an over-current event, only power to the affected downstream port will be switched off.
A ganged hub switches on power to all its downstream ports when power is required to be on for any port. The power to the downstream ports is not switched off unless all ports are in a state that allows power to be removed. Also when a ganged hub senses an over-current event, power to all downstream ports will be switched off.
The TUSB8042 downstream ports provide support for battery charging applications by providing Battery Charging Downstream Port (CDP) handshaking support. It also supports a Dedicated Charging Port (DCP) mode when the upstream port is not connected. The DCP mode supports USB devices which support with the USB Battery Charging, Galaxy Charging, and Chinese Telecommunications Industry Standard YD/T 1591-2009. In addition when upstream port is unconnected, the TUSB8042 supports the divider charging port modes (ACPx modes) and an automatic transition through all modes, starting with ACP3 and ending in DCP.
The TUSB8042 provides pin strap configuration for some features including battery charging support, and also provides customization though OTP ROM, I2C EEPROM, or via an I2C/SMBus slave interface for PID, VID, and custom port and phy configurations. Custom string support is also available when using an I2C EEPROM or the I2C/SMBus slave interface.
The device is available in a 64-pin RGC package and is offered in a commercial version for operation over the temperature range of 0°C to 70°C.
The TUSB8042 is a four-port USB 3.1 Gen1 hub. It provides simultaneous SuperSpeed USB and high-speed/full-speed connections on the upstream port and provides SuperSpeed USB, high-speed, full-speed, or low-speed connections on the downstream ports. When the upstream port is connected to an electrical environment that only supports high-speed or full-speed/low-speed connections, SuperSpeed USB connectivity is disabled on the downstream ports.
When the upstream port is connected to an electrical environment that only supports full-speed/low-speed connections, SuperSpeed USB and high-speed connectivity are disabled on the downstream ports.
The TUSB8042 supports per port or ganged power switching and over-current protection, and supports battery charging applications.
An individually port power controlled hub switches power on or off to each downstream port as requested by the USB host. Also when an individually port power controlled hub senses an over-current event, only power to the affected downstream port will be switched off.
A ganged hub switches on power to all its downstream ports when power is required to be on for any port. The power to the downstream ports is not switched off unless all ports are in a state that allows power to be removed. Also when a ganged hub senses an over-current event, power to all downstream ports will be switched off.
The TUSB8042 downstream ports provide support for battery charging applications by providing Battery Charging Downstream Port (CDP) handshaking support. It also supports a Dedicated Charging Port (DCP) mode when the upstream port is not connected. The DCP mode supports USB devices which support with the USB Battery Charging, Galaxy Charging, and Chinese Telecommunications Industry Standard YD/T 1591-2009. In addition when upstream port is unconnected, the TUSB8042 supports the divider charging port modes (ACPx modes) and an automatic transition through all modes, starting with ACP3 and ending in DCP.
The TUSB8042 provides pin strap configuration for some features including battery charging support, and also provides customization though OTP ROM, I2C EEPROM, or via an I2C/SMBus slave interface for PID, VID, and custom port and phy configurations. Custom string support is also available when using an I2C EEPROM or the I2C/SMBus slave interface.
The device is available in a 64-pin RGC package and is offered in a commercial version for operation over the temperature range of 0°C to 70°C. |
| Interface | 6 | Active | The TUSB8042A is a four-port USB 3.2 x1 Gen1 (5Gbps) hub. The device provides simultaneous SuperSpeed USB, high-speed, or full-speed connections on the upstream port. The device also provides SuperSpeed USB, high-speed, full-speed, or low-speed connections on the downstream port. When the upstream port is connected to an electrical environment that only supports high-speed, full-speed, or low-speed connections, SuperSpeed USB connectivity is disabled on the downstream ports.
When the upstream port is connected to an electrical environment that only supports full-speed or low-speed connections, SuperSpeed USB and high-speed connectivity are disabled on the downstream ports.
The TUSB8042A supports per port or ganged power switching and overcurrent protection, and supports battery charging applications.
An individually port power controlled hub switches power on or off to each downstream port as requested by the USB host. Also when an individually port power controlled hub senses an overcurrent event, only power to the affected downstream port is switched off.
A ganged hub switches on power for all the downstream ports when power is required for any port. The power to the downstream ports is not switched off unless all ports are in a state that allows power to be removed. Also when a ganged hub senses an overcurrent event, power to all downstream ports is switched off.
The TUSB8042A downstream ports provide support for battery charging applications by providing Battery Charging Downstream Port (CDP) handshaking support. The device also supports a Dedicated Charging Port (DCP) mode when the upstream port is not connected. The DCP mode supports USB devices which support with the USB Battery Charging, Galaxy Charging, and Chinese Telecommunications Industry Standard YD/T 1591-2009. In addition when upstream port is unconnected, the TUSB8042A supports the divider charging port modes (ACPx modes) and an automatic transition through all modes, starting with ACP3 and ending in DCP.
The TUSB8042A provides pin strap configuration for some features including battery-charging support, and also provides customization though OTP ROM, I2C EEPROM, or through an I2C/SMBus target interface for PID, VID, and custom port and phy configurations. Custom string support is also available when using an I2C EEPROM or the I2C/SMBus target interface.
The device is available in a 64-pin RGC package and is offered in a commercial version (TUSB8042A) for operation over the temperature range of 0°C to 70°C, and in an industrial version (TUSB8042AI) for operation over the temperature range of –40°C to 85°C.
The TUSB8042A is a four-port USB 3.2 x1 Gen1 (5Gbps) hub. The device provides simultaneous SuperSpeed USB, high-speed, or full-speed connections on the upstream port. The device also provides SuperSpeed USB, high-speed, full-speed, or low-speed connections on the downstream port. When the upstream port is connected to an electrical environment that only supports high-speed, full-speed, or low-speed connections, SuperSpeed USB connectivity is disabled on the downstream ports.
When the upstream port is connected to an electrical environment that only supports full-speed or low-speed connections, SuperSpeed USB and high-speed connectivity are disabled on the downstream ports.
The TUSB8042A supports per port or ganged power switching and overcurrent protection, and supports battery charging applications.
An individually port power controlled hub switches power on or off to each downstream port as requested by the USB host. Also when an individually port power controlled hub senses an overcurrent event, only power to the affected downstream port is switched off.
A ganged hub switches on power for all the downstream ports when power is required for any port. The power to the downstream ports is not switched off unless all ports are in a state that allows power to be removed. Also when a ganged hub senses an overcurrent event, power to all downstream ports is switched off.
The TUSB8042A downstream ports provide support for battery charging applications by providing Battery Charging Downstream Port (CDP) handshaking support. The device also supports a Dedicated Charging Port (DCP) mode when the upstream port is not connected. The DCP mode supports USB devices which support with the USB Battery Charging, Galaxy Charging, and Chinese Telecommunications Industry Standard YD/T 1591-2009. In addition when upstream port is unconnected, the TUSB8042A supports the divider charging port modes (ACPx modes) and an automatic transition through all modes, starting with ACP3 and ending in DCP.
The TUSB8042A provides pin strap configuration for some features including battery-charging support, and also provides customization though OTP ROM, I2C EEPROM, or through an I2C/SMBus target interface for PID, VID, and custom port and phy configurations. Custom string support is also available when using an I2C EEPROM or the I2C/SMBus target interface.
The device is available in a 64-pin RGC package and is offered in a commercial version (TUSB8042A) for operation over the temperature range of 0°C to 70°C, and in an industrial version (TUSB8042AI) for operation over the temperature range of –40°C to 85°C. |
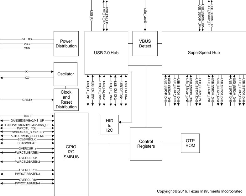
TUSB80434-Port SuperSpeed 5.0 Gbps USB 3.1 Hub with HID to I2C | Interface | 6 | Active | The TUSB8043A is a four-port USB 3.2 x1 Gen1 (5 Gbps) hub. It provides simultaneous SuperSpeed USB and high-speed/full-speed connections on the upstream port and provides SuperSpeed USB, high-speed, full-speed, or low-speed connections on the downstream ports. When the upstream port is connected to an electrical environment that only supports high-speed or full-speed/low-speed connections, SuperSpeed USB connectivity is disabled on the downstream ports.
When the upstream port is connected to an electrical environment that only supports full-speed/low-speed connections, SuperSpeed USB and high-speed connectivity are disabled on the downstream ports.
The TUSB8043A supports per port or ganged power switching and over-current protection, and supports battery charging applications.
An individually port power controlled hub switches power on or off to each downstream port as requested by the USB host. Also when an individually port power controlled hub senses an over-current event, only power to the affected downstream port is switched off.
A ganged hub switches on power to all its downstream ports when power is required to be on for any port. The power to the downstream ports is not switched off unless all ports are in a state that allows power to be removed. Also when a ganged hub senses an over-current event, power to all downstream ports is switched off.
The TUSB8043A downstream ports provide support for battery charging applications by providing Battery Charging Downstream Port (CDP) handshaking support. It also supports a Dedicated Charging Port (DCP) mode when the upstream port is not connected. The DCP mode supports USB devices which support with the USB Battery Charging, Galaxy Charging, and Chinese Telecommunications Industry Standard YD/T 1591-2009. In addition when upstream port is unconnected, the TUSB8043A supports the divider charging port modes (ACPx modes) and an automatic transition through all modes, starting with ACP3 and ending in DCP.
The TUSB8043A provides pin strap configuration for some features including battery charging support, and also provides customization though OTP ROM, I2C EEPROM, or via an I2C/SMBus slave interface for PID, VID, and custom port and phy configurations. Custom string support is also available when using an I2C EEPROM or the I2C/SMBus slave interface.
The TUSB8043A supports programming of an attached EEPROM through its internal USB HID to I2C interface.
The device is available in a 64-pin RGC package and is offered in a commercial version (TUSB8043A) for operation over the temperature range of 0°C to 70°C, and in an industrial version (TUSB8043AI) for operation over the temperature range of –40°C to 85°C.
The TUSB8043A is a four-port USB 3.2 x1 Gen1 (5 Gbps) hub. It provides simultaneous SuperSpeed USB and high-speed/full-speed connections on the upstream port and provides SuperSpeed USB, high-speed, full-speed, or low-speed connections on the downstream ports. When the upstream port is connected to an electrical environment that only supports high-speed or full-speed/low-speed connections, SuperSpeed USB connectivity is disabled on the downstream ports.
When the upstream port is connected to an electrical environment that only supports full-speed/low-speed connections, SuperSpeed USB and high-speed connectivity are disabled on the downstream ports.
The TUSB8043A supports per port or ganged power switching and over-current protection, and supports battery charging applications.
An individually port power controlled hub switches power on or off to each downstream port as requested by the USB host. Also when an individually port power controlled hub senses an over-current event, only power to the affected downstream port is switched off.
A ganged hub switches on power to all its downstream ports when power is required to be on for any port. The power to the downstream ports is not switched off unless all ports are in a state that allows power to be removed. Also when a ganged hub senses an over-current event, power to all downstream ports is switched off.
The TUSB8043A downstream ports provide support for battery charging applications by providing Battery Charging Downstream Port (CDP) handshaking support. It also supports a Dedicated Charging Port (DCP) mode when the upstream port is not connected. The DCP mode supports USB devices which support with the USB Battery Charging, Galaxy Charging, and Chinese Telecommunications Industry Standard YD/T 1591-2009. In addition when upstream port is unconnected, the TUSB8043A supports the divider charging port modes (ACPx modes) and an automatic transition through all modes, starting with ACP3 and ending in DCP.
The TUSB8043A provides pin strap configuration for some features including battery charging support, and also provides customization though OTP ROM, I2C EEPROM, or via an I2C/SMBus slave interface for PID, VID, and custom port and phy configurations. Custom string support is also available when using an I2C EEPROM or the I2C/SMBus slave interface.
The TUSB8043A supports programming of an attached EEPROM through its internal USB HID to I2C interface.
The device is available in a 64-pin RGC package and is offered in a commercial version (TUSB8043A) for operation over the temperature range of 0°C to 70°C, and in an industrial version (TUSB8043AI) for operation over the temperature range of –40°C to 85°C. |
| Development Boards, Kits, Programmers | 7 | Active | |
| Evaluation Boards | 1 | Obsolete | |
TUSB9260SuperSpeed USB 3.0 to Serial ATA Bridge | Specialized | 1 | NRND | The TUSB9260 is an ARM cortex M3 microcontroller based USB 3.0 to serial ATA bridge. It provides the necessary hardware and firmware to implement a USB attached SCSI protocol (UASP) compliant mass storage device suitable for bridging hard disk drives (HDD), solid state disk drives (SSD), optical drives and other compatible SATA 1.5-Gbps or SATA 3.0-Gbps devices to a USB 3.0 bus. In addition to UASP support, the firmware implements the mass storage class bulk-only transport (BOT), and USB human interface device (HID) interfaces.
The TUSB9260 is an ARM cortex M3 microcontroller based USB 3.0 to serial ATA bridge. It provides the necessary hardware and firmware to implement a USB attached SCSI protocol (UASP) compliant mass storage device suitable for bridging hard disk drives (HDD), solid state disk drives (SSD), optical drives and other compatible SATA 1.5-Gbps or SATA 3.0-Gbps devices to a USB 3.0 bus. In addition to UASP support, the firmware implements the mass storage class bulk-only transport (BOT), and USB human interface device (HID) interfaces. |
TUSB9261Automotive 2nd Generation SuperSpeed USB 3.0 to Serial ATA Bridge | Evaluation and Demonstration Boards and Kits | 5 | Active | The TUSB9261-Q1 is an ARM cortex M3 microcontroller based Universal Serial Bus (USB) 3.0 to Serial ATA (SATA) bridge. It provides the necessary hardware and firmware to implement a USB Attached SCSI Protocol (UASP) compliant mass storage device suitable for bridging SATA compatible hard disk drives (HDD) and solid state disk drives (SSD) to a USB 3.0 bus. The firmware also implements the mass storage class bulk-only transport (BOT) for bridging optical drives and other compatible SATA devices to the USB bus. In addition to UASP and BOT support,a USB human interface device (HID) interfaces is supported for control of the general purpose input/ouput (GPIO). The SATA interface supports gen1 (1.5-Gbps) and gen2 (3.0-Gbps) for cable lengths up to 2 meters.
The device is available in a 64-pin HTQFP package and is designed for operation over the industrial temperature range of –40°C to 85°C.
The TUSB9261-Q1 is an ARM cortex M3 microcontroller based Universal Serial Bus (USB) 3.0 to Serial ATA (SATA) bridge. It provides the necessary hardware and firmware to implement a USB Attached SCSI Protocol (UASP) compliant mass storage device suitable for bridging SATA compatible hard disk drives (HDD) and solid state disk drives (SSD) to a USB 3.0 bus. The firmware also implements the mass storage class bulk-only transport (BOT) for bridging optical drives and other compatible SATA devices to the USB bus. In addition to UASP and BOT support,a USB human interface device (HID) interfaces is supported for control of the general purpose input/ouput (GPIO). The SATA interface supports gen1 (1.5-Gbps) and gen2 (3.0-Gbps) for cable lengths up to 2 meters.
The device is available in a 64-pin HTQFP package and is designed for operation over the industrial temperature range of –40°C to 85°C. |
| Integrated Circuits (ICs) | 2 | Active | |