TPS54162Automotive 3.6V to 48V, 1A Buck Converter with Low Iq and Voltage Supervision | Integrated Circuits (ICs) | 2 | Active | The TPS541620 is a highly integrated non-isolated dual DC-DC converter that is capable of high-frequency operation in a 3-mm × 5-mm package. The device can be configured as two single 6-A rails or combined to drive a single 12-A current load. The device implements a fixed-frequency advanced current mode control (ACM) with selectable ramp amplitude configurations to optimize the loop bandwidth. Two mode selection pins (MODE1 and 2) are used to select switching frequency, configuration, clock phase delay, and internal compensation.
The TPS541620 is a highly integrated non-isolated dual DC-DC converter that is capable of high-frequency operation in a 3-mm × 5-mm package. The device can be configured as two single 6-A rails or combined to drive a single 12-A current load. The device implements a fixed-frequency advanced current mode control (ACM) with selectable ramp amplitude configurations to optimize the loop bandwidth. Two mode selection pins (MODE1 and 2) are used to select switching frequency, configuration, clock phase delay, and internal compensation. |
| Evaluation Boards | 2 | Active | |
| Evaluation Boards | 3 | Active | |
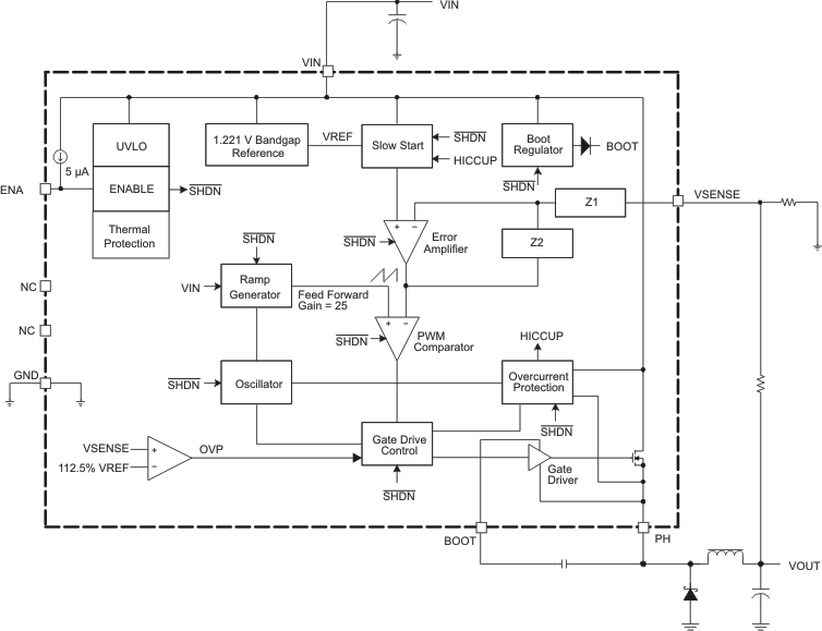
TPS5420Enhanced Product 5.5V to 36V Input, 2A, 500kHz Step Down Converter | Development Boards, Kits, Programmers | 8 | Active | As a member of the SWIFT family of dc/dc regulators, the TPS5420 is a high-output-current PWM converter that integrates a low-resistance high-side N-channel MOSFET. Included on the substrate with the listed features is a high-performance voltage error amplifier that provides tight voltage regulation accuracy under transient conditions, an undervoltage-lockout circuit to prevent start-up until the input voltage reaches 5.5V, an internally set slow-start circuit to limit inrush currents, and a voltage feed-forward circuit to improve the transient response. Using the ENA pin, shutdown supply current is reduced to 18µA typically. Other features include an active-high enable, overcurrent limiting, overvoltage protection, and thermal shutdown. To reduce design complexity and external component count, the TPS5420 feedback loop is internally compensated.
The TPS5420 device is available in an easy-to-use 8-pin SOIC package. TI provides evaluation modules and the SWIFT Designer software tool to aid in quickly achieving high-performance power supply designs to meet aggressive equipment development cycles.
As a member of the SWIFT family of dc/dc regulators, the TPS5420 is a high-output-current PWM converter that integrates a low-resistance high-side N-channel MOSFET. Included on the substrate with the listed features is a high-performance voltage error amplifier that provides tight voltage regulation accuracy under transient conditions, an undervoltage-lockout circuit to prevent start-up until the input voltage reaches 5.5V, an internally set slow-start circuit to limit inrush currents, and a voltage feed-forward circuit to improve the transient response. Using the ENA pin, shutdown supply current is reduced to 18µA typically. Other features include an active-high enable, overcurrent limiting, overvoltage protection, and thermal shutdown. To reduce design complexity and external component count, the TPS5420 feedback loop is internally compensated.
The TPS5420 device is available in an easy-to-use 8-pin SOIC package. TI provides evaluation modules and the SWIFT Designer software tool to aid in quickly achieving high-performance power supply designs to meet aggressive equipment development cycles. |
TPS542004.5V to 28V input voltage, synchronous buck LED driver | LED Driver Evaluation Boards | 3 | Active | The TPS54200 and TPS54201 devices are 1.5-A synchronous buck mono-color or IR drivers with 28-V maximum input voltage. Current-mode operation provides fast transient response and eases loop stabilization.
The TPS54200 and TPS54201 can be used to drive single-string or multi-string mono-color or Infrared (IR) LED arrays as in the case of night vision cameras.
By integrating the MOSFETs and employing the SOT-23-THIN package, the TPS54200 and TPS54201 devices provide high power density and only require a small footprint on the PCB.
The TPS54200 and TPS54201 devices implement analog dimming by changing the internal reference voltage proportional to the duty cycle of the PWM signal input in analog dimming mode. This devices also support PWM dimming mode, in which the internal reference voltage is halved to 100 mV for higher efficiency.
Cycle-by-cycle current limit in the high-side MOSFET protects the converter in an overload condition and is enhanced by a low-side MOSFET freewheeling current limit which prevents current runaway. There is a low-side MOSFET sinking current limit to prevent excessive reverse current. For safety and protection, the TPS54200 and TPS54201 devices include LED-open and -short protection, sense-resistor-open and -short protection, and device thermal protection. The TPS54200 device implements shutdown-and-latch mode protection, whereas the TPS54201 device adopts auto-retry mode protection.
The TPS54200 and TPS54201 devices are 1.5-A synchronous buck mono-color or IR drivers with 28-V maximum input voltage. Current-mode operation provides fast transient response and eases loop stabilization.
The TPS54200 and TPS54201 can be used to drive single-string or multi-string mono-color or Infrared (IR) LED arrays as in the case of night vision cameras.
By integrating the MOSFETs and employing the SOT-23-THIN package, the TPS54200 and TPS54201 devices provide high power density and only require a small footprint on the PCB.
The TPS54200 and TPS54201 devices implement analog dimming by changing the internal reference voltage proportional to the duty cycle of the PWM signal input in analog dimming mode. This devices also support PWM dimming mode, in which the internal reference voltage is halved to 100 mV for higher efficiency.
Cycle-by-cycle current limit in the high-side MOSFET protects the converter in an overload condition and is enhanced by a low-side MOSFET freewheeling current limit which prevents current runaway. There is a low-side MOSFET sinking current limit to prevent excessive reverse current. For safety and protection, the TPS54200 and TPS54201 devices include LED-open and -short protection, sense-resistor-open and -short protection, and device thermal protection. The TPS54200 device implements shutdown-and-latch mode protection, whereas the TPS54201 device adopts auto-retry mode protection. |
TPS542014.5V-to-28V Input Voltage, Synchronous Buck LED driver | Development Boards, Kits, Programmers | 3 | Active | The TPS54200 and TPS54201 devices are 1.5-A synchronous buck mono-color or IR drivers with 28-V maximum input voltage. Current-mode operation provides fast transient response and eases loop stabilization.
The TPS54200 and TPS54201 can be used to drive single-string or multi-string mono-color or Infrared (IR) LED arrays as in the case of night vision cameras.
By integrating the MOSFETs and employing the SOT-23-THIN package, the TPS54200 and TPS54201 devices provide high power density and only require a small footprint on the PCB.
The TPS54200 and TPS54201 devices implement analog dimming by changing the internal reference voltage proportional to the duty cycle of the PWM signal input in analog dimming mode. This devices also support PWM dimming mode, in which the internal reference voltage is halved to 100 mV for higher efficiency.
Cycle-by-cycle current limit in the high-side MOSFET protects the converter in an overload condition and is enhanced by a low-side MOSFET freewheeling current limit which prevents current runaway. There is a low-side MOSFET sinking current limit to prevent excessive reverse current. For safety and protection, the TPS54200 and TPS54201 devices include LED-open and -short protection, sense-resistor-open and -short protection, and device thermal protection. The TPS54200 device implements shutdown-and-latch mode protection, whereas the TPS54201 device adopts auto-retry mode protection.
The TPS54200 and TPS54201 devices are 1.5-A synchronous buck mono-color or IR drivers with 28-V maximum input voltage. Current-mode operation provides fast transient response and eases loop stabilization.
The TPS54200 and TPS54201 can be used to drive single-string or multi-string mono-color or Infrared (IR) LED arrays as in the case of night vision cameras.
By integrating the MOSFETs and employing the SOT-23-THIN package, the TPS54200 and TPS54201 devices provide high power density and only require a small footprint on the PCB.
The TPS54200 and TPS54201 devices implement analog dimming by changing the internal reference voltage proportional to the duty cycle of the PWM signal input in analog dimming mode. This devices also support PWM dimming mode, in which the internal reference voltage is halved to 100 mV for higher efficiency.
Cycle-by-cycle current limit in the high-side MOSFET protects the converter in an overload condition and is enhanced by a low-side MOSFET freewheeling current limit which prevents current runaway. There is a low-side MOSFET sinking current limit to prevent excessive reverse current. For safety and protection, the TPS54200 and TPS54201 devices include LED-open and -short protection, sense-resistor-open and -short protection, and device thermal protection. The TPS54200 device implements shutdown-and-latch mode protection, whereas the TPS54201 device adopts auto-retry mode protection. |
TPS542024.5V to 28V Input, 2A Output, EMI Friendly Synchronous Step-Down Converter | DC/DC & AC/DC (Off-Line) SMPS Evaluation Boards | 4 | Active | The TPS54202 is a 4.5-V to 28-V input voltage range, 2-A synchronous buck converter. The device includes two integrated switching FETs, internal loop compensation and 5-ms internal soft start to reduce component count.
By integrating the MOSFETs and employing the SOT-23 package, the TPS54202 achieves the high power density and offers a small footprint on the PCB.
Advanced Eco-mode implementation maximizes the light load efficiency and reduces the power loss.
The frequency spread spectrum operation is introduced for EMI reduction.
Cycle-by-cycle current limit in both high-side MOSFET protects the converter in an overload condition and is enhanced by a low-side MOSFET freewheeling current limit which prevents current runaway. Hiccup mode protection is triggered if the overcurrent condition has persisted for longer than the present time.
The TPS54202 is a 4.5-V to 28-V input voltage range, 2-A synchronous buck converter. The device includes two integrated switching FETs, internal loop compensation and 5-ms internal soft start to reduce component count.
By integrating the MOSFETs and employing the SOT-23 package, the TPS54202 achieves the high power density and offers a small footprint on the PCB.
Advanced Eco-mode implementation maximizes the light load efficiency and reduces the power loss.
The frequency spread spectrum operation is introduced for EMI reduction.
Cycle-by-cycle current limit in both high-side MOSFET protects the converter in an overload condition and is enhanced by a low-side MOSFET freewheeling current limit which prevents current runaway. Hiccup mode protection is triggered if the overcurrent condition has persisted for longer than the present time. |
TPS54202H4.5V to 28V Input, 2A Output, Synchronous Step-Down Voltage Converter | Voltage Regulators - DC DC Switching Regulators | 1 | Active | The TPS54202H is a 4.5-V to 28-V input voltage range, 2-A synchronous buck converter. The device includes two integrated switching FETs, internal loop compensation and 5-ms internal soft start to reduce component count.
By integrating the MOSFETs and employing the SOT-23 package, the TPS54202H achieves the high power density and offers a small footprint on the PCB.
Advanced Eco-mode implementation maximizes the light load efficiency and reduces the power loss.
Cycle-by-cycle current limit in both high-side MOSFET protects the converter in an overload condition and is enhanced by a low-side MOSFET freewheeling current limit which prevents current runaway. Hiccup mode protection is triggered if the overcurrent condition has persisted for longer than the present time.
The TPS54202H is a 4.5-V to 28-V input voltage range, 2-A synchronous buck converter. The device includes two integrated switching FETs, internal loop compensation and 5-ms internal soft start to reduce component count.
By integrating the MOSFETs and employing the SOT-23 package, the TPS54202H achieves the high power density and offers a small footprint on the PCB.
Advanced Eco-mode implementation maximizes the light load efficiency and reduces the power loss.
Cycle-by-cycle current limit in both high-side MOSFET protects the converter in an overload condition and is enhanced by a low-side MOSFET freewheeling current limit which prevents current runaway. Hiccup mode protection is triggered if the overcurrent condition has persisted for longer than the present time. |
TPS542182.95V to 6V Input, 2A Synchronous Step-Down SWIFT™ Converter | Development Boards, Kits, Programmers | 3 | Active | TheTPS54218 device is a full-featured, 6-V, 2-A, synchronous, step-down current-mode converter with two integrated MOSFETs.
The TPS54218 device enables small designs by integrating the MOSFETs, implementing current mode control to reduce external component count, reducing inductor size by enabling up to 2-MHz switching frequency, and minimizing the device footprint with a small, 3-mm × 3-mm, thermally-enhanced QFN package.
The TPS54218 device provides accurate regulation for a variety of loads with an accurate ±1% voltage reference (VREF) over temperature.
Efficiency is maximized through the integrated 30-mΩ MOSFETs and a 350-µA typical supply current. Using the EN pin, shutdown supply current is reduced to 2 µA by entering a shutdown mode.
Undervoltage lockout is internally set at 2.6 V, but can be increased by programming the threshold with a resistor network on the enable pin. The output voltage startup ramp is controlled by the soft-start pin. An open-drain power-good signal indicates the output is within 93% to 107% of its nominal voltage. Frequency foldback and thermal shutdown protects the device during an overcurrent condition.
For more SWIFT™ documentation, see the TI website atwww.ti.com/swift.
TheTPS54218 device is a full-featured, 6-V, 2-A, synchronous, step-down current-mode converter with two integrated MOSFETs.
The TPS54218 device enables small designs by integrating the MOSFETs, implementing current mode control to reduce external component count, reducing inductor size by enabling up to 2-MHz switching frequency, and minimizing the device footprint with a small, 3-mm × 3-mm, thermally-enhanced QFN package.
The TPS54218 device provides accurate regulation for a variety of loads with an accurate ±1% voltage reference (VREF) over temperature.
Efficiency is maximized through the integrated 30-mΩ MOSFETs and a 350-µA typical supply current. Using the EN pin, shutdown supply current is reduced to 2 µA by entering a shutdown mode.
Undervoltage lockout is internally set at 2.6 V, but can be increased by programming the threshold with a resistor network on the enable pin. The output voltage startup ramp is controlled by the soft-start pin. An open-drain power-good signal indicates the output is within 93% to 107% of its nominal voltage. Frequency foldback and thermal shutdown protects the device during an overcurrent condition.
For more SWIFT™ documentation, see the TI website atwww.ti.com/swift. |
TPS542254.5 V to 18 V input, 2 A synchronous step-down converter in HTSSOP package | Evaluation Boards | 4 | Active | The TPS54225-Q1 is an adaptive on-time D-CAP2™ mode synchronous buck converter. The TPS54225-Q1 enables system designers to complete the suite of various end equipment’s power bus regulators with a cost effective, low component count, low standby current solution. The main control loop for the TPS54225-Q1 uses the D-CAP2™ mode control which provides a fast transient response with no external compensation components.
The TPS54225-Q1 also has a proprietary circuit that enables the device to adapt to both low equivalent series resistance (ESR) output capacitors, such as POSCAP or SP-CAP, and ultra-low ESR ceramic capacitors. The device operates from 4.5-V to 18-V VCCinput , and from 2-V to 18-V VIN input power supply voltage. The output voltage can be programmed between 0.76 V and 5.5 V. The device also features an adjustable slow start time and a power good function. The TPS54225-Q1 is available in the 14 pin HTSSOP package, and designed to operate from –40°C to 85°C.
The TPS54225-Q1 is an adaptive on-time D-CAP2™ mode synchronous buck converter. The TPS54225-Q1 enables system designers to complete the suite of various end equipment’s power bus regulators with a cost effective, low component count, low standby current solution. The main control loop for the TPS54225-Q1 uses the D-CAP2™ mode control which provides a fast transient response with no external compensation components.
The TPS54225-Q1 also has a proprietary circuit that enables the device to adapt to both low equivalent series resistance (ESR) output capacitors, such as POSCAP or SP-CAP, and ultra-low ESR ceramic capacitors. The device operates from 4.5-V to 18-V VCCinput , and from 2-V to 18-V VIN input power supply voltage. The output voltage can be programmed between 0.76 V and 5.5 V. The device also features an adjustable slow start time and a power good function. The TPS54225-Q1 is available in the 14 pin HTSSOP package, and designed to operate from –40°C to 85°C. |