TPS62623600-mA, 6-MHz, Vout 1.225V, 90% Efficiency Step-Down Converter | Power Management (PMIC) | 1 | Active | The TPS6262x device family provides high-frequency synchronous step-down DC/DC converters optimized for battery-powered portable applications. Intended for low-power applications, the TPS6262x devices support up to 600 mA load current, and allow the use of low cost chip inductor and capacitors.
With a wide input voltage range of 2.3 V to 5.5 V, the devices support applications powered by Li-Ion batteries with extended voltage range. Different fixed voltage output versions are available from 1.2 V to 2.3 V.
The TPS6262x devices operate at a regulated 6-MHz switching frequency and enter the power-save mode operation at light load currents to maintain high efficiency over the entire load current range.
The pulse frequency modulation (PFM) mode extends the battery life by reducing the quiescent current to 31 µA (typical) during light load and standby operation. For noise-sensitive applications, the device can be forced into fixed frequency pulse width modulation (PWM) mode by pulling the MODE pin high.
The TPS6262x devices operate over a free air temperature range of –40°C to 85°C. They are available in a 6-pin chip-scale package (WCSP).
The TPS6262x device family provides high-frequency synchronous step-down DC/DC converters optimized for battery-powered portable applications. Intended for low-power applications, the TPS6262x devices support up to 600 mA load current, and allow the use of low cost chip inductor and capacitors.
With a wide input voltage range of 2.3 V to 5.5 V, the devices support applications powered by Li-Ion batteries with extended voltage range. Different fixed voltage output versions are available from 1.2 V to 2.3 V.
The TPS6262x devices operate at a regulated 6-MHz switching frequency and enter the power-save mode operation at light load currents to maintain high efficiency over the entire load current range.
The pulse frequency modulation (PFM) mode extends the battery life by reducing the quiescent current to 31 µA (typical) during light load and standby operation. For noise-sensitive applications, the device can be forced into fixed frequency pulse width modulation (PWM) mode by pulling the MODE pin high.
The TPS6262x devices operate over a free air temperature range of –40°C to 85°C. They are available in a 6-pin chip-scale package (WCSP). |
TPS62624600-mA, 6-MHz, Vout 1.2V, 90% Efficiency Step-Down Converter | Integrated Circuits (ICs) | 2 | Active | The TPS6262x device family provides high-frequency synchronous step-down DC/DC converters optimized for battery-powered portable applications. Intended for low-power applications, the TPS6262x devices support up to 600 mA load current, and allow the use of low cost chip inductor and capacitors.
With a wide input voltage range of 2.3 V to 5.5 V, the devices support applications powered by Li-Ion batteries with extended voltage range. Different fixed voltage output versions are available from 1.2 V to 2.3 V.
The TPS6262x devices operate at a regulated 6-MHz switching frequency and enter the power-save mode operation at light load currents to maintain high efficiency over the entire load current range.
The pulse frequency modulation (PFM) mode extends the battery life by reducing the quiescent current to 31 µA (typical) during light load and standby operation. For noise-sensitive applications, the device can be forced into fixed frequency pulse width modulation (PWM) mode by pulling the MODE pin high.
The TPS6262x devices operate over a free air temperature range of –40°C to 85°C. They are available in a 6-pin chip-scale package (WCSP).
The TPS6262x device family provides high-frequency synchronous step-down DC/DC converters optimized for battery-powered portable applications. Intended for low-power applications, the TPS6262x devices support up to 600 mA load current, and allow the use of low cost chip inductor and capacitors.
With a wide input voltage range of 2.3 V to 5.5 V, the devices support applications powered by Li-Ion batteries with extended voltage range. Different fixed voltage output versions are available from 1.2 V to 2.3 V.
The TPS6262x devices operate at a regulated 6-MHz switching frequency and enter the power-save mode operation at light load currents to maintain high efficiency over the entire load current range.
The pulse frequency modulation (PFM) mode extends the battery life by reducing the quiescent current to 31 µA (typical) during light load and standby operation. For noise-sensitive applications, the device can be forced into fixed frequency pulse width modulation (PWM) mode by pulling the MODE pin high.
The TPS6262x devices operate over a free air temperature range of –40°C to 85°C. They are available in a 6-pin chip-scale package (WCSP). |
TPS62625600-mA, 6-MHz, Vout 1.2V with Active Output Cap Discharge Capability | Evaluation Boards | 3 | Active | The TPS6262x device family provides high-frequency synchronous step-down DC/DC converters optimized for battery-powered portable applications. Intended for low-power applications, the TPS6262x devices support up to 600 mA load current, and allow the use of low cost chip inductor and capacitors.
With a wide input voltage range of 2.3 V to 5.5 V, the devices support applications powered by Li-Ion batteries with extended voltage range. Different fixed voltage output versions are available from 1.2 V to 2.3 V.
The TPS6262x devices operate at a regulated 6-MHz switching frequency and enter the power-save mode operation at light load currents to maintain high efficiency over the entire load current range.
The pulse frequency modulation (PFM) mode extends the battery life by reducing the quiescent current to 31 µA (typical) during light load and standby operation. For noise-sensitive applications, the device can be forced into fixed frequency pulse width modulation (PWM) mode by pulling the MODE pin high.
The TPS6262x devices operate over a free air temperature range of –40°C to 85°C. They are available in a 6-pin chip-scale package (WCSP).
The TPS6262x device family provides high-frequency synchronous step-down DC/DC converters optimized for battery-powered portable applications. Intended for low-power applications, the TPS6262x devices support up to 600 mA load current, and allow the use of low cost chip inductor and capacitors.
With a wide input voltage range of 2.3 V to 5.5 V, the devices support applications powered by Li-Ion batteries with extended voltage range. Different fixed voltage output versions are available from 1.2 V to 2.3 V.
The TPS6262x devices operate at a regulated 6-MHz switching frequency and enter the power-save mode operation at light load currents to maintain high efficiency over the entire load current range.
The pulse frequency modulation (PFM) mode extends the battery life by reducing the quiescent current to 31 µA (typical) during light load and standby operation. For noise-sensitive applications, the device can be forced into fixed frequency pulse width modulation (PWM) mode by pulling the MODE pin high.
The TPS6262x devices operate over a free air temperature range of –40°C to 85°C. They are available in a 6-pin chip-scale package (WCSP). |
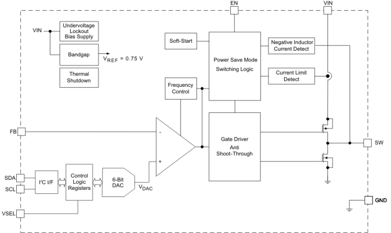
TPS62650-Q1800-mA, 6-MHz Synchronous Step-Down Converter in Chip Scale Packaging | Integrated Circuits (ICs) | 3 | Active | The TPS6265x device is a high-frequency synchronous step-down dc-dc converter optimized for battery-powered portable applications. Intended for low-power applications, the TPS6265x supports up to 800mA load current and allows the use of small, low cost inductors and capacitors.
The device is ideal for mobile phones and similar portable applications powered by a single-cell Li-Ion battery. With an output voltage range adjustable via I2C interface down to 0.75V, the device supports low-voltage DSPs and processors core power supplies in smart-phones and handheld computers.
The TPS6265x operates at a regulated 6MHz switching frequency and enters the efficiency optimized power-save mode operation at light load currents to maintain high efficiency over the entire load current range. In the shutdown mode, the current consumption is reduced to less than 3.5µA.
The serial interface is compatible with Standard, Fast/Fast Plus and High-Speed mode I2C specification allowing transfers at up to 3.4 Mbps. This communication interface is used for dynamic voltage scaling with voltage steps down to 12.5mV, for setting the output voltage or reprogramming the mode of operation (PFM/PWM or Forced PWM) for instance.
The TPS6265x is available in an 9-pin chip-scale package (CSP).
The TPS6265x device is a high-frequency synchronous step-down dc-dc converter optimized for battery-powered portable applications. Intended for low-power applications, the TPS6265x supports up to 800mA load current and allows the use of small, low cost inductors and capacitors.
The device is ideal for mobile phones and similar portable applications powered by a single-cell Li-Ion battery. With an output voltage range adjustable via I2C interface down to 0.75V, the device supports low-voltage DSPs and processors core power supplies in smart-phones and handheld computers.
The TPS6265x operates at a regulated 6MHz switching frequency and enters the efficiency optimized power-save mode operation at light load currents to maintain high efficiency over the entire load current range. In the shutdown mode, the current consumption is reduced to less than 3.5µA.
The serial interface is compatible with Standard, Fast/Fast Plus and High-Speed mode I2C specification allowing transfers at up to 3.4 Mbps. This communication interface is used for dynamic voltage scaling with voltage steps down to 12.5mV, for setting the output voltage or reprogramming the mode of operation (PFM/PWM or Forced PWM) for instance.
The TPS6265x is available in an 9-pin chip-scale package (CSP). |
TPS62651800mA, 6MHz High Efficiency Step-Down Converter with I2C Compatible Interface | Power Management (PMIC) | 1 | Obsolete | The TPS6265x device is a high-frequency synchronous step-down dc-dc converter optimized for battery-powered portable applications. Intended for low-power applications, the TPS6265x supports up to 800mA load current and allows the use of small, low cost inductors and capacitors.
The device is ideal for mobile phones and similar portable applications powered by a single-cell Li-Ion battery. With an output voltage range adjustable via I2C interface down to 0.75V, the device supports low-voltage DSPs and processors core power supplies in smart-phones and handheld computers.
The TPS6265x operates at a regulated 6MHz switching frequency and enters the efficiency optimized power-save mode operation at light load currents to maintain high efficiency over the entire load current range. In the shutdown mode, the current consumption is reduced to less than 3.5µA.
The serial interface is compatible with Standard, Fast/Fast Plus and High-Speed mode I2C specification allowing transfers at up to 3.4 Mbps. This communication interface is used for dynamic voltage scaling with voltage steps down to 12.5mV, for setting the output voltage or reprogramming the mode of operation (PFM/PWM or Forced PWM) for instance.
The TPS6265x is available in an 9-pin chip-scale package (CSP).
The TPS6265x device is a high-frequency synchronous step-down dc-dc converter optimized for battery-powered portable applications. Intended for low-power applications, the TPS6265x supports up to 800mA load current and allows the use of small, low cost inductors and capacitors.
The device is ideal for mobile phones and similar portable applications powered by a single-cell Li-Ion battery. With an output voltage range adjustable via I2C interface down to 0.75V, the device supports low-voltage DSPs and processors core power supplies in smart-phones and handheld computers.
The TPS6265x operates at a regulated 6MHz switching frequency and enters the efficiency optimized power-save mode operation at light load currents to maintain high efficiency over the entire load current range. In the shutdown mode, the current consumption is reduced to less than 3.5µA.
The serial interface is compatible with Standard, Fast/Fast Plus and High-Speed mode I2C specification allowing transfers at up to 3.4 Mbps. This communication interface is used for dynamic voltage scaling with voltage steps down to 12.5mV, for setting the output voltage or reprogramming the mode of operation (PFM/PWM or Forced PWM) for instance.
The TPS6265x is available in an 9-pin chip-scale package (CSP). |
| Voltage Regulators - DC DC Switching Regulators | 2 | Active | |
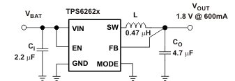
TPS626651000mA, 6-MHz Synchronous Step-Down Converter in Chip Scale Packaging | Integrated Circuits (ICs) | 1 | Active | The TPS6266x device is a high-frequency synchronous step-down DC-DC converter optimized for battery-powered portable applications. Intended for low-power applications, the TPS6266x supports up to 1000-mA peak load current, and allows the use of low-cost chip inductor and capacitors.
With a wide input voltage range of 2.3 V to 5.5 V, the device supports applications powered by Li-Ion batteries with extended voltage range. Different fixed voltage output versions are available from 1.2 V to 2.3 V.
The TPS6266x operates at a regulated 6-MHz switching frequency and enters the power-save mode operation at light load currents to maintain high efficiency over the entire load current range.
The PFM mode extends the battery life by reducing the quiescent current to 31 µA (typical) during light load and standby operation. For noise-sensitive applications, the device can be forced into fixed frequency PWM mode by pulling the MODE pin high. In the shutdown mode, the current consumption is reduced to less than 1 µA.
The TPS6266x is available in an 6-pin chip scale package (DSBGA).
The TPS6266x device is a high-frequency synchronous step-down DC-DC converter optimized for battery-powered portable applications. Intended for low-power applications, the TPS6266x supports up to 1000-mA peak load current, and allows the use of low-cost chip inductor and capacitors.
With a wide input voltage range of 2.3 V to 5.5 V, the device supports applications powered by Li-Ion batteries with extended voltage range. Different fixed voltage output versions are available from 1.2 V to 2.3 V.
The TPS6266x operates at a regulated 6-MHz switching frequency and enters the power-save mode operation at light load currents to maintain high efficiency over the entire load current range.
The PFM mode extends the battery life by reducing the quiescent current to 31 µA (typical) during light load and standby operation. For noise-sensitive applications, the device can be forced into fixed frequency PWM mode by pulling the MODE pin high. In the shutdown mode, the current consumption is reduced to less than 1 µA.
The TPS6266x is available in an 6-pin chip scale package (DSBGA). |
TPS62671500-mA, 6-MHz High-Efficiency Step-Down Converter, Vout=1.8V | Power Management (PMIC) | 1 | Active | The TPS6267x devices are high-frequency synchronous step-down dc-dc converters optimized for small battery-powered applications. Intended for low-power applications, the TPS6267x supports up to 650-mA load current and allows the use of low cost chip inductor and capacitors.
With a wide input voltage range of 2.3V to 4.8V, the device supports applications powered by Li-Ion batteries with extended voltage range. Different fixed voltage output versions are available from 1.05V to 2.1V. The TPS6267x operates at a regulated 6-MHz switching frequency and enters the power-save mode operation at light load currents to maintain high efficiency over the entire load current range.
The PFM mode extends the battery life by reducing the quiescent current to 17µA (typ) during light load operation. For noise-sensitive applications, the device has PWM spread spectrum capability providing a lower noise regulated output, as well as low noise at the input. These features, combined with high PSRR and AC load regulation performance, make this device suitable to replace a linear regulator to obtain better power conversion efficiency.
The TPS6267x devices are high-frequency synchronous step-down dc-dc converters optimized for small battery-powered applications. Intended for low-power applications, the TPS6267x supports up to 650-mA load current and allows the use of low cost chip inductor and capacitors.
With a wide input voltage range of 2.3V to 4.8V, the device supports applications powered by Li-Ion batteries with extended voltage range. Different fixed voltage output versions are available from 1.05V to 2.1V. The TPS6267x operates at a regulated 6-MHz switching frequency and enters the power-save mode operation at light load currents to maintain high efficiency over the entire load current range.
The PFM mode extends the battery life by reducing the quiescent current to 17µA (typ) during light load operation. For noise-sensitive applications, the device has PWM spread spectrum capability providing a lower noise regulated output, as well as low noise at the input. These features, combined with high PSRR and AC load regulation performance, make this device suitable to replace a linear regulator to obtain better power conversion efficiency. |
TPS62672500-mA, 6-MHz High-Efficiency Step-Down Converter, Vout=1.5V | Voltage Regulators - DC DC Switching Regulators | 2 | Active | The TPS6267x devices are high-frequency synchronous step-down dc-dc converters optimized for small battery-powered applications. Intended for low-power applications, the TPS6267x supports up to 650-mA load current and allows the use of low cost chip inductor and capacitors.
With a wide input voltage range of 2.3V to 4.8V, the device supports applications powered by Li-Ion batteries with extended voltage range. Different fixed voltage output versions are available from 1.05V to 2.1V. The TPS6267x operates at a regulated 6-MHz switching frequency and enters the power-save mode operation at light load currents to maintain high efficiency over the entire load current range.
The PFM mode extends the battery life by reducing the quiescent current to 17µA (typ) during light load operation. For noise-sensitive applications, the device has PWM spread spectrum capability providing a lower noise regulated output, as well as low noise at the input. These features, combined with high PSRR and AC load regulation performance, make this device suitable to replace a linear regulator to obtain better power conversion efficiency.
The TPS6267x devices are high-frequency synchronous step-down dc-dc converters optimized for small battery-powered applications. Intended for low-power applications, the TPS6267x supports up to 650-mA load current and allows the use of low cost chip inductor and capacitors.
With a wide input voltage range of 2.3V to 4.8V, the device supports applications powered by Li-Ion batteries with extended voltage range. Different fixed voltage output versions are available from 1.05V to 2.1V. The TPS6267x operates at a regulated 6-MHz switching frequency and enters the power-save mode operation at light load currents to maintain high efficiency over the entire load current range.
The PFM mode extends the battery life by reducing the quiescent current to 17µA (typ) during light load operation. For noise-sensitive applications, the device has PWM spread spectrum capability providing a lower noise regulated output, as well as low noise at the input. These features, combined with high PSRR and AC load regulation performance, make this device suitable to replace a linear regulator to obtain better power conversion efficiency. |
TPS62674500-mA, 6-MHz High-Efficiency Step-Down Converter in Low Profile Chip Scale Packaging, Vout=1.26V | Voltage Regulators - DC DC Switching Regulators | 1 | Active | The TPS6267x devices are high-frequency synchronous step-down dc-dc converters optimized for small battery-powered applications. Intended for low-power applications, the TPS6267x supports up to 650-mA load current and allows the use of low cost chip inductor and capacitors.
With a wide input voltage range of 2.3V to 4.8V, the device supports applications powered by Li-Ion batteries with extended voltage range. Different fixed voltage output versions are available from 1.05V to 2.1V. The TPS6267x operates at a regulated 6-MHz switching frequency and enters the power-save mode operation at light load currents to maintain high efficiency over the entire load current range.
The PFM mode extends the battery life by reducing the quiescent current to 17µA (typ) during light load operation. For noise-sensitive applications, the device has PWM spread spectrum capability providing a lower noise regulated output, as well as low noise at the input. These features, combined with high PSRR and AC load regulation performance, make this device suitable to replace a linear regulator to obtain better power conversion efficiency.
The TPS6267x devices are high-frequency synchronous step-down dc-dc converters optimized for small battery-powered applications. Intended for low-power applications, the TPS6267x supports up to 650-mA load current and allows the use of low cost chip inductor and capacitors.
With a wide input voltage range of 2.3V to 4.8V, the device supports applications powered by Li-Ion batteries with extended voltage range. Different fixed voltage output versions are available from 1.05V to 2.1V. The TPS6267x operates at a regulated 6-MHz switching frequency and enters the power-save mode operation at light load currents to maintain high efficiency over the entire load current range.
The PFM mode extends the battery life by reducing the quiescent current to 17µA (typ) during light load operation. For noise-sensitive applications, the device has PWM spread spectrum capability providing a lower noise regulated output, as well as low noise at the input. These features, combined with high PSRR and AC load regulation performance, make this device suitable to replace a linear regulator to obtain better power conversion efficiency. |