M95320-DF32-Kbit SPI bus EEPROM with high-speed clock | Integrated Circuits (ICs) | 8 | Active | The M95320 devices are Electrically Erasable PROgrammable Memories (EEPROMs) organized as 4096 x 8 bits, accessed through the SPI bus.
The M95320 devices can operate with a supply range from 1.7 V to 5.5 V, and are guaranteed over the -40 °C/+85 °C temperature range. |
M95512-A125512-Kbit serial SPI bus EEPROM with high speed clock 105°C operation | Integrated Circuits (ICs) | 7 | Active | The M95512-A125 and M95512-A145 are 512-Kbit serial EEPROM Automotive grade devices operating up to 145°C. They are compliant with the very high level of reliability defined by the Automotive standard AEC-Q100 grade 0.
The devices are accessed by a simple serial SPI compatible interface running up to 16 MHz.
The memory array is based on advanced true EEPROM technology (Electrically Erasable PROgrammable Memory). The M95512-A125 and M95512-A145 are byte-alterable memories (65536 × 8 bits) organized as 512 pages of 128 byte in which the data integrity is significantly improved with an embedded Error Correction Code logic.
The M95512-A125 and M95512-A145 offer an additional Identification Page (128 byte) in which the ST device identification can be read. This page can also be used to store sensitive application parameters which can be later permanently locked in read-only mode. |
M95640-A145Automotive 64 Kbit SPI bus EEPROM with high speed clock | Memory | 9 | Active | The M95640-A125 and M95640-A145 are 64-Kbit serial EEPROM Automotive grade devices operating up to 145°C. They are compliant with the very high level of reliability defined by the Automotive standard AEC-Q100 grade 0.
The devices are accessed by a simple serial SPI compatible interface running up to 20 MHz.
The memory array is based on advanced true EEPROM technology (Electrically Erasable PROgrammable Memory). The M95640-A125 and M95640-A145 are byte-alterable memories (8192 × 8 bits) organized as 256 pages of 32 byte in which the data integrity is significantly improved with an embedded Error Correction Code logic.
The M95640-A125 and M95640-A145 offer an additional Identification Page (32 byte) in which the ST device identification can be read. This page can also be used to store sensitive application parameters which can be later permanently locked in read-only mode. |
M95M01-A145Automotive 1024 Kbit SPI bus EEPROM with high speed clock | Memory | 7 | Active | The M95M01-A125 and M95M01-A145 are 1-Mbit serial EEPROM Automotive grade devices operating up to 145°C. They are compliant with the very high level of reliability defined by the Automotive standard AEC-Q100 grade 0.
The devices are accessed by a simple serial SPI compatible interface running up to 16 MHz.
The memory array is based on advanced true EEPROM technology (Electrically Erasable PROgrammable Memory). The M95M01-A125 and M95M01-A145 are byte-alterable memories (131072 × 8 bits) organized as 512 pages of 256 bytes in which the data integrity is significantly improved with an embedded Error Correction Code logic.
The M95M01-A125 and M95M01-A145 offer an additional Identification Page (256 bytes) in which the ST device identification can be read. This page can also be used to store sensitive application parameters which can be later permanently locked in read-only mode. |
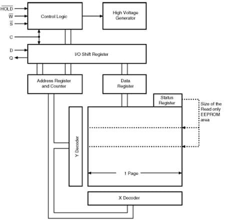
| Integrated Circuits (ICs) | 2 | Active | The M95M02 devices are electrically erasable programmable memory (EEPROM) organized as 262144 x 8 bits, accessed through the SPI bus.
Over an ambient temperature range of -40 °C / +85 °C the M95M02-DR can operate with a supply voltage from 1.8 to 5.5 V. Over an ambient temperature range of -20 °C / +85 °C the M95M02-DF can operate with a supply voltage from 1.7 to 5.5 V.
The M95M02 devices offer an additional page, named the Identification page (256 bytes). The Identification page can be used to store sensitive application parameters that can be (later) permanently locked in read-only mode.
The SPI bus signals are C, D and Q, as shown in Figure 1 and Table 1. The device is selected when chip select (S) is driven low. Communications with the device can be interrupted when the HOLD is driven low. |
M95M04-A145Automotive 4096 Kbit SPI bus EEPROM with high speed clock | Memory | 4 | Active | The M95M04-A125 and M95M04-A145 are 4-Mbit serial EEPROM automotive grade devices operating up to 145 °C. They are compliant with the very high level of reliability defined by the automotive standard AEC-Q100 grade 0.
The devices are accessed by a simple serial SPI compatible interface running at up to 10 MHz.
The memory array is based on advanced true EEPROM technology (electrically erasable programmable memory). The M95M04-A125 and M95M04-A145 are byte-alterable memories (524288 × 8 bits) organized as 1024 pages of 512 bytes in which the data integrity is significantly improved with an embedded error correction code logic.
The M95M04-A125 and M95M04-A145 offer an additional identification page (512 bytes) in which the ST device identification can be read. This page can also be used to store sensitive application parameters that can later be permanently locked in read-only mode. |
M95P08-IUltra low-power 8 Mbit Serial SPI Page EEPROM | Integrated Circuits (ICs) | 1 | Active | The M95P08-I and M95P08-E are manufactured with ST's advanced proprietary NVM technology. They offer byte flexibility, page alterability, high page cycling performance, and ultra‑low power consumption, equivalent to that of EEPROM technology.
The M95P08-I and M95P08-E are an 8-Mbit SPI page EEPROM device organized as 2048 programmable pages of 512 bytes each, accessed through an SPI bus with high-performance dual- and quad SPI outputs.
The devices offer two additional (identification) 512-byte pages:
Additional status, configuration, and volatile registers set the desired device configuration, while the safety register provides information on the device status.
The M95P08-I operates with a supply voltage from 1.6 to 3.6 V over an ambient temperature range of -40 °C to +85 °C.
The M95P08-E offers an extended temperature range from -40 °C to +105 °C. The device supports a clock frequency of up to 80 MHz.
The M95P08-I and M95P08-E offer byte and page write instructions of up to 512 bytes. Write instructions consist in self-timed auto erase and program operations, resulting in flexible data byte management.
The devices also accept page/block/sector/chip erase commands to set the memory to an erased state.
The memory can then be fast-programmed by 512-byte pages, and further optimized using the Page program with buffer load instruction to hide the SPI communication latency. |
M95P32-IUltra low-power 32 Mbit Serial SPI Page EEPROM | Integrated Circuits (ICs) | 1 | Active | The M95P32-I and M95P32-E are manufactured with ST's advanced proprietary NVM technology. They offer byte flexibility, page alterability, high page cycling performance, and ultra-low power consumption, equivalent to that of EEPROM technology.
The M95P32-I and M95P32-E are a 32-Mbit SPI page EEPROM device organized as 8192 programmable pages of 512 bytes each, accessed through an SPI bus with high-performance dual- and quad-SPI outputs.
The devices offer two additional (identification) 512-byte pages:
Additional status, configuration and volatile registers set the desired device configuration, while the safety register provides information on the device status.
The M95P32-I operates with a supply voltage from 1.6 to 3.6 V over an ambient temperature range of -40 °C to +85 °C. The M95P32-E offers an extended range of temperature of -40°C to +105 °C. The device supports a clock frequency of up to 80 MHz.
The M95P32-I and M95P32-E offer byte and page write instructions of up to 512 bytes. Write instructions consist in self-timed auto erase and program operations, resulting in flexible data byte management.
The devices also accept page/block/sector/chip erase commands to set the memory to an erased state.
The memory can then be fast-programmed by 512-byte pages, and further optimized using the Page program with buffer load instruction to hide the SPI communication latency. |
MASTERGAN1High power density 600V half-bridge driver with two enhancement mode GaN HEMTs | Integrated Circuits (ICs) | 1 | Active | The MASTERGAN1 is an advanced power system-in-package integrating a gate driver and two enhancement mode GaN transistors in half‑bridge configuration.
The integrated power GaNs have RDS(ON)of 150 mΩ and 650 V drain‑source breakdown voltage, while the high side of the embedded gate driver can be easily supplied by the integrated bootstrap diode.
The MASTERGAN1 features UVLO protection on both the lower and upper driving sections, preventing the power switches from operating in low efficiency or dangerous conditions, and the interlocking function avoids cross-conduction conditions.
The input pins extended range allows easy interfacing with microcontrollers, DSP units or Hall effect sensors.
The MASTERGAN1 operates in the industrial temperature range, -40°C to 125°C.
The device is available in a compact 9x9 mm QFN package. |
MASTERGAN1L600 V half-bridge enhancement mode GaN HEMT with high voltage driver | Power Management (PMIC) | 1 | Active | The MASTERGAN1L is an advanced power system-in-package integrating a gate driver and two enhancement mode GaN transistors in half‑bridge configuration.
The integrated power GaNs have RDS(ON) of 150 mΩ, 650 V drain‑source blocking voltage, while the high side of the embedded gate driver can be easily supplied by the integrated bootstrap diode.
The MASTERGAN1L features UVLO protection on VCC, preventing the power switches from operating in low efficiency or dangerous conditions, and the interlocking function avoids cross-conduction conditions.
The input pins extended range allows easy interfacing with analog controllers, microcontrollers and DSP units.
The MASTERGAN1L operates in the industrial temperature range, -40°C to 125°C.
The device is available in a compact 9x9 mm QFN package. |