| Integrated Circuits (ICs) | 6 | Active | The M93C46 (1 Kbit), M93C56 (2 Kbit), M93C66 (4 Kbit), M93C76 (8 Kbit) and M93C86 (16 Kbit) are Electrically Erasable PROgrammable Memory (EEPROM) devices accessed through the MICROWIRE™ bus protocol. The memory array can be configured either in bytes (x8b) or in words (x16b).
The M93Cx6-A125 devices operate within a voltage supply range from 1.8 V to 5.5 V
The M93Cx6-A125 devices are guaranteed over the -40 °C/+125 °C temperature range and are compliant with the Automotive standard AEC-Q100 Grade 1. |
M93S46-W1-Kbit MICROWIRE serial access EEPROM with block protection | Integrated Circuits (ICs) | 4 | Active | The M93S46, M93S56, M93S66 devices are Electrically Erasable PROgrammable Memories (EEPROMs) organized as 64, 128 or 256 words (one word is 16 bits), accessed through the MICROWIRE bus.
The M93S46, M93S56, M93S66 can operate with a supply voltage from 2.5 V to 5.5 V over an ambient temperature range of -40 °C / +85 °C. |
| Integrated Circuits (ICs) | 2 | Active | |
| Memory | 2 | Obsolete | |
M95010-W1Kbit Serial SPI Bus EEPROM With High Speed Clock | Memory | 5 | Active | The M95010/M95020/M95040 devices (M950x0) are electrically erasable programmable memories (EEPROMs) organized as 128/256/512 x 8 bits respectively, accessed through the SPI bus.
The M950x0-W can operate with a supply voltage from 2.5 V to 5.5 V, the M950x0-R can operate with a supply voltage from 1.8 V to 5.5 V and the M950x0-DF can operate with a supply voltage from 1.7 V to 5.5 V, over an ambient temperature range of -40 °C / +85 °C
The M950x0-DF offers an additional page, named the identification page (16 bytes). The identification page can be used to store sensitive application parameters that can be (later) permanently locked in read-only mode. |
M95020-A125Automotive 2-Kbit SPI bus EEPROM with high-speed clock | Memory | 6 | Active | The M95020-A125 and M95020-A145 are 2-Kbit serial EEPROM Automotive grade devices operating up to 145°C. They are compliant with the very high level of reliability defined by the Automotive standard AEC-Q100 grade 0.
The devices are accessed by a simple serial SPI compatible interface running up to 20 MHz.
The memory array is based on advanced true EEPROM technology (Electrically Erasable PROgrammable Memory). The M95020-A125 and M95020-A145 are byte-alterable memories (256 × 8 bits) organized as 16 pages of 16 byte in which the data integrity is significantly improved with an embedded Error Correction Code logic.
The M95020-A125 and M95020-A145 offer an additional Identification Page (16 byte) in which the ST device identification can be read. This page can also be used to store sensitive application parameters which can be later permanently locked in read-only mode. |
M95080-A145Automotive 8-Kbit SPI bus EEPROM with high-speed clock | Memory | 8 | Active | The M95080-A125 and M95080-A145 are 8-Kbit serial EEPROM Automotive grade devices operating up to 145°C. They are compliant with the very high level of reliability defined by the Automotive standard AEC-Q100 grade 0.
The devices are accessed by a simple serial SPI compatible interface running up to 20 MHz.
The memory array is based on advanced true EEPROM technology (Electrically Erasable PROgrammable Memory). The M95080-A125 and M95080-A145 are byte-alterable memories (1024 × 8 bits) organized as 32 pages of 32 byte in which the data integrity is significantly improved with an embedded Error Correction Code logic.
The M95080-A125 and M95080-A145 offer an additional Identification Page (32 byte) in which the ST device identification can be read. This page can also be used to store sensitive application parameters which can be later permanently locked in read-only mode. |
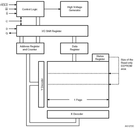
M95128-DF128-Kbit SPI bus EEPROM with high-speed clock | Integrated Circuits (ICs) | 7 | Active | The M95128 devices are electrically erasable programmable memories (EEPROMs) organized as 16384 x 8 bits, accessed through the SPI bus.
The M95128-W can operate with a supply voltage from 2.5 V to 5.5 V, the M95128-R can operate with a supply voltage from 1.8 V to 5.5 V and the M95128-DF can operate with a supply voltage from 1.7 V to 5.5 V, over an ambient temperature range of -40 °C / +85 °C.
The M95128-DF offers an additional page, named the Identification page (64 bytes). The Identification page can be used to store sensitive application parameters that can be (later) permanently locked in read-only mode.
The SPI bus signals are C, D and Q, as shown in Figure 1 and Table 1. The device is selected when Chip select (S) is driven low. Communications with the device can be interrupted when the HOLD is driven low. |
M95160-A12516-Kbit serial SPI bus EEPROM with high speed clock 105°C operation | Integrated Circuits (ICs) | 5 | Active | The M95160-A125 and M95160-A145 are 16-Kbit serial EEPROM automotive grade devices operating up to 145 °C. They are compliant with the very high level of reliability defined by the automotive standard AEC-Q100 grade 0.
The devices are accessed by a simple serial SPI compatible interface running up to 20 MHz.
The memory array is based on advanced true EEPROM technology (Electrically Erasable PROgrammable Memory). The M95160-A125 and M95160-A145 are byte-alterable memories (2048 × 8 bits) organized as 64 pages of 32 byte in which the data integrity is significantly improved with an embedded Error Correction Code logic.
The M95160-A125 and M95160-A145 offer an additional Identification Page (32 byte) in which the ST device identification can be read. This page can also be used to store sensitive application parameters which can be later permanently locked in read-only mode. |
M95256-A145Automotive 256 Kbit SPI bus EEPROM with high speed clock | Memory | 5 | Active | The M95256-A125 and M95256-A145 are 256-Kbit serial EEPROM Automotive grade devices operating up to 145°C. They are compliant with the very high level of reliability defined by the Automotive standard AEC-Q100 grade 0.
The devices are accessed by a simple serial SPI compatible interface running up to 20 MHz.
The memory array is based on advanced true EEPROM technology (Electrically Erasable PROgrammable Memory). The M95256-A125 and M95256-A145 are byte-alterable memories (32768 × 8 bits) organized as 512 pages of 64 byte in which the data integrity is significantly improved with an embedded Error Correction Code logic.
The M95256-A125 and M95256-A145 offer an additional Identification Page (64 byte) in which the ST device identification can be read. This page can also be used to store sensitive application parameters which can be later permanently locked in read-only mode. |