R
Renesas Electronics Corporation
| Series | Category | # Parts | Status | Description |
|---|---|---|---|---|
| Part | Spec A | Spec B | Spec C | Spec D | Description |
|---|---|---|---|---|---|
| Series | Category | # Parts | Status | Description |
|---|---|---|---|---|
| Part | Spec A | Spec B | Spec C | Spec D | Description |
|---|---|---|---|---|---|
| Series | Category | # Parts | Status | Description |
|---|---|---|---|---|
722352K x 18 SyncFIFO, 5.0V | FIFOs Memory | 15 | Obsolete | The 72235 is a 2K x 18 First-In, First-Out memory with clocked read and write controls and would be useful for a wide variety of data buffering needs, such as optical disk controllers, Local Area Networks (LANs), and interprocessor communication. These FIFOs have 18-bit input and output ports. The read clock can be tied to the write clock for single clock operation or the two clocks can run asynchronous of one another for dual-clock operation. These devices are depth expandable using a Daisy-Chain technique. |
722414K x 9 SyncFIFO, 5.0V | FIFOs Memory | 6 | Obsolete | The 72241SyncFIFO™ is a 4K x 9 First-In, First-Out memory with clocked read and write controls. This FIFO is useful for a wide variety of data buffering needs such as graphics, local area networks and interprocessor communication. These FIFOs have 9-bit input and output ports. The Read Clock can be tied to the Write Clock for single clock operation or the two clocks can run asynchronous of one another for dual-clock operation. |
722454K x 18 SyncFIFO, 5.0V | FIFOs Memory | 15 | Active | The 72245 is a 4K x 8 First-In, First-Out memory with clocked read and write controls and would be useful for a wide variety of data buffering needs, such as optical disk controllers, Local Area Networks (LANs), and interprocessor communication. These FIFOs have 18-bit input and output ports. The read clock can be tied to the write clock for single clock operation or the two clocks can run asynchronous of one another for dual-clock operation. These devices are depth expandable using a Daisy-Chain technique. |
722518K x 9 SyncFIFO, 5.0V | Integrated Circuits (ICs) | 2 | Obsolete | The 72251SyncFIFO™ is a 8K x 9 First-In, First-Out memory with clocked read and write controls. This FIFO is useful for a wide variety of data buffering needs such as graphics, local area networks and interprocessor communication. These FIFOs have 9-bit input and output ports. The Read Clock can be tied to the Write Clock for single clock operation or the two clocks can run asynchronous of one another for dual-clock operation. |
722558K x 18 SuperSync FIFO, 5.0V | Integrated Circuits (ICs) | 12 | Active | The 72255 is an 8K x 18 SuperSync FIFO memory with clocked read and write controls. The Frequency Select pin (FS) has been removed, thus it is no longer necessary to select which of the two clock inputs, RCLK or WCLK, is running at the higher frequency. SuperSync FIFOs are particularly appropriate for networking, video, telecommunications, data communications and other applications that need to buffer large amounts of data. |
7226116K x 9 SuperSync FIFO, 5.0V | Logic | 5 | Obsolete | The 72261 is a 16K x 9 SuperSync FIFO memory with clocked read and write controls. The Frequency Select pin (FS) has been removed, thus it is no longer necessary to select which of the two clock inputs, RCLK or WCLK, is running at the higher frequency. The period required by the retransmit operation and the first word data latency period is now fixed and short. (The variable clock cycle counting delay associated with the latency period found on previous SuperSync devices has been eliminated on this SuperSync family.) |
7226516K x 18 SuperSync FIFO, 5.0V | Integrated Circuits (ICs) | 15 | Active | The 72265 is a 16K x 18 SuperSync FIFO memory with clocked read and write controls. The Frequency Select pin (FS) has been removed, thus it is no longer necessary to select which of the two clock inputs, RCLK or WCLK, is running at the higher frequency. SuperSync FIFOs are particularly appropriate for networking, video, telecommunications, data communications and other applications that need to buffer large amounts of data |
7227132K x 9 SuperSync FIFO, 5.0V | FIFOs Memory | 3 | Obsolete | The 72271 is a 32K x 9 SuperSync FIFO memory with clocked read and write controls. The Frequency Select pin (FS) has been removed, thus it is no longer necessary to select which of the two clock inputs, RCLK or WCLK, is running at the higher frequency. The period required by the retransmit operation and the first word data latency period is now fixed and short. (The variable clock cycle counting delay associated with the latency period found on previous SuperSync devices has been eliminated on this SuperSync family.) |
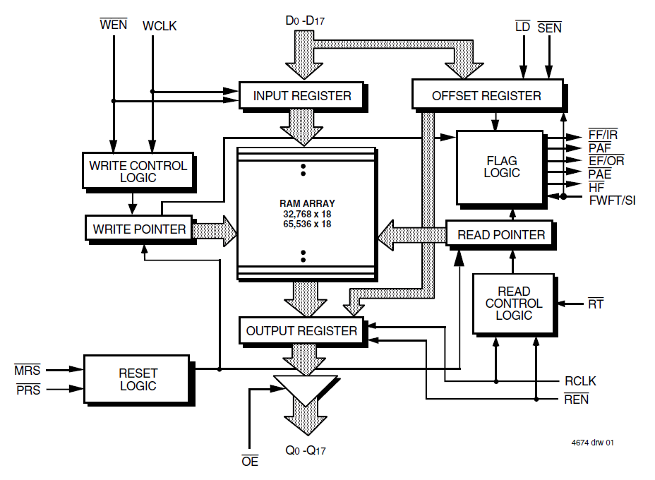
7228564K x 18 SuperSync FIFO, 5.0V | FIFOs Memory | 1 | Obsolete | The 72285 is a 64K x 18 SuperSync FIFO memory with clocked read and write controls. The Frequency Select pin (FS) has been removed, thus it is no longer necessary to select which of the two clock inputs, RCLK or WCLK, is running at the higher frequency. SuperSync FIFOs are particularly appropriate for networking, video, telecommunications, data communications and other applications that need to buffer large amounts of data |
| FIFOs Memory | 2 | Obsolete | ||
| Part | Category | Description |
|---|---|---|
Renesas Electronics Corporation | Integrated Circuits (ICs) | IC MCU 32BIT 1MB FLASH 48LFQFP |
Renesas Electronics Corporation | Integrated Circuits (ICs) | 16-BIT GENERAL MCU RL78/G23 96K |
Renesas Electronics Corporation | Isolators | OPTOISOLATOR 5KV TRANS 4SMD |
Renesas Electronics Corporation | Integrated Circuits (ICs) | IC REG PQFN |
Renesas Electronics Corporation X1228S14-2.7Obsolete | Integrated Circuits (ICs) | IC RTC CLK/CALENDAR I2C 14SOIC |
Renesas Electronics Corporation | Integrated Circuits (ICs) | 32-BIT MICROCONTROLLER OPTIMIZED FOR DUAL-MOTOR AND PFC CONTROL |
Renesas Electronics Corporation R5F104FJAFP#V0Obsolete | Integrated Circuits (ICs) | LOW POWER, HIGH FUNCTION, GENERAL PURPOSE MICROCONTROLLERS FOR MOTOR CONTROL, INDUSTRIAL AND METERING APPLICATIONS |
Renesas Electronics Corporation MK1493-03BGILFTRObsolete | Integrated Circuits (ICs) | IC CLOCK GENERATOR 48TSSOP |
Renesas Electronics Corporation | Development Boards Kits Programmers | E10A-USB SH4AL-DSP LICENSE TOOL |
Renesas Electronics Corporation | Integrated Circuits (ICs) | 32BIT MCU R32C/100X |