| Interface | 2 | Obsolete | |
EL7242Dual Input, High Speed, Dual Channel Power MOSFET Driver | Gate Drivers | 1 | Active | The EL7242/EL7252 dual input, 2-channel drivers achieve the same excellent switching performance of the EL7212 family while providing added flexibility. The 2-input logic and configuration is applicable to numerous power MOSFET drive circuits. As with other Intersil drivers, the EL7242/EL7252 are excellent for driving large capacitive loads with minimal delay and switching times. Shoot-thru protection and latching circuits can be implemented by simply cross-coupling the 2-channels. |
EL7252Dual Input, High Speed, Dual Channel Power MOSFET Driver | Gate Drivers | 2 | Active | The EL7242/EL7252 dual input, 2-channel drivers achieve the same excellent switching performance of the EL7212 family while providing added flexibility. The 2-input logic and configuration is applicable to numerous power MOSFET drive circuits. As with other Elantec drivers, the EL7242/EL7252 are excellent for driving large capacitive loads with minimal delay and switching times. Shoot-thru protection and latching circuits can be implemented by simply cross-coupling the 2-channels. |
EL745740MHz Non-Inverting Quad CMOS Driver | Power Management (PMIC) | 7 | Active | The EL7457 is a High-Speed, non-inverting, quad CMOS driver. It is capable of running at clock rates up to 40MHz and features 2A peak drive capability and a nominal on-resistance of just 3Ω. The EL7457 is ideal for driving highly capacitive loads, such as storage and vertical clocks in CCD applications. It is also well suited to ATE pin driving, level-shifting, and clock-driving applications. The EL7457 is capable of running from single or dual power supplies while using ground referenced inputs. Each output can be switched to either the high (VH) or low (VL) supply pins, depending on the related input pin. The inputs are compatible with both 3V and 5V CMOS and TTL logic. The output enable (OE) pin can be used to put the outputs into a high-impedance state. This is especially useful in CCD applications, where the driver should be disabled during power down. The EL7457 also features very fast rise and fall times which are matched to within 1ns. The propagation delay is also matched between rising and falling edges to within 2ns. The EL7457 is available in 16-pin QSOP, 16-pin SO (0. 150"), and 16-pin QFN packages. All are specified for operation over the full -40°C to +85°C temperature range. |
| Integrated Circuits (ICs) | 3 | Obsolete | |
| Power Management (PMIC) | 4 | Obsolete | |
| Integrated Circuits (ICs) | 3 | Obsolete | |
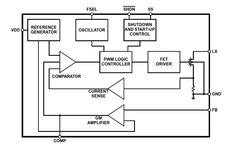
EL7516600kHz/1.2MHz PWM Step-Up Regulator | Power Management (PMIC) | 1 | Obsolete | The EL7516 is a high frequency, high efficiency step-up voltage regulator operated at constant frequency PWM mode. With an internal 1. 5A, 200mΩ MOSFET, it can deliver up to 600mA output current at over 90% efficiency. The selectable 600kHz and 1. 2MHz allows smaller inductors and faster transient response. An external compensation pin gives the user greater flexibility in setting frequency compensation allowing the use of low ESR Ceramic output capacitors. When shut down, it draws 10µA of current and can operate down to 2. 5V input supply. These features along with 1. 2MHz switching frequency makes it an ideal device for portable equipment and TFT-LCD displays. The EL7516 is available in an 8 Ld MSOP package with a maximum height of 1. 1mm. The device is specified for operation over the full -40°C to +85°C temperature range. |
| Integrated Circuits (ICs) | 1 | Obsolete | |
EL7530Monolithic 600mA Step-Down Regulator with Low Quiescent Current | Voltage Regulators - DC DC Switching Regulators | 4 | Obsolete | The EL7530 is a synchronous, integrated FET 600mA step-down regulator with internal compensation. It operates with an input voltage range from 2. 5V to 5. 5V, which accommodates supplies of 3. 3V, 5V, or a Li-Ion battery source. The output can be externally set from 0. 8V to VIN with a resistive divider. The EL7530 features automatic PFM/PWM mode control, or PWM mode only. The PWM frequency is typically 1. 4MHz and can be synchronized up to 12MHz. The typical no load quiescent current is only 120µA. Additional features include a Power-Good output, 1µA shut-down current, short-circuit protection, and over-temperature protection. The EL7530 is available in the 10-pin MSOP package, making the the entire converter occupy less than 0. 18n2 of PCB area with components on one side only. The 10-pin MSOP package is specified for operation over the full -40°C to +85°C temperature range. |