A
Analog Devices
| Series | Category | # Parts | Status | Description |
|---|---|---|---|---|
| Part | Spec A | Spec B | Spec C | Spec D | Description |
|---|---|---|---|---|---|
| Series | Category | # Parts | Status | Description |
|---|---|---|---|---|
| Part | Spec A | Spec B | Spec C | Spec D | Description |
|---|---|---|---|---|---|
| Series | Category | # Parts | Status | Description |
|---|---|---|---|---|
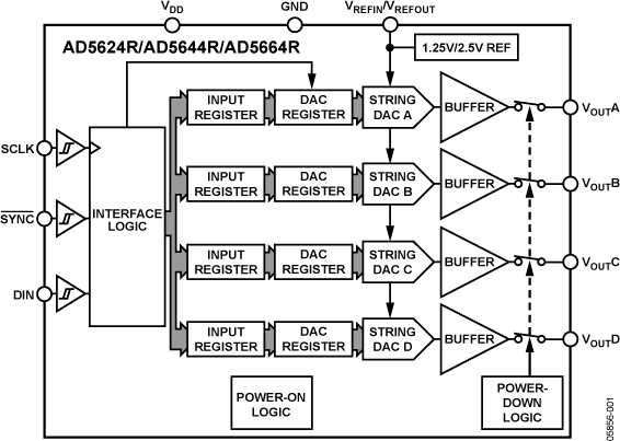
AD5624RQuad,12-BitnanoDAC® with 5ppm/°C On-Chip Reference | Data Acquisition | 8 | Active | The AD5624R/AD5644R/AD5664R, members of thenanoDAC®family, are low power, quad, 12-/14-/16-bit buffered voltage-out DACs. All devices operate from a single 2.7 V to 5.5 V supply and are guaranteed monotonic by design.The AD5624R/AD5644R/AD5664R have an on-chip reference. The AD56x4R-3 has a 1.25 V, 5 ppm/°C reference, giving a full-scale output range of 2.5 V; the AD56x4R-5 has a 2.5 V, 5 ppm/°C reference giving a full-scale output range of 5 V. The on-chip reference is off at power-up, allowing the use of an external reference; all devices can be operated from a single 2.7 V to 5.5 V supply. The internal reference is enabled via a software write.The part incorporates a power-on reset circuit that ensures the DAC output powers up to 0 V and remains there until a valid write takes place. The part contains a per-channel power-down feature that reduces the current consumption of the device to 480 nA at 5 V and provides software-selectable output loads while in power-down mode. The low power consumption of this part in normal operation makes it ideally suited to portable battery-operated equipment.The AD5624R/AD5644R/AD5664R use a versatile 3-wire serial interface that operates at clock rates up to 50 MHz, and is compatible with standard SPI, QSPI™, MICROWIRE™, and DSP interface standards. The on-chip precision output amplifier enables rail-to-rail output swing.Product HighlightsQuad 12-/14-/16-bit DACs.On-chip 1.25 V/2.5 V, 5 ppm/°C reference.Available in 10-lead MSOP; 10-lead, 3 mm × 3 mm LFCSP_WD; and 12-ball, 1.665 mm × 2.245 mm WLCSP.Low power, typically consumes 1.32 mW at 3 V and 2.25 mW at 5 V.ApplicationsProcess controlsData acquisition systemsPortable battery-powered instrumentsDigital gain and offset adjustmentProgrammable voltage and current sourcesProgrammable attenuators |
AD5625RQuad, 12-BitnanoDAC®with 5 ppm/°C On-Chip Reference, I2C®Interface | Digital to Analog Converters (DAC) | 6 | Active | TheAD5625R/AD5645R/AD5665Rand AD5625/AD5665members of thenanoDAC®family are low power, quad, 12-/14-/16-bit, buffered voltage-out DACs with/without an on-chip reference. All devices operate from a single 2.7 V to 5.5 V supply, are guaranteed monotonic by design, and have an I2C-compatible serial interface.The AD5625R/AD5645R/AD5665R have an on-chip reference. The LFCSP versions of the AD5625R/AD5645R/AD5665R have a 1.25 V or 2.5 V, 10 ppm/°C reference, giving a full-scale output range of 2.5 V or 5 V; the TSSOP versions of the AD5625R/AD5645R/AD5665R have a 2.5 V, 5 ppm/°C reference, giving a full-scale output range of 5 V. The WLCSP has a 1.25 V reference. The on-chip reference is off at power-up, allowing the use of an external reference. The internal reference is enabled via a software write. The AD5625/AD5665 require an external reference voltage to set the output range of the DAC.The device incorporates a power-on reset circuit that ensures that the DAC output powers up to 0 V (POR = GND) or midscale (POR = VDD) and remains there until a valid write occurs. The on-chip precision output amplifier enables rail-to-rail output swing.The AD5625R/AD5645R/AD5665R and AD5625/AD5665 use a 2-wire I2C-compatible serial interface that operates in standard (100 kHz), fast (400 kHz), and high speed (3.4 MHz) modes.ApplicationsProcess controlData acquisition systemsPortable battery-powered instrumentsDigital gain and offset adjustmentProgrammable voltage and current sourcesProgrammable attenuators |
| Data Acquisition | 3 | Active | ||
AD5627RDual, 12-BitnanoDAC®with 5 ppm/°C On-Chip Reference, I2C®Interface | Digital to Analog Converters (DAC) | 2 | Active | The AD5627R / AD5647R / AD5667R, AD5627 / AD5667 members of thenanoDAC family are low power, dual, 12-, 14-, 16-bit buffered voltage-out DACs with/without on-chip reference. All devices operate from a single 2.7 V to 5.5 V supply, are guaranteed monotonic by design, and have an I2C-compatible serial interface.The AD5627R / AD5647R / AD5667R, AD5627 / AD5667 have an on-chip reference. The AD5627RBCPZ, AD5647RBCPZ, and AD5667RBCPZ have a 1.25 V, 5 ppm/°C reference, giving a full-scale output range of 2.5 V; the AD5627RBRMZ and AD5667RBRMZ have a 2.5 V, 5 ppm/°C reference, giving a full-scale output range of 5 V. The on-chip reference is off at power-up, allowing the use of an external reference. The internal reference is enabled via a software write. The AD5667 and AD5627 require an external reference voltage to set the output range of the DAC.The AD5627R / AD5647R / AD5667R, AD5627 / AD5667 incorporate a power-on reset circuit that ensures the DAC output powers up to 0 V, and remains there until a valid write takes place.The device contains a per-channel power-down feature that reduces the current consumption of the device to 480 nA at 5 V and provides software-selectable output loads while in power-down mode. The low power consumption of this device in normal operation makes it ideally suited to portable battery-operated equipment. The on-chip precision output amplifier enables rail-to-rail output swing.The AD5627R / AD5647R / AD5667R, AD5627 / AD5667 use a 2-wire I2C-compatible serial interface that operates in standard (100 kHz), fast (400 kHz), and high speed (3.4 MHz) modes.APPLICATIONSProcess controlData acquisition systemsPortable battery-powered instrumentsDigital gain and offset adjustmentProgrammable voltage and current sourcesProgrammable attenuators |
AD5628Octal, 12-Bit, SPI Voltage OutputdenseDAC With 5 ppm/°C On-Chip Reference | Integrated Circuits (ICs) | 4 | Active | The AD5628 device is a low power, octal, 16-bit, buffered voltage-output DAC. All devices operate from a single 2.7 V to 5.5 V supply and are guaranteed monotonic by design. The AD5668 and AD5628 are available in both a 4 mm × 4 mm LFCSP and a 16-lead TSSOP, while the AD5648 is available in both a 14-lead and 16-lead TSSOP.The AD5628/AD5648/AD5668 have an on-chip reference with an internal gain of 2. The AD5628-1/AD5648-1/AD5668-1 have a 1.25 V 5 ppm/°C reference, giving a full-scale output range of 2.5 V; the AD5628-2/AD5648-2/AD5668-2 and AD5668-3 have a 2.5 V 5 ppm/°C reference, giving a full-scale output range of 5 V. The on-board reference is off at power-up, allowing the use of an external reference. The internal reference is enabled via a software write.The part incorporates a power-on reset circuit that ensures that the DAC output powers up to 0 V (AD5628-1/AD5648-1/AD5668-1, AD5628-2/AD5648-2/AD5668-2) or midscale (AD5668-3) and remains powered up at this level until a valid write takes place. The part contains a power-down feature that reduces the current consumption of the device to 400 nA at 5 V and provides software-selectable output loads while in power-down mode for any or all DAC channels. The outputs of all DACs can be updated simultaneously using theLDACfunction, with the added functionality of user-selectable DAC channels to simultaneously update. There is also an asynchronousCLRthat updates all DACs to a userprogrammable code—zero scale, midscale, or full scale.The AD5628/AD5648/AD5668 utilize a versatile 3-wire serial interface that operates at clock rates of up to 50 MHz and is compatible with standard SPI®, QSPI™, MICROWIRE™, and DSP interface standards. The on-chip precision output amplifier enables rail-to-rail output swing.Product HighlightsOctal, 12-/14-/16-bit DAC.On-chip 1.25 V/2.5 V, 5 ppm/°C reference.Available in 14-lead/16-lead TSSOP, 16-lead LFCSP, and 16-ball WLCSP.Power-on reset to 0 V or midscale.Power-down capability. When powered down, the DAC typically consumes 200 nA at 3 V and 400 nA at 5 V.ApplicationsProcess controlData acquisition systemsPortable battery-powered instrumentsDigital gain and offset adjustmentProgrammable voltage and current sourcesProgrammable attenuators |
AD5629ROctal, 12-bit, I2C Voltage OutputdenseDAC with 5 ppm/°C On-Chip Reference | Digital to Analog Converters (DAC) | 4 | Active | The AD5629R device is a low power, octal, 12-bit, buffered voltage-output DACs. It operates from a single 2.7 V to 5.5 V supply and is guaranteed monotonic by design.The AD5629R/AD5669Rhave an on-chip reference with an internal gain of 2. The AD5629R-1/AD5669R-1 have a 1.25 V, 5 ppm/°C reference, giving a full-scale output range of 2.5 V. The AD5629R-2/AD5629R-3 and the AD5669R-2/AD5669R-3 have a 2.5 V 5 ppm/°C reference, giving a full-scale output range of 5 V depending on the option selected. Devices with 1.25 V reference selected operate from a single 2.7 V to 5.5 V supply. Devices with 2.5 V reference selected operate from 4.5 V to 5.5 V. The on-chip reference is off at power-up, allowing the use of an external reference. The internal reference is enabled via a software write.The part incorporates a power-on reset circuit that ensures that the DAC output powers up to 0 V and remains powered up at this level until a valid write takes place. The part contains a power-down feature that reduces the current consumption of the device to 400 nA at 5 V and provides software-selectable output loads while in power-down mode for any or all DAC channels.Product HighlightsOctal, 12-/16-bit DACs.On-chip 1.25 V/2.5 V, 5 ppm/°C reference.Available in 16-lead LFCSP and TSSOP, and 16-ball WLCSP.Power-on reset to 0 V or midscale.Power-down capability. When powered down, the DAC typically consumes 200 nA at 3 V and 400 nA at 5 V.ApplicationsProcess controlData acquisition systemsPortable battery-powered instrumentsDigital gain and offset adjustmentProgrammable voltage and current sources |
AD5640Single, 14-BitnanoDAC®Converter with 5 ppm/°C On-Chip Reference in S0T-23 | Digital to Analog Converters (DAC) | 13 | Active | TheAD5620/ AD5640 /AD5660, members of thenanoDAC®family of devices, are low power, single, 12-/14-/16-bit, buffered voltage-out DACs and are guaranteed monotonic by design.The AD5620 / AD5640 / AD5660-1 parts include an internal, 1.25 V, 5 ppm/°C reference, giving a full-scale output voltage range of 2.5 V. The AD5620 / AD5640 / AD5660-2-3 parts include an internal, 2.5 V, 5 ppm/°C reference, giving a full-scale output voltage range of 5 V. The reference associated with each part is available at the VREFOUTpin.The parts incorporate a power-on reset circuit to ensure that the DAC output powers up to 0 V (AD5620 / AD5640 / AD5660-1-2) or midscale (AD5620-3 and AD5660-3) and remains there until a valid write takes place. The parts contain a power-down feature that reduces the current consumption of the device to 480 nA at 5 V and provides software-selectable output loads while in power-down mode. The power consumption is 2.5 mW at 5 V, reducing to 1 μW in power-down mode.The AD5620 / AD5640 / AD5660 on-chip precision output amplifier allows rail-to-rail output swing to be achieved. For remote sensing applications, the output amplifier’s inverting input is available to the user. The AD5620 / AD5640 / AD5660 use a versatile 3-wire serial interface that operates at clock rates up to 30 MHz and is compatible with standard SPI®, QSPI™, MICROWIRE™, and DSP interface standards.PRODUCT HIGLIGHTS14-bitnanoDAC — 12-bit accuracy guaranteed.On-chip, 1.25 V/2.5 V, 5 ppm/°C reference.Available in 8-lead SOT-23 and 8-lead MSOP packages.Power-on reset to 0 V or midscale.10 µs settling time.APPLICATIONSProcess controlData acquisition systemsPortable battery-powered instrumentsDigital gain and offset adjustmentProgrammable voltage and current sourcesProgrammable attenuators |
AD56412.7 V to 5.5 V, <100 µA, 14-BitnanoDAC®, SPI Interface in LFCSP and SC70 | Data Acquisition | 3 | Active | The AD5641, a member of thenanoDAC®family, is a single, 14-bit, buffered, voltage-out DAC that operates from a single 2.7 V to 5.5 V supply, typically consuming 75 μA at 5 V. The part comes in a tiny LFCSP and SC70 packages. Its on-chip precision output amplifier allows rail-to-rail output swing to be achieved. The AD5641 uses a versatile 3-wire serial interface that operates at clock rates up to 30 MHz and is compatible with SPI®, QSPI™, MICROWIRE™, and DSP interface standards. The reference for AD5641 is derived from the power supply inputs and, therefore, gives the widest dynamic output range. The part incorporates a power-on reset circuit, which ensures that the DAC output powers up to 0 V and remains there until a valid write to the device takes place.The AD5641 contains a power-down feature that reduces current consumption typically to 0.2 μA at 3 V, and provides software-selectable output loads while in power-down mode. The part is put into power-down mode over the serial interface. The low power consumption of the part in normal operation makes it ideally suited to portable battery-operated equipment. The combination of small package and low power makes thisnanoDAC device ideal for level-setting requirements such as generating bias or control voltages in space-constrained and power-sensitive applications.PRODUCT HIGHLIGHTSAvailable in a space-saving, 6-lead LFCSP and SC70 packages.Low power, single-supply operation. The AD5641 operates from a single 2.7 V to 5.5 V supply and with a maximum current consumption of 100 μA, making it ideal for battery-powered applications.The on-chip output buffer amplifier allows the output of the DAC to swing rail-to-rail with a typical slew rate of 0.5 V/μs.Reference derived from the power supply.High speed serial interface with clock speeds up to 30 MHz. Designed for very low power consumption. The interface powers up only during a write cycle.Power-down capability. When powered down, the DAC typically consumes 0.2 μA at 3 V.Power-on reset with brownout detection.APPLICATIONSVoltage level settingPortable battery-powered instrumentsDigital gain and offset adjustmentProgrammable voltage and current sourcesProgrammable attenuators |
AD5643RDual 14-BitnanoDAC®with 5 ppm/°C On-Chip Reference | Integrated Circuits (ICs) | 2 | Active | TheAD5623R/ AD5643R /AD5663R, members of thenanoDAC®family, are low power, dual 12-, 14-, and 16-bit buffered voltage-out digital-to-analog converters (DAC) that operate from a single 2.7 V to 5.5 V supply and are guaranteed monotonic by design.The AD5623R / AD5643R / AD5663R have an on-chip reference. The AD5623R-3 / AD5643R-3 / AD5663R-3 have a 1.25 V, 5 ppm/°C reference, giving a full-scale output of 2.5 V; and the AD5623R-5 / AD5643R-5 / AD5663R-5 have a 2.5 V, 5 ppm/°C reference, giving a full-scale output of 5 V. The on-chip reference is off at power-up, allowing the use of an external reference; and all devices can be operated from a single 2.7 V to 5.5 V supply. The internal reference is turned on by writing to the DAC.The parts incorporate a power-on reset circuit that ensures the DAC output powers up to 0 V and remains there until a valid write takes place. The part contains a power-down feature that reduces the current consumption of the device to 480 nA at 5 V and provides software-selectable output loads while in power-down mode.The low power consumption of this part in normal operation makes it ideally suited to portable, battery-operated equipment.The AD5623R / AD5643R / AD5663R use a versatile, 3-wire serial interface that operates at clock rates up to 50 MHz, and they are compatible with standard SPI®, QSPI™, MICROWIRE™, and DSP interface standards. The on-chip precision output amplifier enables rail-to-rail output swing to be achieved.PRODUCT HIGHLIGHTSDual 12-, 14-, and 16-bit DAC.On-chip 1.25 V/2.5 V, 5 ppm/°C reference.Available in 10-lead MSOP and 10-lead, 3 mm × 3 mm LFCSP.Low power; typically consumes 0.6 mW at 3 V and 1.25 mW at 5 V.4.5 μs maximum settling time for the AD5623R.APPLICATIONSProcess controlData acquisition systemsPortable battery-powered instrumentsDigital gain and offset adjustmentProgrammable voltage and current sourcesProgrammable attenuators |
AD5644RQuad, 14-BitnanoDAC® with 5ppm/°C On-Chip Reference | Digital to Analog Converters (DAC) | 1 | Active | The AD5624R/AD5644R/AD5664R, members of thenanoDAC®family, are low power, quad, 12-/14-/16-bit buffered voltage-out DACs. All devices operate from a single 2.7 V to 5.5 V supply and are guaranteed monotonic by design.The AD5624R/AD5644R/AD5664R have an on-chip reference. The AD56x4R-3 has a 1.25 V, 5 ppm/°C reference, giving a full-scale output range of 2.5 V; the AD56x4R-5 has a 2.5 V, 5 ppm/°C reference giving a full-scale output range of 5 V. The on-chip reference is off at power-up, allowing the use of an external reference; all devices can be operated from a single 2.7 V to 5.5 V supply. The internal reference is enabled via a software write.The part incorporates a power-on reset circuit that ensures the DAC output powers up to 0 V and remains there until a valid write takes place. The part contains a per-channel power-down feature that reduces the current consumption of the device to 480 nA at 5 V and provides software-selectable output loads while in power-down mode. The low power consumption of this part in normal operation makes it ideally suited to portable battery-operated equipment.The AD5624R/AD5644R/AD5664R use a versatile 3-wire serial interface that operates at clock rates up to 50 MHz, and is compatible with standard SPI, QSPI™, MICROWIRE™, and DSP interface standards. The on-chip precision output amplifier enables rail-to-rail output swing.Product HighlightsQuad 12-/14-/16-bit DACs.On-chip 1.25 V/2.5 V, 5 ppm/°C reference.Available in 10-lead MSOP; 10-lead, 3 mm × 3 mm LFCSP_WD; and 12-ball, 1.665 mm × 2.245 mm WLCSP.Low power, typically consumes 1.32 mW at 3 V and 2.25 mW at 5 V.ApplicationsProcess controlsData acquisition systemsPortable battery-powered instrumentsDigital gain and offset adjustmentProgrammable voltage and current sourcesProgrammable attenuators |
| Part | Category | Description |
|---|---|---|
Analog Devices ADM6713RAKSZ-REELObsolete | Integrated Circuits (ICs) | IC SUPERVISOR 1 CHANNEL SC70-4 |
Analog Devices | RF and Wireless | RF AMP SINGLE GENERAL PURPOSE RF AMPLIFIER 20GHZ 3.6V 22-PIN DIE TRAY |
Analog Devices | Integrated Circuits (ICs) | LOW NOISE, SWITCHED CAPACITOR REGULATED VOLTAGE INVERTERS |
Analog Devices | Integrated Circuits (ICs) | QUAD 16-BIT/12-BIT ±10V VOUTSOFTSPAN DACS WITH 10PPM/°C MAX REFERENCE |
Analog Devices | Integrated Circuits (ICs) | SERIAL 14-BIT, 3.5MSPS SAMPLING ADC WITH BIPOLAR INPUTS |
Analog Devices | Integrated Circuits (ICs) | ISOSPI ISOLATED COMMUNICATIONS INTERFACE |
Analog Devices | Integrated Circuits (ICs) | 4.5A, 500KHZ STEP-DOWN SWITCHING REGULATOR |
Analog Devices | Integrated Circuits (ICs) | 300 MA, LOW QUIESCENT CURRENT, ADJUSTABLE OUTPUT, CMOS LINEAR REGULATOR |
Analog Devices AD767KNObsolete | Integrated Circuits (ICs) | IC DAC 12BIT V-OUT 24DIP |
Analog Devices | Integrated Circuits (ICs) | QUAD 12-/10-/8-BIT RAIL-TO-RAIL DACS WITH 10PPM/°C REFERENCE |