A
Analog Devices
| Series | Category | # Parts | Status | Description |
|---|---|---|---|---|
| Part | Spec A | Spec B | Spec C | Spec D | Description |
|---|---|---|---|---|---|
| Series | Category | # Parts | Status | Description |
|---|---|---|---|---|
| Part | Spec A | Spec B | Spec C | Spec D | Description |
|---|---|---|---|---|---|
| Series | Category | # Parts | Status | Description |
|---|---|---|---|---|
ADV7282A10-Bit, 4× Oversampled SDTV Video Decoder with Differential Inputs | Evaluation Boards | 5 | Active | The ADV7282A has the same pinout as and is software compatible with the ADV7282. The mobile industry processor interface (MIPI®) model of the ADV7282A (ADV7282A-M) has the same pinout as and is software compatible with the ADV7282-M.All features, functionality, and specifications are shared by the ADV7282A and the ADV7282A-M, unless otherwise noted.The ADV7282A is a versatile one-chip, multiformat video decoder that automatically detects standard analog baseband video signals and converts them into YCrCb 4:2:2 component video data streams.The analog input of the ADV7282A features an input mux (4-channel on ADV7282A, 6-channel on ADV7282A-M), a single 10-bit analog-to-digital converter (ADC) and an on-chip differential to single-ended converter to accommodate the direct connection of differential, pseudo differential, or single-ended CVBS without the need for external amplifier circuitry.The standard definition processor (SDP) in the ADV7282A automatically detects PAL, NTSC and SECAM standards in the form of composite, S-Video (Y/C) and component. The analog video is converted into a 4:2:2 component video data stream that is output either via an 8-bit ITU-R BT.656 standard-compatible interface (ADV7282A) or via a MIPI CSI-2 Tx (hereafter referred to as MIPI Tx) interface (ADV7282A-M). The ADV7282A also feature a deinterlacer for interlaced to progressive (I2P) conversion.The ADV7282A offers short to battery (STB) diagnostic sense inputs and general-purpose outputs.The ADV7282A is provided in a space-saving LFCSP surface-mount, RoHS compliant package. The ADV7282A is rated over the −40°C to +105°C temperature range, making it ideal for automotive applications.The ADV7282A must be configured in accordance with the I2C writes provided in the evaluation board script files.ApplicationsAdvanced driver assistanceAutomotive infotainmentDVRs for video securityMedia players |
ADV7340Multi-format Video Encoder Six 12-Bit Noise Shaped Video® DACs | Integrated Circuits (ICs) | 1 | Active | The ADV7340 /ADV7341are high speed, digital-to-analog video encoders in a 64-lead LQFP package. Six high speed, NSV, 3.3 V, 12-bit video DACs provide support for composite (CVBS), S-Video (Y-C), and component (YPrPb/RGB) analog outputs in standard definition (SD), enhanced definition (ED), or high definition (HD) video formats.The ADV7340 / ADV7341 have a 30-bit pixel input port that can be configured in a variety of ways. SD video formats are supported over an SDR interface, and ED/HD video formats are supported over SDR and DDR interfaces. Pixel data can be supplied in either the YCrCb or RGB color space.The parts also support embedded EAV/SAV timing codes, external video synchronization signals, and I2C®communication protocol.In addition, simultaneous SD and ED/HD input and output are supported. Full-drive DACs ensure that external output buffering is not required, while 216 MHz (SD and ED) and 297 MHz (HD) oversampling ensures that external output filtering is not required.Cable detection and DAC autopower-down features keep power consumption to a minimum.Table 1 lists the video standards directly supported by the ADV7340 / ADV7341.APPLICATIONSDVD recorders and playersHigh definition Blu-ray DVD players |
ADV7341Multi-format Video Encoder Six 12-Bit Noise Shaped Video® DACs | Evaluation and Demonstration Boards and Kits | 1 | Active | The ADV7340/ADV7341 are high speed, digital-to-analog video encoders in a 64-lead LQFP package. Six high speed, NSV, 3.3 V, 12-bit video DACs provide support for composite (CVBS), S-Video (Y/C), and component (YPrPb/RGB) analog outputs in either standard definition (SD), enhanced definition (ED), or high definition (HD) video formats.The ADV7340/ADV7341 each have a 30-bit pixel input port that can be configured in a variety of ways. SD video formats are supported over a SDR interface and ED/HD video formats are supported over SDR and DDR interfaces. Pixel data can be supplied in either the YCrCb or RGB color spaces.The parts also support embedded EAV/SAV timing codes, external video synchronization signals, and the I2C communication protocol.In addition, simultaneous SD and ED/HD input and output are supported. 216 MHz (SD and ED) and 297 MHz (HD) oversampling ensures that external output filtering is not required, while full-drive DACs ensure that external output buffering is not required.Cable detection and DAC auto power-down features keep power consumption to a minimum.ApplicationsDVD recorders and playersHigh definition Blu-ray DVD playersHD-DVD players |
ADV7391Low Power, Chip Scale 10-Bit SD/HD Video Encoder | Interface | 2 | Active | TheADV7390/ ADV7391 /ADV7392/ADV7393are a family of high speed, digital-to-analog video encoders on single monolithic chips. Three 2.7 V/3.3 V 10-bit video digital-to-analog converters (DACs) provide support for composite (CVBS), S-Video (Y-C), or component (YPrPb/RGB) analog outputs in either standard definition (SD) or high definition (HD) video formats.Optimized for low power operation, occupying a minimal footprint and requiring few external components, these encoders are ideally suited to portable and power sensitive applications requiring TV-out functionality. Cable detection and DAC automatic power-down features ensure that power consumption is kept to a minimum.The ADV7390 / ADV7391 have an 8-bit video input port that supports SD video formats over a software defined radio (SDR) interface and HD video formats over a double data rate (DDR) interface.The ADV7392 / ADV7393 have a 16-bit video input port that can be configured in a variety of ways. SD RGB input is supported. All members of the family support embedded EAV/SAV timing codes, external video synchronization signals, and the I2C communication protocol.APPLICATIONSMobile handsetsDigital still camerasPortable media and DVD playersPortable game consolesDigital camcordersSet-top box (STB)Automotive infotainment (ADV7392andADV7393only) |
ADV7393Low Power, Chip Scale 10-Bit SD/HD Video Encoder | Evaluation Boards | 1 | Obsolete | TheADV7390/ADV7391/ADV7392/ ADV7393 are a family of high speed, digital-to-analog video encoders on single monolithic chips. Three 2.7 V/3.3 V, 10-bit video DACs (a single DAC for the WLCSP package) provide support for composite (CVBS), S-Video (Y-C), or component (YPrPb/RGB) analog outputs in either standard definition (SD) or high definition (HD) video formats. The single DAC WLCSP package supports CVBS (NTSC and PAL) output only in SD resolution (see Table 2).Optimized for low power operation, occupying a minimal footprint, and requiring few external components, these encoders are ideally suited to portable and power-sensitive applications requiring TV-out functionality. Cable detection and DAC auto power-down features ensure that power consumption is kept to a minimum.The ADV7390 / ADV7391 have an 8-bit video input port that supports SD video formats over an SDR interface and HD video formats over a DDR interface. The ADV7392 / ADV7393 have a 16-bit video input port that can be configured in a variety of ways. SD RGB input is supported.All members of the family support embedded EAV/SAV timing codes, external video synchronization signals, and the I2C®and communication protocol. Table 1 and Table 2 list the video standards directly supported by the ADV7390/ADV7391/ ADV7392/ADV7393 family.APPLICATIONSMobile handsetsDigital still camerasPortable media and DVD playersPortable game consolesDigital camcordersSet-top box (STB)Automotive infotainment (ADV7392andADV7393only) |
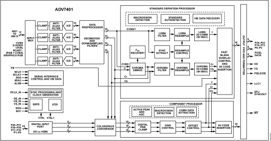
ADV740110-Bit, Integrated, Multiformat SDTV/HDTV Video Decoder and RGB Graphics Digitizer | Integrated Circuits (ICs) | 2 | Active | The ADV7401 is a high quality, single chip, multiformat video decoder and graphics digitizer. This multiformat decoder supports the conversion of PAL, NTSC, and SECAM standards in the form of composite or S-video into a digital ITU-R BT.656 format. The ADV7401 also supports the decoding of a component RGB/YPrPb video signal into a digital YCrCb or RGB pixel output stream. The support for component video includes standards such as 525i, 625i, 525p, 625p, 720p, 1080i, 1250i, and many other HD and SMPTE standards. Graphic digitization is also supported by the ADV7401; it is capable of digitizing RGB graphics signals from VGA to SXGA rates and converting them into a digital RGB or YCrCb pixel output stream. SCART and overlay functionality are enabled by the ADV7401’s ability to simultaneously process CVBS and standard definition RGB signals. The mixing of these signals is controlled by the fast blank pin.APPLICATIONSLCD/DLP™rear projection HDTVsPDP HDTVsCRT HDTVsLCD/DLP front projectorsLCD TV (HDTV ready)HDTV STBs with PVRAV-ReceiversMultiformat scan convertersDVD recorders with progressive scan input support |
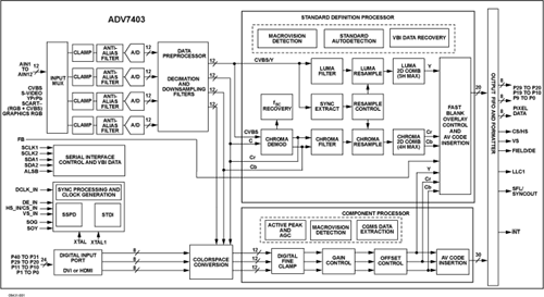
ADV740312-Bit, Integrated, Multiformat SDTV/HDTV Video Decoder and RGB Graphics Digitizer | Development Boards, Kits, Programmers | 1 | Active | The ADV7403 is a high quality, single chip, multiformat video decoder and graphics digitizer. This multiformat decoder supports the conversion of PAL, NTSC, and SECAM standards in the form of composite or S-video into a digital ITU-R BT.656 format. The ADV7403 also supports the decoding of a component RGB/YPrPb video signal into a digital YCrCb or RGB pixel output stream. The support for component video includes standards such as 525i, 625i, 525p, 625p, 720p, 1080i, 1250i, and many other HD and SMPTE standards. Graphic digitization is also supported by the ADV7403; it is capable of digitizing RGB graphics signals from VGA to SXGA rates and converting them into a digital RGB or YCrCb pixel output stream. SCART and overlay functionality are enabled by the ADV7403’s ability to simultaneously process CVBS and standard definition RGB signals. The mixing of these signals is controlled by the fast blank pin.APPLICATIONSLCD/DLP™ rear projection HDTVsPDP HDTVsCRT HDTVsLCD/DLP front projectorsLCD TV (HDTV ready)HDTV STBs with PVRAV-ReceiversMultiformat scan convertersDVD recorders with progressive scan input support |
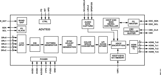
ADV7533MIPI/DSI Receiver with HDMI Transmitter | Linear | 1 | LTB | The ADV7533 is a multifunction video interface chip. The ADV7533 provides a mobile industry processor interface/display serial interface (MIPI®/DSI) input port, a high definition multimedia interface (HDMI®) data output in a 49-ball wafer level chip scale package (WLCSP). The display serial interface (DSI) input provides up to four lanes of MIPI/DSI data, each running up to 800 Mbps. The DSI Rx implements DSI video mode operation only. The HDMI Tx supports video resolutions using pixel clocks of up to 80 MHz.With the optional inclusion of embedded HDCP keys, the ADV7533 allows the secure transmission of protected content, as specified by the HDCP 1.3 protocol.The ADV7533 supports x.v.Color™(gamut metadata) for a wider color gamut.The ADV7533 supports both S/PDIF and 2-channel I2S audio. Its high fidelity 2-channel I2S can transmit stereo up to a 192 kHz sampling rate. The S/PDIF can carry stereo LPCM audio or compressed audio, including Dolby®Digital and DTS®.The ADV7533 helps to reduce system design complexity and cost by incorporating such features as an I2C master for EDID reading and 5 V tolerance on the I2C and Hot Plug™detect pins.Fabricated in an advanced CMOS process, the ADV7533 is available in a space saving, 49-ball, WLCSP surface mount package. This package is RoHS compliant and specified to operate from −10°C to +85°C.APPLICATIONSMobile systemsCellular handsetsDigital video camerasDigital still camerasPersonal media playersGaming |
ADV7611Low Power 165 MHz HDMI Receiver | Evaluation Boards | 2 | Active | The ADV7611 is offered in automotive, professional (no HDCP), and industrial versions. The operating temperature range is −40°C to +85°C.TheUG-180contains critical information that must be used in conjunction with the ADV7611.The ADV7611 is a high quality, single input HDMI®-capable receiver. It incorporates an HDMI-capable receiver that supports all mandatory 3D TV defined in HDMI 1.4a. The ADV7611 supports formats up to UXGA 60 Hz at 8 bit.It integrates a CEC controller that supports the capability discovery and control (CDC) feature.The ADV7611 has an audio output port for the audio data extracted from the HDMI stream. The HDMI receiver has an advanced mute controller that prevents audible extraneous noise in the audio output.The following audio formats are accessible:A stream from the I2S serializer (two audio channels)A stream from the S/PDIF serializer (two uncompressed channels or N compressed channels, for example, AC3)DST streamThe HDMI port has dedicated 5 V detect and Hot Plug™ assert pins. The HDMI receiver also includes an integrated equalizer that ensures the robust operation of the interface with long cables.The ADV7611 contains one main component processor (CP), that processes the video signals from the HDMI receiver. It provides features such as contrast, brightness and saturation adjustments, STDI detection block, free run, and synchronization alignment controls.Fabricated in an advanced CMOS process, the ADV7611 is provided in a 10 mm × 10 mm, 64-lead surface-mount LQFP_EP, RoHS-compliant package and is specified over the −40°C to +85°C temperature range.APPLICATIONSProjectorsAutomotiveVideo conferencingHDTVsAVR, HTiBSoundbarsVideo switches |
ADV7612Dual Port, Xpressview, 225 MHz HDMI Receiver | Evaluation Boards | 1 | Active | The ADV7612 is offered in automotive, professional (no HDCP), and industrial versions. The operating temperature range is −40°C to +85°C.TheUG-216contains critical information that must be used in conjunction with the ADV7612.The ADV7612 is a high quality Xpressview™fast switching HDMI®-capable receiver. It incorporates a dual input HDMI- capable receiver that supports all mandatory 3D TV formats defined in HDMI 1.4a specification, HDTV formats up to 1080p 36-bit Deep Color, and display resolutions up to UXGA (1600 × 1200 at 60 Hz).It integrates a CEC controller that supports the capability discovery and control (CDC) feature.The ADV7612 incorporates Xpressview fast switching on both input HDMI ports. Using Analog Devices, Inc., hardware-based HDCP engine that minimizes software overhead, Xpressview technology allows fast switching between both HDMI input ports in less than 1 second.Each HDMI port has dedicated 5 V detect and Hot Plug™assert pins. The HDMI receiver also includes an integrated program- mable equalizer that ensures robust operation of the interface with long cables.The ADV7612 offers a flexible audio output port for audio data extraction from the HDMI stream. HDMI audio formats, including SACD via DSD and HBR, are supported by ADV7612. The HDMI receiver has advanced audio functionality, such as a mute controller that prevents audible extraneous noise in the audio output.The ADV7612 contains one main component processor (CP) that processes the video signals from the HDMI receiver. It provides features such as contrast, brightness and saturation adjustments, STDI detection block, free run, and synchronization alignment controls.Fabricated in an advanced CMOS process, the ADV7612 is provided in a 14 mm × 14 mm, 100-lead surface-mount LQFP_EP, RoHS-compliant package, and is specified over the −40°C to +85°C temperature range.APPLICATIONSProjectorsAutomotiveVideo conferencingHDTVsAVR, HTiBSoundbarsVideo switches |
| Part | Category | Description |
|---|---|---|
Analog Devices ADM6713RAKSZ-REELObsolete | Integrated Circuits (ICs) | IC SUPERVISOR 1 CHANNEL SC70-4 |
Analog Devices | RF and Wireless | RF AMP SINGLE GENERAL PURPOSE RF AMPLIFIER 20GHZ 3.6V 22-PIN DIE TRAY |
Analog Devices | Integrated Circuits (ICs) | LOW NOISE, SWITCHED CAPACITOR REGULATED VOLTAGE INVERTERS |
Analog Devices | Integrated Circuits (ICs) | QUAD 16-BIT/12-BIT ±10V VOUTSOFTSPAN DACS WITH 10PPM/°C MAX REFERENCE |
Analog Devices | Integrated Circuits (ICs) | SERIAL 14-BIT, 3.5MSPS SAMPLING ADC WITH BIPOLAR INPUTS |
Analog Devices | Integrated Circuits (ICs) | ISOSPI ISOLATED COMMUNICATIONS INTERFACE |
Analog Devices | Integrated Circuits (ICs) | 4.5A, 500KHZ STEP-DOWN SWITCHING REGULATOR |
Analog Devices | Integrated Circuits (ICs) | 300 MA, LOW QUIESCENT CURRENT, ADJUSTABLE OUTPUT, CMOS LINEAR REGULATOR |
Analog Devices AD767KNObsolete | Integrated Circuits (ICs) | IC DAC 12BIT V-OUT 24DIP |
Analog Devices | Integrated Circuits (ICs) | QUAD 12-/10-/8-BIT RAIL-TO-RAIL DACS WITH 10PPM/°C REFERENCE |