A
Analog Devices Inc./Maxim Integrated
| Series | Category | # Parts | Status | Description |
|---|---|---|---|---|
| Part | Spec A | Spec B | Spec C | Spec D | Description |
|---|---|---|---|---|---|
| Series | Category | # Parts | Status | Description |
|---|---|---|---|---|
| Part | Spec A | Spec B | Spec C | Spec D | Description |
|---|---|---|---|---|---|
| Part | Category | Description |
|---|---|---|
Analog Devices Inc./Maxim Integrated LTC1879EGN#TRUnknown | Integrated Circuits (ICs) | IC REG BUCK ADJ 1.2A 16SSOP |
Analog Devices Inc./Maxim Integrated LTC2208CUP#TRUnknown | Integrated Circuits (ICs) | IC ADC 16BIT 130MSPS 64-QFN |
Analog Devices Inc./Maxim Integrated ADP2108ACBZ-1.1-R7Obsolete | Integrated Circuits (ICs) | IC REG BUCK 1.1V 600MA 5WLCSP |
Analog Devices Inc./Maxim Integrated EV1HMC832ALP6GObsolete | Development Boards Kits Programmers | EVAL BOARD FOR HMC832ALP6GE |
Analog Devices Inc./Maxim Integrated LTC488ISWUnknown | Integrated Circuits (ICs) | IC LINE RCVR RS485 QUAD 16-SOIC |
Analog Devices Inc./Maxim Integrated LTC6946IUFD-2Obsolete | Integrated Circuits (ICs) | IC CLK/FREQ SYNTH 28QFN |
Analog Devices Inc./Maxim Integrated MAX5556ESA+TObsolete | Integrated Circuits (ICs) | IC DAC/AUDIO 16BIT 50K 8SOIC |
Analog Devices Inc./Maxim Integrated EVAL-FLTR-LD-1RZUnknown | Unclassified | EVAL BRD FOR AD800 SERIES |
Analog Devices Inc./Maxim Integrated | Development Boards Kits Programmers | BOARD EVAL FOR AD9963 |
Analog Devices Inc./Maxim Integrated LTC1296CCSW#TRUnknown | Integrated Circuits (ICs) | IC DATA ACQ SYS 12BIT 5V 20SOIC |
| Series | Category | # Parts | Status | Description |
|---|---|---|---|---|
| Unclassified | 21 | Active | ||
DS18145 Volt and 3.3 Volt MicroMonitor | Supervisors | 20 | Active | The DS1814 5-Volt MicroMonitor and the DS1819 3.3V MicroMonitor monitor three vital conditions for a microprocessor: power supply, software execution, and external override. First, a precision temperature-compensated reference and comparator circuit monitor the status of VCC. When an out-of-tolerance condition occurs, an internal power-fail signal is generated which forces the reset(s) to an active state. When VCCreturns to an in-tolerance condition, the reset signal is kept in the active state for a minimum of 140ms to allow the power supply and processor to stabilize. The DS1814/DS1819 ‘A' and ‘C' perform pushbutton reset control. They debounce the pushbutton input and generate an active reset pulse width of 140ms minimum. The DS1814/9 'A' and 'B' versions perform a watchdog function. The watchdog is an internal timer that forces the reset signals to the active state if the strobe input does not change state every 1.12 seconds. The watchdog timer function can be disabled by leaving the watchdog strobe input disconnected. |
| Unclassified | 18 | Active | ||
| Uncategorized | 23 | Active | ||
DS1817Active High 3.3V EconoReset | Unclassified | 15 | Active | The DS1812 (5V) and DS1817 (3.3V) EconoResets are simple three-pin voltage monitors and power-on resets that hold reset for 150ms for stabilization after power returns to tolerance. The voltage monitor uses precision temperature reference and comparator circuits that detect out-of-tolerance conditions and generate an active high reset.The output has a push-structure capable of maintaining a valid output to 0 volts with a 100kΩ pull-down resistor. The low-power circuit has a quiescent current consumption of only 40 micro-amps.The DS1817 replaces discrete components and saves space, particularly in the new SOT-23 package. EconoResets can benefit any system that requires reliable processor operation, especially consumer products like printers, HVAC, energy management, cellular telephones, PDAs, and set-top boxes. |
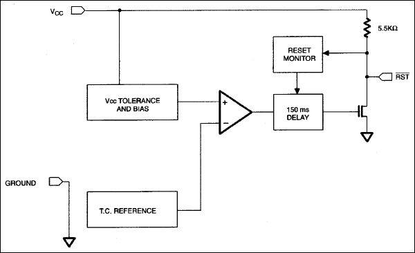
DS18183.3V EconoReset with Pushbutton | Integrated Circuits (ICs) | 21 | Active | The DS1813 (5V) and DS1818 (3.3V) EconoResets are simple three-pin voltage monitors and power-on resets that hold reset for 150ms for stabilization after power returns to tolerance. The voltage monitor uses precision temperature reference and comparator circuits that detect out-of-tolerance conditions and generate an active low reset. The DS1818 has an open-drain output with an internal 5.5kΩ pull-up resistor for use in a wired-AND circuit. The DS1818 also monitors a pushbutton on the reset output, generating a reset when the pushbutton is released.EconoResets replace discrete components and save space, particularly in the new SOT-23 package. They can benefit any system that requires reliable processor operation, especially consumer products like printers, HVAC, energy management, cellular telephones, PDAs, and set-top boxes. |
DS18195 Volt and 3.3 Volt MicroMonitor | Integrated Circuits (ICs) | 30 | Active | The DS1814 5-Volt MicroMonitor and the DS1819 3.3V MicroMonitor monitor three vital conditions for a microprocessor: power supply, software execution, and external override. First, a precision temperature-compensated reference and comparator circuit monitor the status of VCC. When an out-of-tolerance condition occurs, an internal power-fail signal is generated which forces the reset(s) to an active state. When VCCreturns to an in-tolerance condition, the reset signal is kept in the active state for a minimum of 140ms to allow the power supply and processor to stabilize. The DS1814/DS1819 ‘A' and ‘C' perform pushbutton reset control. They debounce the pushbutton input and generate an active reset pulse width of 140ms minimum. The DS1814/9 'A' and 'B' versions perform a watchdog function. The watchdog is an internal timer that forces the reset signals to the active state if the strobe input does not change state every 1.12 seconds. The watchdog timer function can be disabled by leaving the watchdog strobe input disconnected. |
| Analog and Digital Output | 1 | Obsolete | ||
| Analog and Digital Output | 6 | Obsolete | ||
DS1822Econo Parasite-Power Digital Thermometer | Analog and Digital Output | 9 | Active | The DS1822-PAR is a digital thermometer with ±2°C accuracy over a -10°C to +85°C range and an operating temperature range of -55°C to +100°C. Data is read out over a 1-Wire® serial bus in 2's complement format with 9 to 12 bits of resolution (user-programmable).The DS1822-PAR is a parasite-power only version of theDS1822that is ideal for use in remote-sensing applications such as temperature probes. Parasite power eliminates the need for a local power supply since power is derived directly from the 1-Wire bus. The DS1822-PAR provides mechanical simplicity over the DS1822 for parasite-power applications because no VDDconnection is required—the DS1822 must have VDDconnected to ground for operation in parasite-power mode.The DS1822-PAR offers thermostatic functionality with user-programmable over-temperature (TH) and under-temperature (TL) set points stored in on-chip EEPROM. Each DS1822-PAR features a unique and unchangeable 64-bit silicon serial number, which serves as the bus address for the sensor. This allows multiple DS1822-PAR devices to coexist on the same 1-Wire bus.The DS1822-PAR is offered a 3-pin TO-92 package. Also available is the high-precision DS18B20-PAR, which provides ±0.5°C accuracy and is software-compatible with the DS1822-PAR.ApplicationsRemote Sensing Applications |