A
Analog Devices Inc./Maxim Integrated
| Series | Category | # Parts | Status | Description |
|---|---|---|---|---|
| Part | Spec A | Spec B | Spec C | Spec D | Description |
|---|---|---|---|---|---|
| Series | Category | # Parts | Status | Description |
|---|---|---|---|---|
| Part | Spec A | Spec B | Spec C | Spec D | Description |
|---|---|---|---|---|---|
| Part | Category | Description |
|---|---|---|
Analog Devices Inc./Maxim Integrated LTC1879EGN#TRUnknown | Integrated Circuits (ICs) | IC REG BUCK ADJ 1.2A 16SSOP |
Analog Devices Inc./Maxim Integrated LTC2208CUP#TRUnknown | Integrated Circuits (ICs) | IC ADC 16BIT 130MSPS 64-QFN |
Analog Devices Inc./Maxim Integrated ADP2108ACBZ-1.1-R7Obsolete | Integrated Circuits (ICs) | IC REG BUCK 1.1V 600MA 5WLCSP |
Analog Devices Inc./Maxim Integrated EV1HMC832ALP6GObsolete | Development Boards Kits Programmers | EVAL BOARD FOR HMC832ALP6GE |
Analog Devices Inc./Maxim Integrated LTC488ISWUnknown | Integrated Circuits (ICs) | IC LINE RCVR RS485 QUAD 16-SOIC |
Analog Devices Inc./Maxim Integrated LTC6946IUFD-2Obsolete | Integrated Circuits (ICs) | IC CLK/FREQ SYNTH 28QFN |
Analog Devices Inc./Maxim Integrated MAX5556ESA+TObsolete | Integrated Circuits (ICs) | IC DAC/AUDIO 16BIT 50K 8SOIC |
Analog Devices Inc./Maxim Integrated EVAL-FLTR-LD-1RZUnknown | Unclassified | EVAL BRD FOR AD800 SERIES |
Analog Devices Inc./Maxim Integrated | Development Boards Kits Programmers | BOARD EVAL FOR AD9963 |
Analog Devices Inc./Maxim Integrated LTC1296CCSW#TRUnknown | Integrated Circuits (ICs) | IC DATA ACQ SYS 12BIT 5V 20SOIC |
| Series | Category | # Parts | Status | Description |
|---|---|---|---|---|
| Real Time Clocks | 1 | Obsolete | ||
| Real Time Clocks | 13 | Active | ||
DS174873V/5V Real-Time Clocks | Integrated Circuits (ICs) | 7 | Active | The DS17285, DS17485, DS17885, DS17287, DS17487, and DS17887 real-time clocks (RTCs) are designed to be successors to the industry-standard DS12885 and DS12887. The DS17285, DS17485, and DS17885 (hereafter referred to as the DS17x85) provide a real-time clock/calendar, one time-of-day alarm, three maskable interrupts with a common interrupt output, a programmable square wave, and 114 bytes of battery-backed NV SRAM. The DS17x85 also incorporates a number of enhanced functions including a silicon serial number, power-on/off control circuitry, and 2K, 4K, or 8Kbytes of battery-backed NV SRAM. The DS17287, DS17487, and DS17887 (hereafter referred to as the DS17x87) integrate a quartz crystal and lithium energy source into a 24-pin encapsulated DIP package. The DS17x85 and DS17x87 power-control circuitry allows the system to be powered on by an external stimulus such as a keyboard or by a time-and-date (wake-up) alarm. The active-low PWR output pin is triggered by one or either of these events, and is used to turn on an external power supply. The active-low PWR pin is under software control, so that when a task is complete, the system power can then be shut down.For all devices, the date at the end of the month is automatically adjusted for months with fewer than 31 days, including correction for leap years. It also operates in either 24-hour or 12-hour format with an AM/PM indicator. A precision temperature-compensated circuit monitors the status of VCC. If a primary power failure is detected, the device automatically switches to a backup supply. A lithium coin cell battery can be connected to the VBATinput pin on the DS17x85 to maintain time and date operation when primary power is absent. The DS17x85 and DS17x87 include a VBAUXinput used to power auxiliary functions such as active-low PWR control. The device is accessed through a multiplexed byte-wide interface.ApplicationsEmbedded SystemsNetwork Hubs, Bridges, and RoutersSecurity SystemsUtility Meters |
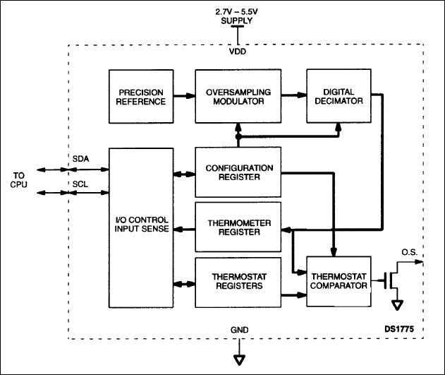
DS1775Digital Thermometer and Thermostat in SOT23 | Analog and Digital Output | 20 | Active | The DS1775 digital thermometer and thermostat provides temperature readings that indicate the device’s temperature. Thermostat settings and temperature readings are all communicated to/from the DS1775 over a simple 2-wire serial interface. No additional components are required; the device is truly a "temperature-to-digital" converter.For applications that require greater temperature resolution, the user can adjust the readout resolution from 9 to 12 bits. This is particularly useful in applications where thermal runaway conditions must be detected quickly.The open-drain thermal alarm output, O.S., becomes active when the temperature of the device exceeds a user-defined temperature TOS. The number of consecutive faults required to set O.S. active is configurable by the user. The device can also be configured in the interrupt or comparator mode, to customize the method which clears the fault condition.As a digital thermometer, the DS1775 is software compatible with the DS75 2-wire thermal watchdog. The DS1775 is assembled in a compact 5-pin SOT23 package, allowing for low-cost thermal monitoring/control in spaceconstrained applications. The low thermal mass allows for time constants previously only possible with thermistors.ApplicationsAny Thermally-Sensitive SystemCell PhonesOffice EquipmentPersonal Computers/Servers/Workstations |
| Integrated Circuits (ICs) | 4 | Active | ||
DS178853V/5V Real-Time Clocks | Clock/Timing | 14 | Active | The DS17285, DS17485, DS17885, DS17287, DS17487, and DS17887 real-time clocks (RTCs) are designed to be successors to the industry-standard DS12885 and DS12887. The DS17285, DS17485, and DS17885 (hereafter referred to as the DS17x85) provide a real-time clock/calendar, one time-of-day alarm, three maskable interrupts with a common interrupt output, a programmable square wave, and 114 bytes of battery-backed NV SRAM. The DS17x85 also incorporates a number of enhanced functions including a silicon serial number, power-on/off control circuitry, and 2K, 4K, or 8Kbytes of battery-backed NV SRAM. The DS17287, DS17487, and DS17887 (hereafter referred to as the DS17x87) integrate a quartz crystal and lithium energy source into a 24-pin encapsulated DIP package. The DS17x85 and DS17x87 power-control circuitry allows the system to be powered on by an external stimulus such as a keyboard or by a time-and-date (wake-up) alarm. The active-low PWR output pin is triggered by one or either of these events, and is used to turn on an external power supply. The active-low PWR pin is under software control, so that when a task is complete, the system power can then be shut down.For all devices, the date at the end of the month is automatically adjusted for months with fewer than 31 days, including correction for leap years. It also operates in either 24-hour or 12-hour format with an AM/PM indicator. A precision temperature-compensated circuit monitors the status of VCC. If a primary power failure is detected, the device automatically switches to a backup supply. A lithium coin cell battery can be connected to the VBATinput pin on the DS17x85 to maintain time and date operation when primary power is absent. The DS17x85 and DS17x87 include a VBAUXinput used to power auxiliary functions such as active-low PWR control. The device is accessed through a multiplexed byte-wide interface.ApplicationsEmbedded SystemsNetwork Hubs, Bridges, and RoutersSecurity SystemsUtility Meters |
| Integrated Circuits (ICs) | 8 | Active | ||
DS1801Dual Audio Taper Potentiometer | Data Acquisition | 8 | Active | The 1801 Dual Audio Taper Potentiometer consists of two 65-position, 45kΩ digital potentiometers with logarithmic resistance properties incrementing 1dB per step.The DS1801 operates with automatic software control via a serial 3-wire interface, where wiper settings are written with 8-bit words. The part can be used in either 3V or 5V environments and anywhere within the industrial temperature range of -40°C to +85°C. Also enabling flexible design possibilities, the DS1801 supports daisy-chaining with devices under single-processor control.The DS1801 provides high-performance audio volume and tone control in most applications where mechanical potentiometers are used, including CD players, guitar amplifiers, and sound boards. Digital potentiometers consume very little power while providing digital accuracy and reliability under flexible, automatic processor control. |
| Integrated Circuits (ICs) | 5 | Obsolete | ||
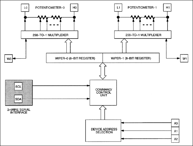
DS1803Addressable Dual Digital Potentiometer | Data Acquisition | 26 | Active | The DS1803 addressable dual digital potentiometer features two independently controlled 256-position potentiometers. Device control is achieved through a 2-wire serial interface. Three address pins allow up to 8 DS1803's to share the same 2-wire interface. The exact wiper position of each potentiometer can be written or read. The DS1803 is available in a 16-pin DIP, 16-pin SO, and 14-pin TSSOP package. The device is available in three standard resistance values: 10kΩ, 50kΩ, and 100kΩ and is specified over the industrial temperature range. |