A
Analog Devices Inc./Maxim Integrated
| Series | Category | # Parts | Status | Description |
|---|---|---|---|---|
| Part | Spec A | Spec B | Spec C | Spec D | Description |
|---|---|---|---|---|---|
| Series | Category | # Parts | Status | Description |
|---|---|---|---|---|
| Part | Spec A | Spec B | Spec C | Spec D | Description |
|---|---|---|---|---|---|
| Part | Category | Description |
|---|---|---|
Analog Devices Inc./Maxim Integrated LTC1879EGN#TRUnknown | Integrated Circuits (ICs) | IC REG BUCK ADJ 1.2A 16SSOP |
Analog Devices Inc./Maxim Integrated LTC2208CUP#TRUnknown | Integrated Circuits (ICs) | IC ADC 16BIT 130MSPS 64-QFN |
Analog Devices Inc./Maxim Integrated ADP2108ACBZ-1.1-R7Obsolete | Integrated Circuits (ICs) | IC REG BUCK 1.1V 600MA 5WLCSP |
Analog Devices Inc./Maxim Integrated EV1HMC832ALP6GObsolete | Development Boards Kits Programmers | EVAL BOARD FOR HMC832ALP6GE |
Analog Devices Inc./Maxim Integrated LTC488ISWUnknown | Integrated Circuits (ICs) | IC LINE RCVR RS485 QUAD 16-SOIC |
Analog Devices Inc./Maxim Integrated LTC6946IUFD-2Obsolete | Integrated Circuits (ICs) | IC CLK/FREQ SYNTH 28QFN |
Analog Devices Inc./Maxim Integrated MAX5556ESA+TObsolete | Integrated Circuits (ICs) | IC DAC/AUDIO 16BIT 50K 8SOIC |
Analog Devices Inc./Maxim Integrated EVAL-FLTR-LD-1RZUnknown | Unclassified | EVAL BRD FOR AD800 SERIES |
Analog Devices Inc./Maxim Integrated | Development Boards Kits Programmers | BOARD EVAL FOR AD9963 |
Analog Devices Inc./Maxim Integrated LTC1296CCSW#TRUnknown | Integrated Circuits (ICs) | IC DATA ACQ SYS 12BIT 5V 20SOIC |
| Series | Category | # Parts | Status | Description |
|---|---|---|---|---|
| Integrated Circuits (ICs) | 3 | Obsolete | ||
| Integrated Circuits (ICs) | 1 | Active | ||
| Clock/Timing | 1 | Obsolete | ||
| Development Boards, Kits, Programmers | 9 | Active | ||
| Temperature Sensors | 10 | Active | ||
| Analog and Digital Output | 5 | Active | ||
| Sensors, Transducers | 4 | Active | ||
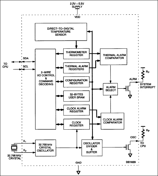
DS1629Digital Thermometer and Real-Time Clock/Calendar | Thermal Management | 5 | Active | The DS1629 digital thermometer and real-time clock integrates the critical functions of a real-time clock and a temperature sensor in a 150mil 8-pin SO package (DS1629S). Communication to the DS1629 is accomplished through a 2-wire interface. The wide power supply range and minimal power requirement of the DS1629 allow for accurate time/temperature measurements in battery-powered applications.The real-time clock/calendar provides seconds, minutes, hours, day, day of the week, date of the month, month, and year. The end of the month date is automatically adjusted for months with less than 31 days, including corrections for leap years. The real-time clock operates in either a 12- or 24-hour format with AM/PM indicator in 12-hour mode. The user-supplied crystal oscillator frequency is internally divided, as specified by device configuration. An open-drain oscillator output is provided that can be used as the clock input to a microcontroller.The thermometer offers ±2°C accuracy over a -10°C to +85°C range. Thermometer data is read out in 2's complement format with 9 bits of resolution. Higher resolution readings can be calculated using data from the DS1629 counter and slope accumulator registers.The open-drain alarm output of the DS1629 becomes active when either the measured temperature exceeds the programmed over-temperature limit (TH) or the current time reaches the programmed alarm setting. The user can configure which event (time only, temperature only, either, or neither) will generate an alarm condition. For storage of general system data or time/temperature datalogging, the DS1629 provides 32 bytes of SRAM.ApplicationsComputer ServersMedical Devices |
| Temperature Sensors | 19 | Active | ||
| Power Supply Controllers, Monitors | 5 | Obsolete | ||