A
Analog Devices Inc./Maxim Integrated
| Series | Category | # Parts | Status | Description |
|---|---|---|---|---|
| Part | Spec A | Spec B | Spec C | Spec D | Description |
|---|---|---|---|---|---|
| Series | Category | # Parts | Status | Description |
|---|---|---|---|---|
| Part | Spec A | Spec B | Spec C | Spec D | Description |
|---|---|---|---|---|---|
| Part | Category | Description |
|---|---|---|
Analog Devices Inc./Maxim Integrated LTC1879EGN#TRUnknown | Integrated Circuits (ICs) | IC REG BUCK ADJ 1.2A 16SSOP |
Analog Devices Inc./Maxim Integrated LTC2208CUP#TRUnknown | Integrated Circuits (ICs) | IC ADC 16BIT 130MSPS 64-QFN |
Analog Devices Inc./Maxim Integrated ADP2108ACBZ-1.1-R7Obsolete | Integrated Circuits (ICs) | IC REG BUCK 1.1V 600MA 5WLCSP |
Analog Devices Inc./Maxim Integrated EV1HMC832ALP6GObsolete | Development Boards Kits Programmers | EVAL BOARD FOR HMC832ALP6GE |
Analog Devices Inc./Maxim Integrated LTC488ISWUnknown | Integrated Circuits (ICs) | IC LINE RCVR RS485 QUAD 16-SOIC |
Analog Devices Inc./Maxim Integrated LTC6946IUFD-2Obsolete | Integrated Circuits (ICs) | IC CLK/FREQ SYNTH 28QFN |
Analog Devices Inc./Maxim Integrated MAX5556ESA+TObsolete | Integrated Circuits (ICs) | IC DAC/AUDIO 16BIT 50K 8SOIC |
Analog Devices Inc./Maxim Integrated EVAL-FLTR-LD-1RZUnknown | Unclassified | EVAL BRD FOR AD800 SERIES |
Analog Devices Inc./Maxim Integrated | Development Boards Kits Programmers | BOARD EVAL FOR AD9963 |
Analog Devices Inc./Maxim Integrated LTC1296CCSW#TRUnknown | Integrated Circuits (ICs) | IC DATA ACQ SYS 12BIT 5V 20SOIC |
| Series | Category | # Parts | Status | Description |
|---|---|---|---|---|
| Accelerometers | 1 | Active | ||
| Sensors | 6 | Active | ||
ADXL3133-Axis, ±0.5g/±1g/±2g/±4gDigital Accelerometer | Evaluation Boards | 3 | Active | The ADXL313 is a small, thin, low power, 3-axis accelerometer with high resolution (13-bit) measurement up to ±4g. Digital output data is formatted as 16-bit twos complement and is accessible through either a serial port interface (SPI) (3-wire or 4-wire) or I2C digital interface.The ADXL313 is well suited for car alarm or black box applications. It measures the static acceleration of gravity in tilt-sensing applications, as well as dynamic acceleration resulting from motion or shock. Its high resolution (1024 LSB/g) and low noise (150 μg/√Hz) enable resolution of inclination changes of as little as 0.1°. A built-in FIFO facilitates using oversampling techniques to improve resolution to as little as 0.025° of inclination.Several built-in sensing functions are provided. Activity and inactivity sensing detects the presence or absence of motion and whether the acceleration on any axis exceeds a user-set level. These functions can be mapped to interrupt output pins. An integrated 32-level FIFO can be used to store data to minimize host processor intervention, resulting in reduced system power consumption.Low power modes enable intelligent motion-based power management with threshold sensing and active acceleration measurement at extremely low power dissipation.The ADXL313 is supplied in a small, thin 5 mm × 5 mm × 1.45 mm, 32-lead LFCSP package and is pin compatible with the ADXL312 accelerometer device.APPLICATIONSCar alarmsHill start aid (HSA) systemsElectronic parking brakesData recorders (black boxes) |
ADXL314±200gRange, 3-Axis Digital Accelerometer | Motion Sensors | 1 | Active | The ADXL314 is a ±200grange, 13-bit resolution, 3-axis digital accelerometer. The digital output data is formatted as 16-bit, twos complement data and is accessible through a serial peripheral interface (SPI), 3-wire or 4-wire, or an I2C digital interface.An integrated memory management system with a 32 level, first in, first out (FIFO) buffer can store data to minimize host processor activity and lower overall system power consumption.Low power modes enable intelligent motion-based power management with threshold sensing and active acceleration measurement at low power dissipation, typically 65 μA for VS= 2.5 V at a 100 Hz output data rate (ODR).The ADXL314 is supplied in a small, thin 5 mm × 5 mm × 1.45 mm, 32-lead LFCSP.APPLICATIONSTire and battery pack monitoringHigh force event detection |
| Accelerometers | 3 | Active | ||
ADXL320Small and Thin, ±5gAccelerometer | Accelerometers | 3 | Unknown | The ADXL320 is a low cost, low power, complete dual-axis accelerometer with signal conditioned voltage outputs, which is all on a single monolithic IC. The product measures acceleration with a full-scale range of ±5g(typical). It can also measure both dynamic acceleration (vibration) and static acceleration (gravity)The ADXL320’s typical noise floor is 250 µg/√Hz, allowing signals below 2 mg to be resolved in tilt-sensing applications using narrow bandwidths (<60 Hz).The user selects the bandwidth of the accelerometer using capacitors CXand CYat the XOUTand YOUTpins. Bandwidths of 0.5 Hz to 2.5 kHz may be selected to suit the application.The ADXL320 is available in a very thin 4 mm × 4 mm × 1.45 mm, 16-lead, plastic LFCSPBENEFITSTwo axis accelerometer in small (4mm x 4mm x 1.45mm) LFCSP package allows adding inertial sensing in space-critical handheld devicesLow power and wide supply voltage range (2.4V to 5.25V) for battery powered applicationsInnovative circuit design provides sensitivity, zero-g bias stability over temperature - eliminates need for external compensationAPPLICATIONSCost-sensitive motion- and tilt-sensing applicationsSmart hand-held devicesMobile phonesSports and health-related devicesPC security and PC peripherals |
ADXL321Small and Thin ±18gAccelerometer | Sensors, Transducers | 3 | Unknown | The ADXL321 is a small and thin, low power, complete dual-axis accelerometer with signal conditioned voltage outputs, which is all on a single monolithic IC. The product measures acceleration with a full-scale range of ±18g(typical). It can also measure both dynamic acceleration (vibration) and static acceleration (gravity).The ADXL321’s typical noise floor is 320 µg/√Hz, allowing signals below 3 mg to be resolved in tilt-sensing applications using narrow bandwidths (<50 Hz).The user selects the bandwidth of the accelerometer using capacitors CXand CYat the XOUTand YOUTpins. Bandwidths of 0.5 Hz to 2.5 kHz may be selected to suit the application.The ADXL321 is available in a very thin 4 mm × 4 mm × 1.45 mm, 16-lead, plastic LFCSP.APPLICATIONSVibration monitoring and compensationAbuse event detectionSports equipment |
ADXL322Small and Thin ± 2gAccelerometer | Accelerometers | 3 | Unknown | The ADXL322 is an ultra small package (4 × 4 × 1.45 mm LFCSP) and low power (340 µA at VS= 2.4V) ± 2giMEMS®accelerometer designed to accommodate the integration requirements of mobile phones and other portable devices for a variety of motion, tilt, and inertial sensing features (e.g., data entry, menu and display control, power management, situational awareness, navigation, and portrait vs. landscape display orientation). The ADXL322 also enables hard disk drive protection systems and security features in notebook computers, as well as position and tilt sensing for PC and gaming peripherals such as mouse and joystick devices.APPLICATIONSCost Sensitive Motion- and Tilt-Sensing ApplicationsMobile PhonesHard Disk Drive ProtectionGamingUser Interface PeripheralsSports and Health Related Devices |
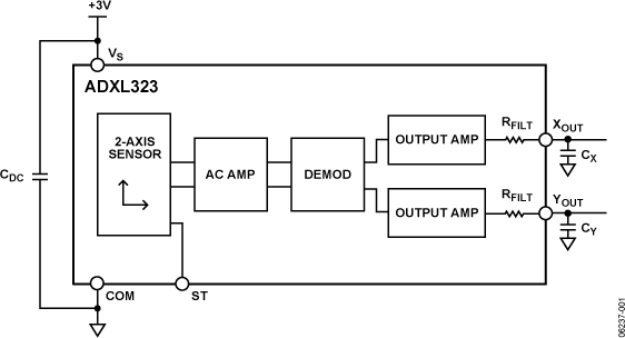
ADXL323Small, Low Power, 2-Axis ±3giMEMS® Accelerometer | Development Boards, Kits, Programmers | 3 | Obsolete | The ADXL323 is a small, thin, low power, complete 2-axis accelerometer with signal-conditioned voltage outputs, all on a single, monolithic IC. The product measures acceleration with a minimum full-scale range of ±3 g. It can measure the static acceleration of gravity in tilt-sensing applications, as well as dynamic acceleration resulting from motion, shock, or vibration.The user selects the bandwidth of the accelerometer using the CXand CYcapacitors at the XOUTand YOUTpins. Bandwidths can be selected to suit the application, with a range of 0.5 Hz to 1600 Hz.The ADXL323 is available in a small, low profile, 4 mm × 4 mm × 1.45 mm, 16-lead, plastic lead frame chip scale package (LFCSP_LQ)APPLICATIONSCost-sensitive, low power, motion- and tilt-sensing applicationsMobile devicesGaming systemsDisk drive protectionImage stabilizationSports and health devices |
ADXL325Small, Low Power, 3-Axis ±5gAccelerometer | Sensor Evaluation Boards | 4 | Active | The ADXL325 is a small, low power, complete 3-axis accelerometer with signal conditioned voltage outputs. The product measures acceleration with a minimum full-scale range of ±5g. It can measure the static acceleration of gravity in tilt-sensing applications, as well as dynamic acceleration, resulting from motion, shock, or vibration.The user selects the bandwidth of the accelerometer using the CX, CY, and CZcapacitors at the XOUT, YOUT, and ZOUTpins. Bandwidths can be selected to suit the application with a range of 0.5 Hz to 1600 Hz for X and Y axes and a range of 0.5 Hz to 550 Hz for the Z axis.The ADXL325 is available in a small, low profile, 4 mm × 4 mm × 1.45 mm, 16-lead, plastic lead frame chip scale package (LFCSP_LQ). |