ADP21646.5V, 4 A, High Efficiency, Step-Down DC-to-DC Regulator | PMIC | 7 | Active | The ADP2164 is a 4 A, synchronous, step-down dc-to-dc regulator in a compact 4 mm × 4 mm LFCSP package. The regulator uses a current mode, constant frequency pulse-width modulation (PWM) control scheme for excellent stability and transient response.The input voltage range of the ADP2164 is 2.7 V to 6.5 V. The output voltage of the ADP2164 is adjustable from 0.6 V to the input voltage (VIN). The ADP2164 is also available in six preset output voltage options: 3.3 V, 2.5 V, 1.8 V, 1.5 V, 1.2 V, and 1.0 V.The ADP2164 integrates a pair of low on-resistance P-channel and N-channel internal MOSFETs to maximize efficiency and minimize external component count. The 100% duty cycle operation allows low dropout voltage at 4 A output current.The high, 1.2 MHz PWM switching frequency allows the use of small external components, and the SYNC input enables multiple ICs to synchronize out of phase to reduce ripple and eliminate beat frequencies.Other key features of the ADP2164 include undervoltage lockout (UVLO), integrated soft start to limit inrush current at startup, overvoltage protection (OVP), overcurrent protection (OCP), and thermal shutdown.ApplicationsPoint-of-load conversionCommunications and networking equipmentIndustrial and instrumentationConsumer electronics |
ADP21655.5 V, 5 A, High Efficiency, Step-Down DC-to-DC Regulators with Output Tracking | DC/DC & AC/DC (Off-Line) SMPS Evaluation Boards | 8 | Active | The ADP2165/ADP2166are high efficiency, current mode control, step-down dc-to-dc regulators with an integrated 19 mΩ high-side FET and a 15 mΩ synchronous rectified FET. The ADP2165/ADP2166 combine a small size, 4 mm × 4 mm LFCSP package with an accurate current limit, resulting in a smaller inductor size and a high power density, point of load solution.Key features include precision enable, power-good monitor, and output voltage tracking to facilitate robust sequencing. The switching frequency can be programmed from 250 kHz to 1.4 MHz, or it can be fixed at 620 kHz or 1.2 MHz. The synchronization function allows the switching frequency to synchronize to an external clock, minimizing the electromagnetic interference (EMI) of the system.The ADP2165/ADP2166 are designed to be extremely flexible with the addition of a minimal amount of external components to program soft start and control loop compensation.he ADP2165/ADP2166 are supplied from an input voltage of 2.7 V to 5.5 V. Output voltage options include 3.3 V, 2.5 V, 1.8 V, 1.5 V, 1.2 V, or 1.0 V fixed outputs and adjustable options capable of supporting an output voltage range from 0.6 V to 90% of the input voltage. Protection features include undervoltage lockout (UVLO), overvoltage protection (OVP), overcurrent protection (OCP), and thermal shutdown (TSD) for robust performance.The ADP2165/ADP2166 operate over the −40°C to +125°C junction temperature range and are available in a 24-lead LFCSP package.ApplicationsPoint of load regulationCommunications and networkingHigh end consumerIndustrial, instrumentation, and healthcare |
ADP21665.5 V, 6 A, High Efficiency, Step-Down DC-to-DC Regulators with Output Tracking | DC/DC & AC/DC (Off-Line) SMPS Evaluation Boards | 8 | Active | TheADP2165/ADP2166 are high efficiency, current mode control, step-down dc-to-dc regulators with an integrated 19 mΩ high-side FET and a 15 mΩ synchronous rectified FET. The ADP2165/ADP2166 combine a small size, 4 mm × 4 mm LFCSP package with an accurate current limit, resulting in a smaller inductor size and a high power density, point of load solution.Key features include precision enable, power-good monitor, and output voltage tracking to facilitate robust sequencing. The switching frequency can be programmed from 250 kHz to 1.4 MHz, or it can be fixed at 620 kHz or 1.2 MHz. The synchronization function allows the switching frequency to synchronize to an external clock, minimizing the electromagnetic interference (EMI) of the system.The ADP2165/ADP2166 are designed to be extremely flexible with the addition of a minimal amount of external components to program soft start and control loop compensation.he ADP2165/ADP2166 are supplied from an input voltage of 2.7 V to 5.5 V. Output voltage options include 3.3 V, 2.5 V, 1.8 V, 1.5 V, 1.2 V, or 1.0 V fixed outputs and adjustable options capable of supporting an output voltage range from 0.6 V to 90% of the input voltage. Protection features include undervoltage lockout (UVLO), overvoltage protection (OVP), overcurrent protection (OCP), and thermal shutdown (TSD) for robust performance.The ADP2165/ADP2166 operate over the −40°C to +125°C junction temperature range and are available in a 24-lead LFCSP package.ApplicationsPoint of load regulationCommunications and networkingHigh end consumerIndustrial, instrumentation, and healthcare |
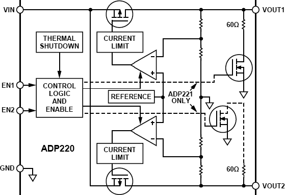
ADP220Dual, 200mA, Low Noise, High PSRR Voltage Regulator | Evaluation Boards | 9 | Active | The 200 mA dual output ADP220 /ADP221combine high PSRR, low noise, low quiescent current, and low dropout voltage in a voltage regulator ideally suited for wireless applications with demanding performance and board space requirements.The low quiescent current, low dropout voltage, and wide input voltage range of the ADP220 / ADP221 extend the battery life of portable devices. The ADP220 / ADP221 maintain power supply rejection greater than 60 dB for frequencies as high as 100 kHz while operating with a low headroom voltage. The ADP220 offers much lower noise performance than competing LDOs without the need for a noise bypass capacitor. The ADP221 also includes an active pull-down to quickly discharge output loads.The ADP220 / ADP221 are available in a miniature 6-ball WLCSP package and is stable with tiny 1 μF ± 30% ceramic output capacitors, resulting in the smallest possible board area for a wide variety of portable power needs.The ADP220 / ADP221 are available in many output voltage combinations, ranging from 0.8 V to 3.3 V, and offer overcurrent and thermal protection to prevent damage in adverse conditions.APPLICATIONSMobile phonesDigital cameras and audio devicesPortable and battery-powered equipmentPortable medical devicesPost dc-to-dc regulation |
ADP221Dual, 200mA, Low Noise, High PSRR Voltage Regulator | Integrated Circuits (ICs) | 2 | Active | The 200 mA dual outputADP220/ADP221 combine high PSRR, low noise, low quiescent current, and low dropout voltage in a voltage regulator ideally suited for wireless applications with demanding performance and board space requirements.The low quiescent current, low dropout voltage, and wide input voltage range of the ADP220/ADP221 extend the battery life of portable devices. The ADP220/ADP221 maintain power supply rejection greater than 60 dB for frequencies as high as 100 kHz while operating with a low headroom voltage. The ADP220 offers much lower noise performance than competing LDOs without the need for a noise bypass capacitor. The ADP221 also includes an active pull-down to quickly discharge output loads.The ADP220/ADP221 are available in a miniature 6-ball WLCSP package and is stable with tiny 1 μF ± 30% ceramic output capacitors, resulting in the smallest possible board area for a wide variety of portable power needs.The ADP220/ADP221 are available in many output voltage combinations, ranging from 0.8 V to 3.3 V, and offer overcur-rent and thermal protection to prevent damage in adverse conditions.APPLICATIONSMobile phonesDigital cameras and audio devicesPortable and battery-powered equipmentPortable medical devicesPost dc-to-dc regulation |
ADP222Dual, 300mA Fixed Output, Low Noise, High PSRR Voltage Regulator | PMIC | 15 | Active | The 300 mA, adjustable dual outputADP223/ADP225and fixed dual outputADP222/ADP224combine high PSRR, low noise, low quiescent current, and low dropout voltage in a voltage regulator that is ideally suited for wireless applications with demanding performance and board space requirements.The low quiescent current, low dropout voltage, and wide input voltage range of the ADP222/ADP223/ADP224/ADP225 extend the battery life of portable devices.The ADP222/ADP223/ADP224/ADP225 maintain power supply rejection greater than 60 dB for frequencies as high as 100 kHz while operating with a low headroom voltage. The ADP222/ADP223/ADP224/ADP225 offer much lower noise performance than competing LDOs without the need for a noise bypass capacitor. Overcurrent and thermal protection circuitry prevent damage in adverse conditions.The ADP224 and ADP225 are identical to the ADP222 and ADP223, respectively, but with the addition of a quick output discharge (QOD) feature.The ADP222/ADP223/ADP224/ADP225 are available in a small 8-lead, 2 mm x 2 mm LFCSP package and are stable with tiny 1 μF, ±30% ceramic output capacitors, resulting in the smallest possible board area for a wide variety of portable power needs.APPLICATIONSMobile phonesDigital camera and audio devicesPortable and battery-powered equipmentPortable medical devicesPost dc-to-dc regulation |
ADP223Dual, 300mA Adjustable Output, Low Noise, High PSRR Voltage Regulator | Voltage Regulators - Linear, Low Drop Out (LDO) Regulators | 2 | Active | The 300 mA, adjustable dual output ADP223 /ADP225and fixed dual outputADP222/ADP224combine high PSRR, low noise, low quiescent current, and low dropout voltage in a voltage regulator that is ideally suited for wireless applications with demanding performance and board space requirements.The low quiescent current, low dropout voltage, and wide input voltage range of the ADP222 / ADP223 / ADP224 / ADP225 extend the battery life of portable devices.The ADP222 / ADP223 / ADP224 / ADP225 maintain power supply rejection greater than 60 dB for frequencies as high as 100 kHz while operating with a low headroom voltage. The ADP222 / ADP223 / ADP224 / ADP225 offer much lower noise performance than competing LDOs without the need for a noise bypass capacitor. Overcurrent and thermal protection circuitry prevent damage in adverse conditions.The ADP224 and ADP225 are identical to the ADP222 and ADP223, respectively, but with the addition of a quick output discharge (QOD) feature.The ADP222 / ADP223 / ADP224 / ADP225 are available in a small 8-lead, 2 mm × 2 mm LFCSP package and are stable with tiny 1 μF, ±30% ceramic output capacitors, resulting in the smallest possible board area for a wide variety of portable power needs.APPLICATIONSPortable and battery-powered equipmentPortable medical devicesPost dc-to-dc regulationPoint of sale terminalsCredit card readersAutomatic meter readersWireless network equipment |
| PMIC | 4 | Active | |
| Voltage Regulators - Linear, Low Drop Out (LDO) Regulators | 1 | Active | |
ADP225Dual, 300mA Adjustable Output, QOD, Low Noise, High PSRR Voltage Regulator | Integrated Circuits (ICs) | 1 | Active | The 300 mA, adjustable dual outputADP223/ ADP225 and fixed dual outputADP222/ADP224combine high PSRR, low noise, low quiescent current, and low dropout voltage in a voltage regulator that is ideally suited for wireless applications with demanding performance and board space requirements.The low quiescent current, low dropout voltage, and wide input voltage range of the ADP222 / ADP223 / ADP224 / ADP225 extend the battery life of portable devices.The ADP222 / ADP223 / ADP224 / ADP225 maintain power supply rejection greater than 60 dB for frequencies as high as 100 kHz while operating with a low headroom voltage. The ADP222 / ADP223 / ADP224 / ADP225 offer much lower noise performance than competing LDOs without the need for a noise bypass capacitor. Overcurrent and thermal protection circuitry prevent damage in adverse conditions.The ADP224 and ADP225 are identical to the ADP222 and ADP223, respectively, but with the addition of a quick output discharge (QOD) feature.The ADP222 / ADP223 / ADP224 / ADP225 are available in a small 8-lead, 2 mm x 2 mm LFCSP package and are stable with tiny 1 μF, ±30% ceramic output capacitors, resulting in the smallest possible board area for a wide variety of portable power needs.APPLICATIONSMobile phonesDigital camera and audio devicesPortable and battery-powered equipmentPortable medical devicesPost dc-to-dc regulation |