A
Analog Devices Inc./Maxim Integrated
| Series | Category | # Parts | Status | Description |
|---|---|---|---|---|
| Part | Spec A | Spec B | Spec C | Spec D | Description |
|---|---|---|---|---|---|
| Series | Category | # Parts | Status | Description |
|---|---|---|---|---|
| Part | Spec A | Spec B | Spec C | Spec D | Description |
|---|---|---|---|---|---|
| Part | Category | Description |
|---|---|---|
Analog Devices Inc./Maxim Integrated LTC1879EGN#TRUnknown | Integrated Circuits (ICs) | IC REG BUCK ADJ 1.2A 16SSOP |
Analog Devices Inc./Maxim Integrated LTC2208CUP#TRUnknown | Integrated Circuits (ICs) | IC ADC 16BIT 130MSPS 64-QFN |
Analog Devices Inc./Maxim Integrated ADP2108ACBZ-1.1-R7Obsolete | Integrated Circuits (ICs) | IC REG BUCK 1.1V 600MA 5WLCSP |
Analog Devices Inc./Maxim Integrated EV1HMC832ALP6GObsolete | Development Boards Kits Programmers | EVAL BOARD FOR HMC832ALP6GE |
Analog Devices Inc./Maxim Integrated LTC488ISWUnknown | Integrated Circuits (ICs) | IC LINE RCVR RS485 QUAD 16-SOIC |
Analog Devices Inc./Maxim Integrated LTC6946IUFD-2Obsolete | Integrated Circuits (ICs) | IC CLK/FREQ SYNTH 28QFN |
Analog Devices Inc./Maxim Integrated MAX5556ESA+TObsolete | Integrated Circuits (ICs) | IC DAC/AUDIO 16BIT 50K 8SOIC |
Analog Devices Inc./Maxim Integrated EVAL-FLTR-LD-1RZUnknown | Unclassified | EVAL BRD FOR AD800 SERIES |
Analog Devices Inc./Maxim Integrated | Development Boards Kits Programmers | BOARD EVAL FOR AD9963 |
Analog Devices Inc./Maxim Integrated LTC1296CCSW#TRUnknown | Integrated Circuits (ICs) | IC DATA ACQ SYS 12BIT 5V 20SOIC |
| Series | Category | # Parts | Status | Description |
|---|---|---|---|---|
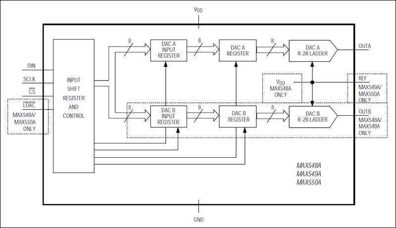
MAX549A+2.5V to +5.5V, Low-Power, Single/Dual, 8-Bit Voltage-Output DACs in µMAX Package | Data Acquisition | 1 | Active | The MAX548A/MAX549A/MAX550A serial, 8-bit voltage-output digital-to-analog converters (DACs) operate from a single +2.5V to +5.5V supply. Their ±1LSB TUE specification is guaranteed over temperature. Operating current (supply current plus reference current) is typically 75µA per DAC with VDD= 2.5V. In shutdown, the DAC is disconnected from the reference, reducing current drain to less than 1µA. The MAX548A/MAX549A allow each DAC to be shut down independently.The 10MHz, 3-wire serial interface is compatible with SPI™/QSPI™ and Microwire™ interface standards. Double-buffered inputs provide flexibility when updating the DACs; the input and DAC registers can be updated individually or simultaneously.The MAX548A is a dual DAC with an asynchronous load input; it uses VDDas the reference input. The MAX549A is a dual DAC with an external reference input. The MAX550A is a single DAC with an external reference input and an asynchronous load input.The MAX548A/MAX549A/MAX550A's low power consumption and small µMAX® and DIP packages make these devices ideal for portable and battery-powered applications.ApplicationsBattery-Powered ApplicationsComparator-Level SettingsDigital Gain and Offset ControlGaAs Amp Bias ControlGeneral PurposeVCXO Control |
| Digital to Analog Converters (DAC) | 8 | Active | ||
MAX5500Low-Power, Quad, 12-Bit Voltage-Output DACs with Serial Interface | Integrated Circuits (ICs) | 4 | Active | The MAX5500/MAX5501 integrate four low-power, 12-bit digital-to analog converters (DACs) and four precision output amplifiers in a small, 20-pin package. Each negative input of the four precision amplifiers is externally accessible providing flexibility in gain configurations, remote sensing, and high output drive capacity, making the MAX5500/MAX5501 ideal for industrial-process-control applications. Other features include software shutdown, hardware shutdown lockout, an active-low reset which clears all registers and DACs to zero, a user-programmable logic output, and a serial-data output.Each DAC provides a double-buffered input organized as an input register followed by a DAC register. A 16-bit serial word loads data into each input register. The serial interface is compatible with SPI™/QSPI™/MICROWIRE™. The serial interface allows the input and DAC registers to be updated independently or simultaneously with a single software command. The 3-wire interface simultaneously updates the DAC registers. All logic inputs are TTL/CMOS-logic compatible. The MAX5500 operates from a single +5V power supply, and the MAX5501 operates from a single +3V power supply. The MAX5500/MAX5501 are specified over the extended -40°C to +105°C temperature range.ApplicationsAutomatic Test EquipmentDigital Offset and Gain AdjustmentIndustrial Process ControlsMicroprocessor (µP)-Controlled SystemsMotion ControlRemote Industrial Controls |
MAX5501Low-Power, Quad, 12-Bit Voltage-Output DACs with Serial Interface | Data Acquisition | 3 | Active | The MAX5500/MAX5501 integrate four low-power, 12-bit digital-to analog converters (DACs) and four precision output amplifiers in a small, 20-pin package. Each negative input of the four precision amplifiers is externally accessible providing flexibility in gain configurations, remote sensing, and high output drive capacity, making the MAX5500/MAX5501 ideal for industrial-process-control applications. Other features include software shutdown, hardware shutdown lockout, an active-low reset which clears all registers and DACs to zero, a user-programmable logic output, and a serial-data output.Each DAC provides a double-buffered input organized as an input register followed by a DAC register. A 16-bit serial word loads data into each input register. The serial interface is compatible with SPI™/QSPI™/MICROWIRE™. The serial interface allows the input and DAC registers to be updated independently or simultaneously with a single software command. The 3-wire interface simultaneously updates the DAC registers. All logic inputs are TTL/CMOS-logic compatible. The MAX5500 operates from a single +5V power supply, and the MAX5501 operates from a single +3V power supply. The MAX5500/MAX5501 are specified over the extended -40°C to +105°C temperature range.ApplicationsAutomatic Test EquipmentDigital Offset and Gain AdjustmentIndustrial Process ControlsMicroprocessor (µP)-Controlled SystemsMotion ControlRemote Industrial Controls |
MAX551+3V/+5V, 12-Bit, Serial, Multiplying DACs in 10-Pin µMAX Package | Digital to Analog Converters (DAC) | 17 | Active | The MAX551/MAX552 are 12-bit, current-output, 4-quadrant multiplying digital-to-analog converters (DACs). These devices are capable of providing unipolar or bipolar outputs when operating from either a single +5V (MAX551) or +3V (MAX552) power supply. An internal power-on-reset circuit clears all DAC registers on power-up, setting the DAC output voltage to 0V.The SPI™/QSPI™ and MICROWIRE™-compatible 3-wire serial interface saves board space and reduces power dissipation compared with parallel-interface devices. The MAX551/MAX552 feature double-buffered interface logic with a 12-bit input register and a 12-bit DAC register. Data in the DAC register sets the DAC output voltage. Data is loaded into the input register through the serial interface. The active-low LOAD input transfers data from the input register to the DAC register, updating the DAC output voltage. The MAX551/MAX552 are available in an 8-pin DIP package or a space-saving 10-pin µMAX package. The µMAX package provides an asynchronous clear (CLR-bar) input that clears all DAC registers when pulled to GND, setting the output voltage to 0V.ApplicationsµP-Controlled SystemsAutomatic CalibrationDigitally Controlled FiltersGain AdjustmentMotion-Controlled SystemsProcess-Control I/O BoardsProgrammable Amplifiers/AttenuatorsTransducer Drivers |
MAX5510+1.8V to +5.5V, Ultra-Low-Power, 8-Bit, Voltage-Output DACs | Integrated Circuits (ICs) | 2 | Active | The MAX5510/MAX5511 are single, 8-bit, ultra-low-power, voltage-output, digital-to-analog converters (DACs) offering rail-to-rail buffered voltage outputs. The DACs operate from a 1.8V to 5.5V supply and consume less than 6µA, making them desirable for low-power and low-voltage applications. A shutdown mode reduces overall current, including the reference input current, to just 0.18µA. The MAX5510/MAX5511 use a 3-wire serial interface that is compatible with SPI™, QSPI™, and MICROWIRE™.At power-up, the MAX5510/MAX5511 outputs are driven to zero scale, providing additional safety for applications that drive valves or for other transducers that must be off during power-up. The zero-scale outputs enable glitch-free power-up. The MAX5510 accepts an external reference input. The MAX5511 contains an internal reference and provides an external reference output. Both devices have force-sense-configured output buffers. The MAX5510/MAX5511 are available in a 4mm x 4mm x 0.8mm, 12-pin, thin QFN package and are guaranteed over the extended -40°C to +85°C temperature range. For 12-bit compatible devices, refer to the MAX5530/MAX5531 data sheet. For 10-bit compatible devices, refer to the MAX5520/MAX5521 data sheet.ApplicationsAutomatic Trimming and Calibration in Factory or FieldChemical Sensor Cell Bias for Gas MonitorsIndustrial Process Control and Remote Industrial DevicesInstrumentationPortable Battery-Powered DevicesProgrammable Liquid Crystal Display (LCD) BiasProgrammable Voltage and Current SourcesRemote Data Conversion and Monitoring |
| Digital to Analog Converters (DAC) | 2 | Active | ||
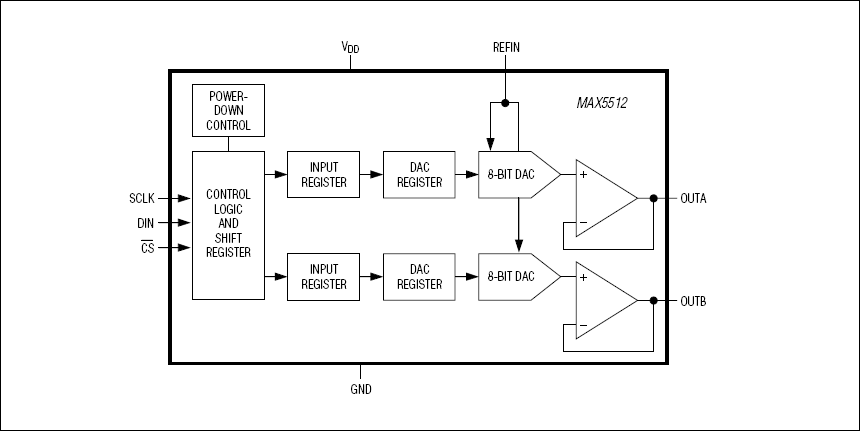
MAX5512Dual, Ultra-Low-Power, 8-Bit, Voltage-Output DACs | Digital to Analog Converters (DAC) | 2 | Active | The MAX5512-MAX5515 are dual, 8-bit, ultra-low-power, voltage-output, digital-to-analog converters (DACs) offering Rail-to-Rail buffered voltage outputs. The DACs operate from a 1.8V to 5.5V supply and consume less than 5µA, making the devices suitable for low-power and low-voltage applications. A shutdown mode reduces overall current, including the reference input current, to just 0.18µA. The MAX5512-MAX5515 use a 3-wire serial interface that is compatible with SPI™, QSPI™, and MICROWIRE™. Upon power-up, the MAX5512-MAX5515 outputs are driven to zero scale, providing additional safety for applications that drive valves or for other transducers that need to be off during power-up. The zero-scale outputs enable glitch-free power-up.The MAX5512 accepts an external reference input and provides unity-gain outputs. The MAX5513 contains a precision internal reference and provides a buffered external reference output with unity-gain DAC outputs. The MAX5514 accepts an external reference input and provides force-sense outputs. The MAX5515 contains a precision internal reference and provides a buffered external reference output with force-sense DAC outputs. The MAX5514/MAX5515 are available in a 4mm x 4mm x 0.8mm, 12-pin, thin QFN package. The MAX5512/MAX5513 are available in an 8-pin µMAX® package. All devices are guaranteed over the extended -40°C to +85°C temperature range. For 10-bit compatible devices, refer to theMAX5522-MAX5525data sheet. For 12-bit compatible devices, refer to theMAX5532-MAX5535data sheet.ApplicationsAutomatic Trimming and Calibration in Factory or FieldAutomatic Trimming and Calibration in Factory or FieldChemical Sensor Cell Bias for Gas MonitorsIndustrial DevicesIndustrial Process Control and Remote Industrial DevicesInstrumentationPortable Battery-Powered DevicesProgrammable LCD BiasProgrammable Voltage and Current SourcesRemote Data Conversion and Monitoring |
MAX5513Dual, Ultra-Low-Power, 8-Bit, Voltage-Output DACs | Integrated Circuits (ICs) | 2 | Active | The MAX5512-MAX5515 are dual, 8-bit, ultra-low-power, voltage-output, digital-to-analog converters (DACs) offering Rail-to-Rail buffered voltage outputs. The DACs operate from a 1.8V to 5.5V supply and consume less than 5µA, making the devices suitable for low-power and low-voltage applications. A shutdown mode reduces overall current, including the reference input current, to just 0.18µA. The MAX5512-MAX5515 use a 3-wire serial interface that is compatible with SPI™, QSPI™, and MICROWIRE™. Upon power-up, the MAX5512-MAX5515 outputs are driven to zero scale, providing additional safety for applications that drive valves or for other transducers that need to be off during power-up. The zero-scale outputs enable glitch-free power-up.The MAX5512 accepts an external reference input and provides unity-gain outputs. The MAX5513 contains a precision internal reference and provides a buffered external reference output with unity-gain DAC outputs. The MAX5514 accepts an external reference input and provides force-sense outputs. The MAX5515 contains a precision internal reference and provides a buffered external reference output with force-sense DAC outputs. The MAX5514/MAX5515 are available in a 4mm x 4mm x 0.8mm, 12-pin, thin QFN package. The MAX5512/MAX5513 are available in an 8-pin µMAX® package. All devices are guaranteed over the extended -40°C to +85°C temperature range. For 10-bit compatible devices, refer to theMAX5522-MAX5525data sheet. For 12-bit compatible devices, refer to theMAX5532-MAX5535data sheet.ApplicationsAutomatic Trimming and Calibration in Factory or FieldAutomatic Trimming and Calibration in Factory or FieldChemical Sensor Cell Bias for Gas MonitorsIndustrial DevicesIndustrial Process Control and Remote Industrial DevicesInstrumentationPortable Battery-Powered DevicesProgrammable LCD BiasProgrammable Voltage and Current SourcesRemote Data Conversion and Monitoring |
| Data Acquisition | 2 | Active | ||