MAX552+3V/+5V, 12-Bit, Serial, Multiplying DACs in 10-Pin µMAX Package | Digital Potentiometers | 13 | Active | The MAX5527/MAX5528/MAX5529 linear-taper digital potentiometers perform the same function as mechanical potentiometers, replacing the mechanics with a simple 2-wire up/down digital interface. These digital potentiometers provide an optional one-time programmable feature that sets the power-on reset position of the wiper. Once the wiper position is programmed, the 2-wire interface can be disabled to prevent unwanted adjustment.The MAX5527/MAX5528/MAX5529 provide an end-to-end resistance of 100kΩ, 50kΩ, and 10kΩ, respectively. The devices feature low temperature coefficients of 35ppm/°C end-to-end and 5ppm/°C ratiometric. All devices offer 64 wiper positions and operate from a single +2.7V to +5.5V supply. An ultra-low, 0.25µA (typ) standby supply current saves power in battery-operated applications.The MAX5527/MAX5528/MAX5529 are available in 3mm x 3mm, 8-pin TDFN and 5mm x 3mm, 8-pin µMAX® packages. Each device is guaranteed over the -40°C to +105°C temperature range.ApplicationsMechanical Potentiometer ReplacementsProducts Using One-Time Factory Calibration |
MAX5520+1.8V to +5.5V, Ultra-Low-Power, 10-Bit, Voltage-Output DACs | Digital to Analog Converters (DAC) | 1 | Obsolete | The MAX5520/MAX5521 are single, 10-bit, ultra-low- power, voltage-output, digital-to-analog converters (DACs) offering rail-to-rail buffered voltage outputs. The DACs operate from a 1.8V to 5.5V supply and consume less than 6µA, making them desirable for low-power and low-voltage applications. A shutdown mode reduces overall current, including the reference input current, to just 0.18µA. The MAX5520/MAX5521 use a 3-wire serial interface that is compatible with SPI™, QSPI™, and MICROWIRE™.At power-up, the MAX5520/MAX5521 outputs are driven to zero scale, providing additional safety for applications that drive valves or for other transducers that must be off during power-up. The zero-scale outputs enable glitch-free power-up. The MAX5520 accepts an external reference input. The MAX5521 contains an internal reference and provides an external reference output. Both devices have force-sense-configured output buffers. The MAX5520/MAX5521 are available in a 4mm x 4mm x 0.8mm, 12-pin, thin QFN package and are guaranteed over the extended -40°C to +85°C temperature range. For 12-bit compatible devices, refer to the MAX5530/MAX5531 data sheet. For 8-bit compatible devices, refer to the MAX5510/MAX5511 data sheet.ApplicationsAutomatic Trimming and Calibration in Factory or FieldAutomatic Trimming and Calibration in Factory or FieldChemical Sensor Cell Bias for Gas MonitorsIndustrial DevicesIndustrial Process Control and Remote Industrial DevicesInstrumentationPortable Battery-Powered DevicesProgrammable Liquid Crystal Display (LCD) BiasProgrammable Voltage and Current SourcesRemote Data Conversion and Monitoring |
MAX5521+1.8V to +5.5V, Ultra-Low-Power, 10-Bit, Voltage-Output DACs | Digital to Analog Converters (DAC) | 2 | Active | The MAX5520/MAX5521 are single, 10-bit, ultra-low- power, voltage-output, digital-to-analog converters (DACs) offering rail-to-rail buffered voltage outputs. The DACs operate from a 1.8V to 5.5V supply and consume less than 6µA, making them desirable for low-power and low-voltage applications. A shutdown mode reduces overall current, including the reference input current, to just 0.18µA. The MAX5520/MAX5521 use a 3-wire serial interface that is compatible with SPI™, QSPI™, and MICROWIRE™.At power-up, the MAX5520/MAX5521 outputs are driven to zero scale, providing additional safety for applications that drive valves or for other transducers that must be off during power-up. The zero-scale outputs enable glitch-free power-up. The MAX5520 accepts an external reference input. The MAX5521 contains an internal reference and provides an external reference output. Both devices have force-sense-configured output buffers. The MAX5520/MAX5521 are available in a 4mm x 4mm x 0.8mm, 12-pin, thin QFN package and are guaranteed over the extended -40°C to +85°C temperature range. For 12-bit compatible devices, refer to the MAX5530/MAX5531 data sheet. For 8-bit compatible devices, refer to the MAX5510/MAX5511 data sheet.ApplicationsAutomatic Trimming and Calibration in Factory or FieldAutomatic Trimming and Calibration in Factory or FieldChemical Sensor Cell Bias for Gas MonitorsIndustrial DevicesIndustrial Process Control and Remote Industrial DevicesInstrumentationPortable Battery-Powered DevicesProgrammable Liquid Crystal Display (LCD) BiasProgrammable Voltage and Current SourcesRemote Data Conversion and Monitoring |
| Data Acquisition | 2 | Active | |
| Data Acquisition | 2 | Active | |
| Data Acquisition | 2 | Active | |
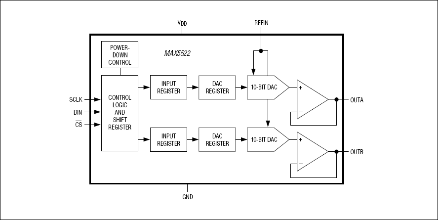
MAX5525Dual, Ultra-Low-Power, 10-Bit, Voltage-Output DACs | Digital to Analog Converters (DAC) | 2 | Active | The MAX5522-MAX5525 are dual, 10-bit, ultra-lowpower, voltage-output, digital-to-analog converters (DACs) offering rail-to-rail buffered voltage outputs. The DACs operate from a 1.8V to 5.5V supply and consume less than 5µA, making the devices suitable for lowpower and low-voltage applications. A shutdown mode reduces overall current, including the reference input current, to just 0.18µA. The MAX5522-MAX5525 use a 3-wire serial interface that is compatible with SPI™, QSPI™, and MICROWIRE™.Upon power-up, the MAX5522-MAX5525 outputs are driven to zero scale, providing additional safety for applications that drive valves or for other transducers that need to be off during power-up. The zero-scale outputs enable glitch-free power-up. The MAX5522 accepts an external reference input and provides unity-gain outputs. The MAX5523 contains a precision internal reference and provides a buffered external reference output with unity-gain DAC outputs. The MAX5524 accepts an external reference input and provides force-sense outputs. The MAX5525 contains a precision internal reference and provides a buffered external reference output with force-sense DAC outputs. The MAX5524/MAX5525 are available in a 4mm x 4mm x 0.8mm, 12-pin, thin QFN package. The MAX5522/MAX5523 are available in an 8-pin µMAX package. All devices are guaranteed over the extended -40°C to +85°C temperature range. For 12-bit compatible devices, refer to theMAX5532-MAX5535data sheet. For 8-bit compatible devices, refer to theMAX5512-MAX5515data sheet.ApplicationsAutomatic Trimming and Calibration in Factory or FieldChemical Sensor Cell Bias for Gas MonitorsIndustrial Process Control and Remote Industrial DevicesPortable Battery-Powered Devices InstrumentationProgrammable LCD BiasProgrammable Voltage and Current SourcesRemote Data Conversion and Monitoring |
| Integrated Circuits (ICs) | 3 | Active | |
MAX552864-Tap, One-Time Programmable, Linear-Taper Digital Potentiometers | Data Acquisition | 1 | Obsolete | The MAX5527/MAX5528/MAX5529 linear-taper digital potentiometers perform the same function as mechanical potentiometers, replacing the mechanics with a simple 2-wire up/down digital interface. These digital potentiometers provide an optional one-time programmable feature that sets the power-on reset position of the wiper. Once the wiper position is programmed, the 2-wire interface can be disabled to prevent unwanted adjustment.The MAX5527/MAX5528/MAX5529 provide an end-to-end resistance of 100kΩ, 50kΩ, and 10kΩ, respectively. The devices feature low temperature coefficients of 35ppm/°C end-to-end and 5ppm/°C ratiometric. All devices offer 64 wiper positions and operate from a single +2.7V to +5.5V supply. An ultra-low, 0.25µA (typ) standby supply current saves power in battery-operated applications.The MAX5527/MAX5528/MAX5529 are available in 3mm x 3mm, 8-pin TDFN and 5mm x 3mm, 8-pin µMAX® packages. Each device is guaranteed over the -40°C to +105°C temperature range.ApplicationsMechanical Potentiometer ReplacementsProducts Using One-Time Factory Calibration |
MAX552964-Tap, One-Time Programmable, Linear-Taper Digital Potentiometers | Digital Potentiometers | 3 | Active | The MAX5527/MAX5528/MAX5529 linear-taper digital potentiometers perform the same function as mechanical potentiometers, replacing the mechanics with a simple 2-wire up/down digital interface. These digital potentiometers provide an optional one-time programmable feature that sets the power-on reset position of the wiper. Once the wiper position is programmed, the 2-wire interface can be disabled to prevent unwanted adjustment.The MAX5527/MAX5528/MAX5529 provide an end-to-end resistance of 100kΩ, 50kΩ, and 10kΩ, respectively. The devices feature low temperature coefficients of 35ppm/°C end-to-end and 5ppm/°C ratiometric. All devices offer 64 wiper positions and operate from a single +2.7V to +5.5V supply. An ultra-low, 0.25µA (typ) standby supply current saves power in battery-operated applications.The MAX5527/MAX5528/MAX5529 are available in 3mm x 3mm, 8-pin TDFN and 5mm x 3mm, 8-pin µMAX® packages. Each device is guaranteed over the -40°C to +105°C temperature range.ApplicationsMechanical Potentiometer ReplacementsProducts Using One-Time Factory Calibration |