PCM1780106dB SNR Stereo DAC (S/W Control) | Integrated Circuits (ICs) | 2 | Active | The PCM1780/81/82 is a CMOS, monolithic, integrated circuit, which includes stereo digital-to-analog converters and support circuitry in a small 16-lead SSOP package. The data converters use TI’s enhanced multilevel delta-sigma architecture to achieve excellent dynamic performance and improved tolerance to clock jitter. The PCM1780/81/82 accepts industry standard audio data formats with 16- to 24-bit data, providing easy interfacing to audio DSP and decoder chips. Sampling rates up to 200 kHz are supported. The PCM1780/82 provides a full set of user-programmable functions through a three-wire serial control port, which supports register write functions. The PCM1781 provides a subset of user-programmable functions through four control pins.
The PCM1780 is pin-compatible with the PCM1680 (8-channel DAC).
The PCM1780/81/82 is a CMOS, monolithic, integrated circuit, which includes stereo digital-to-analog converters and support circuitry in a small 16-lead SSOP package. The data converters use TI’s enhanced multilevel delta-sigma architecture to achieve excellent dynamic performance and improved tolerance to clock jitter. The PCM1780/81/82 accepts industry standard audio data formats with 16- to 24-bit data, providing easy interfacing to audio DSP and decoder chips. Sampling rates up to 200 kHz are supported. The PCM1780/82 provides a full set of user-programmable functions through a three-wire serial control port, which supports register write functions. The PCM1781 provides a subset of user-programmable functions through four control pins.
The PCM1780 is pin-compatible with the PCM1680 (8-channel DAC). |
PCM1781106dB SNR Stereo DAC (H/W Control) | ADCs/DACs - Special Purpose | 2 | Active | The PCM1780/81/82 is a CMOS, monolithic, integrated circuit, which includes stereo digital-to-analog converters and support circuitry in a small 16-lead SSOP package. The data converters use TI’s enhanced multilevel delta-sigma architecture to achieve excellent dynamic performance and improved tolerance to clock jitter. The PCM1780/81/82 accepts industry standard audio data formats with 16- to 24-bit data, providing easy interfacing to audio DSP and decoder chips. Sampling rates up to 200 kHz are supported. The PCM1780/82 provides a full set of user-programmable functions through a three-wire serial control port, which supports register write functions. The PCM1781 provides a subset of user-programmable functions through four control pins.
The PCM1780 is pin-compatible with the PCM1680 (8-channel DAC).
The PCM1780/81/82 is a CMOS, monolithic, integrated circuit, which includes stereo digital-to-analog converters and support circuitry in a small 16-lead SSOP package. The data converters use TI’s enhanced multilevel delta-sigma architecture to achieve excellent dynamic performance and improved tolerance to clock jitter. The PCM1780/81/82 accepts industry standard audio data formats with 16- to 24-bit data, providing easy interfacing to audio DSP and decoder chips. Sampling rates up to 200 kHz are supported. The PCM1780/82 provides a full set of user-programmable functions through a three-wire serial control port, which supports register write functions. The PCM1781 provides a subset of user-programmable functions through four control pins.
The PCM1780 is pin-compatible with the PCM1680 (8-channel DAC). |
PCM1782106dB SNR Stereo DAC (S/W Control) | Data Acquisition | 3 | Active | The PCM1780/81/82 is a CMOS, monolithic, integrated circuit, which includes stereo digital-to-analog converters and support circuitry in a small 16-lead SSOP package. The data converters use TI’s enhanced multilevel delta-sigma architecture to achieve excellent dynamic performance and improved tolerance to clock jitter. The PCM1780/81/82 accepts industry standard audio data formats with 16- to 24-bit data, providing easy interfacing to audio DSP and decoder chips. Sampling rates up to 200 kHz are supported. The PCM1780/82 provides a full set of user-programmable functions through a three-wire serial control port, which supports register write functions. The PCM1781 provides a subset of user-programmable functions through four control pins.
The PCM1780 is pin-compatible with the PCM1680 (8-channel DAC).
The PCM1780/81/82 is a CMOS, monolithic, integrated circuit, which includes stereo digital-to-analog converters and support circuitry in a small 16-lead SSOP package. The data converters use TI’s enhanced multilevel delta-sigma architecture to achieve excellent dynamic performance and improved tolerance to clock jitter. The PCM1780/81/82 accepts industry standard audio data formats with 16- to 24-bit data, providing easy interfacing to audio DSP and decoder chips. Sampling rates up to 200 kHz are supported. The PCM1780/82 provides a full set of user-programmable functions through a three-wire serial control port, which supports register write functions. The PCM1781 provides a subset of user-programmable functions through four control pins.
The PCM1780 is pin-compatible with the PCM1680 (8-channel DAC). |
| ADCs/DACs - Special Purpose | 2 | Active | The PCM1789 is a high-performance, single-chip, 24-bit, stereo, audio digital-to-analog converter (DAC) with differential outputs. The two-channel, 24-bit DAC employs an enhanced multi-level, delta-sigma (ΔΣ) modulator, and supports 8 kHz to 192 kHz sampling rates and a 16-, 20-, 24-, 32-bit width digital audio input word on the audio interface. The audio interface of PCM1789 supports a 24-bit, DSP format in addition to I2S, left-justified, and right-justified formats.
The PCM1789 can be controlled through a three-wire, SPI-compatible or two-wire, I2C-compatible serial interface in software, which provides access to all functions including digital attenuation, soft mute, de-emphasis, and so forth. Also, hardware control mode provides two user-programmable functions through two control pins. The PCM1789 is available in a 24-pin TSSOP package.
The PCM1789 is a high-performance, single-chip, 24-bit, stereo, audio digital-to-analog converter (DAC) with differential outputs. The two-channel, 24-bit DAC employs an enhanced multi-level, delta-sigma (ΔΣ) modulator, and supports 8 kHz to 192 kHz sampling rates and a 16-, 20-, 24-, 32-bit width digital audio input word on the audio interface. The audio interface of PCM1789 supports a 24-bit, DSP format in addition to I2S, left-justified, and right-justified formats.
The PCM1789 can be controlled through a three-wire, SPI-compatible or two-wire, I2C-compatible serial interface in software, which provides access to all functions including digital attenuation, soft mute, de-emphasis, and so forth. Also, hardware control mode provides two user-programmable functions through two control pins. The PCM1789 is available in a 24-pin TSSOP package. |
| Data Acquisition | 1 | Obsolete | |
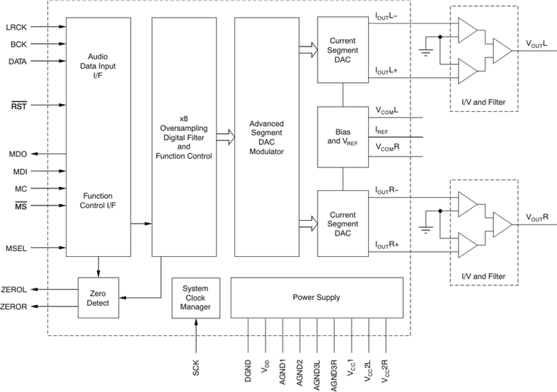
PCM1791A113dB SNR Stereo DAC (S/W Control) | ADCs/DACs - Special Purpose | 2 | Active | The PCM1791A is a monolithic CMOS integrated circuit that includes stereo digital-to-analog converters and support circuitry in a small 28-lead SSOP package. The data converters use TI’s advanced segment DAC architecture to achieve excellent dynamic performance and improved tolerance to clock jitter. The PCM1791A provides balanced voltage outputs, allowing the user to optimize analog performance externally. The PCM1791A accepts PCM and DSD audio data formats, providing easy interfacing to audio DSP and decoder chips. The PCM1791A also accepts interface to external digital filter devices (DF1704, DF1706, PMD200). Sampling rates up to 200 kHz are supported. A full set of user-programmable functions is accessible through an SPI or I2C serial control port, which supports register write and readback functions. The PCM1791A also supports the time-division-multiplexed command and audio (TDMCA) data format.
The PCM1791A is a monolithic CMOS integrated circuit that includes stereo digital-to-analog converters and support circuitry in a small 28-lead SSOP package. The data converters use TI’s advanced segment DAC architecture to achieve excellent dynamic performance and improved tolerance to clock jitter. The PCM1791A provides balanced voltage outputs, allowing the user to optimize analog performance externally. The PCM1791A accepts PCM and DSD audio data formats, providing easy interfacing to audio DSP and decoder chips. The PCM1791A also accepts interface to external digital filter devices (DF1704, DF1706, PMD200). Sampling rates up to 200 kHz are supported. A full set of user-programmable functions is accessible through an SPI or I2C serial control port, which supports register write and readback functions. The PCM1791A also supports the time-division-multiplexed command and audio (TDMCA) data format. |
| ADCs/DACs - Special Purpose | 2 | Unknown | |
PCM1793113dB SNR Stereo DAC (H/W Control) | ADCs/DACs - Special Purpose | 2 | Active | The PCM1793 is a monolithic CMOS integrated circuit that includes stereo digital-to-analog converters and support circuitry in a small 28-lead SSOP package. The data converters use TI’s advanced segment DAC architecture to achieve excellent dynamic performance and improved tolerance to clock jitter. The PCM1793 provides balanced voltage outputs, allowing the user to optimize analog performance externally. Sampling rates up to 200 kHz are supported.
The PCM1793 is a monolithic CMOS integrated circuit that includes stereo digital-to-analog converters and support circuitry in a small 28-lead SSOP package. The data converters use TI’s advanced segment DAC architecture to achieve excellent dynamic performance and improved tolerance to clock jitter. The PCM1793 provides balanced voltage outputs, allowing the user to optimize analog performance externally. Sampling rates up to 200 kHz are supported. |
PCM1794A132dB SNR Highest Performance Stereo DAC (H/W Control) | Integrated Circuits (ICs) | 4 | Active | The PCM1794A device is a monolithic, CMOS-integrated circuit that includes stereo digital-to-analog converters (DACs) and support circuitry in a small 28-pin SSOP package. The data converters use TI’s advanced segment DAC architecture to achieve excellent dynamic performance and improved tolerance to clock jitter. The PCM1794A device provides balanced current outputs, allowing the user to optimize analog performance externally. Sampling rates up to 200 kHz are supported.
The PCM1794A device is a monolithic, CMOS-integrated circuit that includes stereo digital-to-analog converters (DACs) and support circuitry in a small 28-pin SSOP package. The data converters use TI’s advanced segment DAC architecture to achieve excellent dynamic performance and improved tolerance to clock jitter. The PCM1794A device provides balanced current outputs, allowing the user to optimize analog performance externally. Sampling rates up to 200 kHz are supported. |
PCM179532-bit, 192kHz Sampling, Advanced Segment, Audio Stereo DAC | Data Acquisition | 1 | Active | The PCM1795 device is a monolithic CMOS integrated circuit that includes stereo digital-to-analog converters (DACs) and support circuitry in a small SSOP-28 package. The data converters use TI’s advanced segment DAC architecture to achieve excellent dynamic performance and improved tolerance to clock jitter. The PCM1795 provides balanced current outputs, letting the user optimize analog performance externally. The PCM1795 accepts pulse code modulation (PCM) and direct stream digital (DSD) audio data formats, thus providing an easy interface to audio digital signal processors (DSPs) and decoder chips. The PCM1795 device also interfaces with external digital filter devices such as the DF1704, DF1706, and the PMD200 from Pacific Microsonics&trade. Sampling rates up to 200 kHz are supported. A full set of user-programmable functions is accessible through an SPI or I2C serial control port that supports register write and readback functions. The PCM1795 device also supports the time-division-multiplexed (TDM) command and audio (TDMCA) data format.
The PCM1795 device is a monolithic CMOS integrated circuit that includes stereo digital-to-analog converters (DACs) and support circuitry in a small SSOP-28 package. The data converters use TI’s advanced segment DAC architecture to achieve excellent dynamic performance and improved tolerance to clock jitter. The PCM1795 provides balanced current outputs, letting the user optimize analog performance externally. The PCM1795 accepts pulse code modulation (PCM) and direct stream digital (DSD) audio data formats, thus providing an easy interface to audio digital signal processors (DSPs) and decoder chips. The PCM1795 device also interfaces with external digital filter devices such as the DF1704, DF1706, and the PMD200 from Pacific Microsonics&trade. Sampling rates up to 200 kHz are supported. A full set of user-programmable functions is accessible through an SPI or I2C serial control port that supports register write and readback functions. The PCM1795 device also supports the time-division-multiplexed (TDM) command and audio (TDMCA) data format. |