MSP430TCH5E16 MHz MCU with 16KB Flash, 512B SRAM, haptics-enabled, capacitive touch, 10-bit ADC, UART/SPI/I2 | Application Specific Microcontrollers | 4 | NRND | The MSP430TCH5E device is a haptics-enabled MSP430 microcontroller that features Immersion TouchSense Technology. Haptics technology provides tactile feedback, using mechanical vibrations, dramatically reducing user error in touch applications. Haptics can be used in a variety of end equipments, including handsets, tablets, digital cameras touch screens, home appliances, computer accessories, automotive products, and more. Haptics can also be implemented in portable media players to generate subwoofer-like effects using audio-to-haptics technology. Haptics is inexpensive to implement and is also a great way to differentiate products. Immersion is the premier haptics technology provider in the market, and MSP430TCH5E device provides a programmable use of Immersion TouchSense Technology with no additional fees.
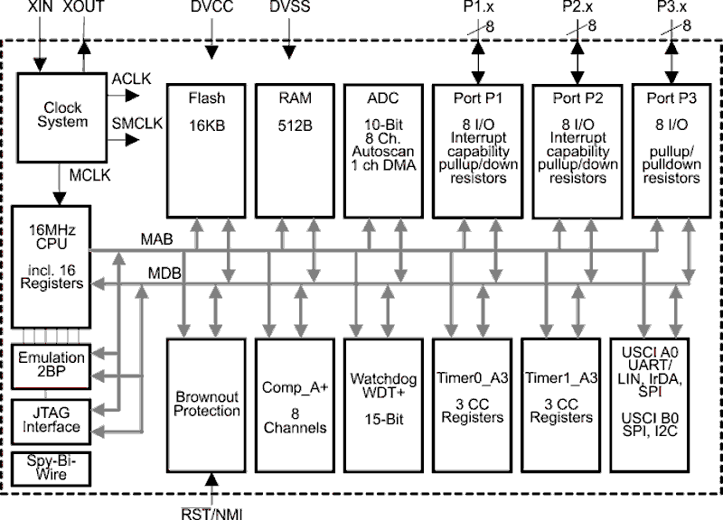
The MSP430TCH5E device belongs to the Texas Instruments MSP430 family of ultra-low-power microcontrollers, which consists of several devices that feature different sets of peripherals targeted for various applications. The architecture, combined with five low-power modes, is optimized to achieve extended battery life in portable measurement applications. The device features a powerful 16-bit RISC CPU, 16-bit registers, and constant generators that contribute to maximum code efficiency. The digitally controlled oscillator (DCO) allows the device to wake up from low-power modes to active mode in less than 1 µs. Peripherals include 16-bit timers, up to 24 Capacitive Touch I/O pins, a versatile analog comparator, a 10-bit analog-to-digital converter (ADC), and built-in communication capability using the universal serial communication interface (USCI).
Capacitive touch buttons are often paired with haptic feedback to improve user experience. The MSP430TCH5E device can support capacitive button, slider, and wheel functionality in conjunction with Immersion TouchSense Haptics Technology. Examples are remote controls, gaming accessories, PC accessories, and control panels on TVs and home appliances.
Typical application configurations include:
Touch-enabled devices where the MSP430TCH5E device is used both as haptics and capacitive touch controller.
Host-controlled systems where an external host controls the MSP43TCH5E haptics controller device.
Application consoles where the MSP430TCH5E device is used as an Audio-to-Haptics controller that converts the audio input to respective haptics effects.
The MSP430TCH5E device is a haptics-enabled MSP430 microcontroller that features Immersion TouchSense Technology. Haptics technology provides tactile feedback, using mechanical vibrations, dramatically reducing user error in touch applications. Haptics can be used in a variety of end equipments, including handsets, tablets, digital cameras touch screens, home appliances, computer accessories, automotive products, and more. Haptics can also be implemented in portable media players to generate subwoofer-like effects using audio-to-haptics technology. Haptics is inexpensive to implement and is also a great way to differentiate products. Immersion is the premier haptics technology provider in the market, and MSP430TCH5E device provides a programmable use of Immersion TouchSense Technology with no additional fees.
The MSP430TCH5E device belongs to the Texas Instruments MSP430 family of ultra-low-power microcontrollers, which consists of several devices that feature different sets of peripherals targeted for various applications. The architecture, combined with five low-power modes, is optimized to achieve extended battery life in portable measurement applications. The device features a powerful 16-bit RISC CPU, 16-bit registers, and constant generators that contribute to maximum code efficiency. The digitally controlled oscillator (DCO) allows the device to wake up from low-power modes to active mode in less than 1 µs. Peripherals include 16-bit timers, up to 24 Capacitive Touch I/O pins, a versatile analog comparator, a 10-bit analog-to-digital converter (ADC), and built-in communication capability using the universal serial communication interface (USCI).
Capacitive touch buttons are often paired with haptic feedback to improve user experience. The MSP430TCH5E device can support capacitive button, slider, and wheel functionality in conjunction with Immersion TouchSense Haptics Technology. Examples are remote controls, gaming accessories, PC accessories, and control panels on TVs and home appliances.
Typical application configurations include:
Touch-enabled devices where the MSP430TCH5E device is used both as haptics and capacitive touch controller.
Host-controlled systems where an external host controls the MSP43TCH5E haptics controller device.
Application consoles where the MSP430TCH5E device is used as an Audio-to-Haptics controller that converts the audio input to respective haptics effects. |