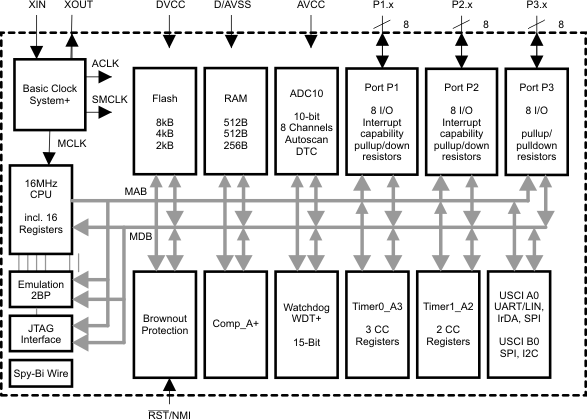
MSP430F201116 MHz MCU with 2KB Flash, 128B SRAM, timer, comparator | Microcontrollers | 7 | Active | The Texas Instruments MSP430 family of ultra-low-power microcontrollers consist of several devices featuring different sets of peripherals targeted for various applications. The architecture, combined with five low-power modes is optimized to achieve extended battery life in portable measurement applications. The device features a powerful 16-bit RISC CPU, 16-bit registers, and constant generators that contribute to maximum code efficiency. The digitally controlled oscillator (DCO) allows wake-up from low-power modes to active mode in less than 1 µs.
The MSP430F20xx series is an ultra-low-power mixed signal microcontroller with a built-in 16-bit timer and ten I/O pins. In addition, the MSP430F20x1 has a versatile analog comparator. The MSP430F20x2 and MSP430F20x3 have built-in communication capability using synchronous protocols (SPI or I2C) and a 10-bit A/D converter (MSP430F20x2) or a 16-bit sigma-delta A/D converter (MSP430F20x3).
Typical applications include sensor systems that capture analog signals, convert them to digital values, and then process the data for display or for transmission to a host system. Stand alone RF sensor front end is another area of application.
The Texas Instruments MSP430 family of ultra-low-power microcontrollers consist of several devices featuring different sets of peripherals targeted for various applications. The architecture, combined with five low-power modes is optimized to achieve extended battery life in portable measurement applications. The device features a powerful 16-bit RISC CPU, 16-bit registers, and constant generators that contribute to maximum code efficiency. The digitally controlled oscillator (DCO) allows wake-up from low-power modes to active mode in less than 1 µs.
The MSP430F20xx series is an ultra-low-power mixed signal microcontroller with a built-in 16-bit timer and ten I/O pins. In addition, the MSP430F20x1 has a versatile analog comparator. The MSP430F20x2 and MSP430F20x3 have built-in communication capability using synchronous protocols (SPI or I2C) and a 10-bit A/D converter (MSP430F20x2) or a 16-bit sigma-delta A/D converter (MSP430F20x3).
Typical applications include sensor systems that capture analog signals, convert them to digital values, and then process the data for display or for transmission to a host system. Stand alone RF sensor front end is another area of application. |
MSP430F201216 MHz MCU with 2KB Flash, 128B SRAM, 10-bit ADC, timer, I2C/SPI | Integrated Circuits (ICs) | 7 | Active | The Texas Instruments MSP430 family of ultra-low-power microcontrollers consist of several devices featuring different sets of peripherals targeted for various applications. The architecture, combined with five low-power modes is optimized to achieve extended battery life in portable measurement applications. The device features a powerful 16-bit RISC CPU, 16-bit registers, and constant generators that contribute to maximum code efficiency. The digitally controlled oscillator (DCO) allows wake-up from low-power modes to active mode in less than 1 µs.
The MSP430F20xx series is an ultra-low-power mixed signal microcontroller with a built-in 16-bit timer and ten I/O pins. In addition, the MSP430F20x1 has a versatile analog comparator. The MSP430F20x2 and MSP430F20x3 have built-in communication capability using synchronous protocols (SPI or I2C) and a 10-bit A/D converter (MSP430F20x2) or a 16-bit sigma-delta A/D converter (MSP430F20x3).
Typical applications include sensor systems that capture analog signals, convert them to digital values, and then process the data for display or for transmission to a host system. Stand alone RF sensor front end is another area of application.
The Texas Instruments MSP430 family of ultra-low-power microcontrollers consist of several devices featuring different sets of peripherals targeted for various applications. The architecture, combined with five low-power modes is optimized to achieve extended battery life in portable measurement applications. The device features a powerful 16-bit RISC CPU, 16-bit registers, and constant generators that contribute to maximum code efficiency. The digitally controlled oscillator (DCO) allows wake-up from low-power modes to active mode in less than 1 µs.
The MSP430F20xx series is an ultra-low-power mixed signal microcontroller with a built-in 16-bit timer and ten I/O pins. In addition, the MSP430F20x1 has a versatile analog comparator. The MSP430F20x2 and MSP430F20x3 have built-in communication capability using synchronous protocols (SPI or I2C) and a 10-bit A/D converter (MSP430F20x2) or a 16-bit sigma-delta A/D converter (MSP430F20x3).
Typical applications include sensor systems that capture analog signals, convert them to digital values, and then process the data for display or for transmission to a host system. Stand alone RF sensor front end is another area of application. |
MSP430F2013-EPEnhanced Product 16-bit Ultra-Low-Power Microcontroller, 2kB Flash, 128B RAM, 16-Bit Sigma-Delta A/D | Integrated Circuits (ICs) | 7 | Active | The Texas Instruments MSP430 family of ultra-low-power microcontrollers consist of several devices featuring different sets of peripherals targeted for various applications. The architecture, combined with five low-power modes is optimized to achieve extended battery life in portable measurement applications. The device features a powerful 16-bit RISC CPU, 16-bit registers, and constant generators that contribute to maximum code efficiency. The digitally controlled oscillator (DCO) allows wake-up from low-power modes to active mode in less than 1 µs.
The MSP430F20xx series is an ultra-low-power mixed signal microcontroller with a built-in 16-bit timer and ten I/O pins. In addition, the MSP430F20x1 has a versatile analog comparator. The MSP430F20x2 and MSP430F20x3 have built-in communication capability using synchronous protocols (SPI or I2C) and a 10-bit A/D converter (MSP430F20x2) or a 16-bit sigma-delta A/D converter (MSP430F20x3).
Typical applications include sensor systems that capture analog signals, convert them to digital values, and then process the data for display or for transmission to a host system. Stand alone RF sensor front end is another area of application.
The Texas Instruments MSP430 family of ultra-low-power microcontrollers consist of several devices featuring different sets of peripherals targeted for various applications. The architecture, combined with five low-power modes is optimized to achieve extended battery life in portable measurement applications. The device features a powerful 16-bit RISC CPU, 16-bit registers, and constant generators that contribute to maximum code efficiency. The digitally controlled oscillator (DCO) allows wake-up from low-power modes to active mode in less than 1 µs.
The MSP430F20xx series is an ultra-low-power mixed signal microcontroller with a built-in 16-bit timer and ten I/O pins. In addition, the MSP430F20x1 has a versatile analog comparator. The MSP430F20x2 and MSP430F20x3 have built-in communication capability using synchronous protocols (SPI or I2C) and a 10-bit A/D converter (MSP430F20x2) or a 16-bit sigma-delta A/D converter (MSP430F20x3).
Typical applications include sensor systems that capture analog signals, convert them to digital values, and then process the data for display or for transmission to a host system. Stand alone RF sensor front end is another area of application. |
MSP430F210116 MHz MCU with 1KB Flash, 128B SRAM, timer, comparator | Microcontrollers | 11 | Active | The Texas Instruments MSP430 family of ultra-low-power microcontrollers consist of several devices featuring different sets of peripherals targeted for various applications. The architecture, combined with five low-power modes, is optimized to achieve extended battery life in portable measurement applications. The device features a powerful 16-bit RISC CPU, 16-bit registers, and constant generators that contribute to maximum code efficiency.The digitally controlled oscillator (DCO) allows wake-up from low-power modes to active mode in less than 1 µs.
The MSP430x21x1 series is an ultra-low-power mixed signal microcontroller with a built-in 16-bit timer, versatile analog comparator, and sixteen I/O pins.
Typical applications include sensor systems that capture analog signals, convert themto digital values, and then process the data for display or for transmission to a host system. Stand-alone RF sensor front end is another area of application. The analog comparator provides slope A/D conversion capability.
The Texas Instruments MSP430 family of ultra-low-power microcontrollers consist of several devices featuring different sets of peripherals targeted for various applications. The architecture, combined with five low-power modes, is optimized to achieve extended battery life in portable measurement applications. The device features a powerful 16-bit RISC CPU, 16-bit registers, and constant generators that contribute to maximum code efficiency.The digitally controlled oscillator (DCO) allows wake-up from low-power modes to active mode in less than 1 µs.
The MSP430x21x1 series is an ultra-low-power mixed signal microcontroller with a built-in 16-bit timer, versatile analog comparator, and sixteen I/O pins.
Typical applications include sensor systems that capture analog signals, convert themto digital values, and then process the data for display or for transmission to a host system. Stand-alone RF sensor front end is another area of application. The analog comparator provides slope A/D conversion capability. |
MSP430F211116 MHz MCU with 2KB Flash, 128B SRAM, timer, comparator | Embedded | 10 | Active | The Texas Instruments MSP430 family of ultra-low-power microcontrollers consist of several devices featuring different sets of peripherals targeted for various applications. The architecture, combined with five low-power modes, is optimized to achieve extended battery life in portable measurement applications. The device features a powerful 16-bit RISC CPU, 16-bit registers, and constant generators that contribute to maximum code efficiency.The digitally controlled oscillator (DCO) allows wake-up from low-power modes to active mode in less than 1 µs.
The MSP430x21x1 series is an ultra-low-power mixed signal microcontroller with a built-in 16-bit timer, versatile analog comparator, and sixteen I/O pins.
Typical applications include sensor systems that capture analog signals, convert themto digital values, and then process the data for display or for transmission to a host system. Stand-alone RF sensor front end is another area of application. The analog comparator provides slope A/D conversion capability.
The Texas Instruments MSP430 family of ultra-low-power microcontrollers consist of several devices featuring different sets of peripherals targeted for various applications. The architecture, combined with five low-power modes, is optimized to achieve extended battery life in portable measurement applications. The device features a powerful 16-bit RISC CPU, 16-bit registers, and constant generators that contribute to maximum code efficiency.The digitally controlled oscillator (DCO) allows wake-up from low-power modes to active mode in less than 1 µs.
The MSP430x21x1 series is an ultra-low-power mixed signal microcontroller with a built-in 16-bit timer, versatile analog comparator, and sixteen I/O pins.
Typical applications include sensor systems that capture analog signals, convert themto digital values, and then process the data for display or for transmission to a host system. Stand-alone RF sensor front end is another area of application. The analog comparator provides slope A/D conversion capability. |
| Integrated Circuits (ICs) | 8 | Active | |
MSP430F212116 MHz MCU with 4KB Flash, 256B SRAM, timer, comparator | Microcontrollers | 11 | Active | The Texas Instruments MSP430 family of ultra-low-power microcontrollers consist of several devices featuring different sets of peripherals targeted for various applications. The architecture, combined with five low-power modes, is optimized to achieve extended battery life in portable measurement applications. The device features a powerful 16-bit RISC CPU, 16-bit registers, and constant generators that contribute to maximum code efficiency.The digitally controlled oscillator (DCO) allows wake-up from low-power modes to active mode in less than 1 µs.
The MSP430x21x1 series is an ultra-low-power mixed signal microcontroller with a built-in 16-bit timer, versatile analog comparator, and sixteen I/O pins.
Typical applications include sensor systems that capture analog signals, convert themto digital values, and then process the data for display or for transmission to a host system. Stand-alone RF sensor front end is another area of application. The analog comparator provides slope A/D conversion capability.
The Texas Instruments MSP430 family of ultra-low-power microcontrollers consist of several devices featuring different sets of peripherals targeted for various applications. The architecture, combined with five low-power modes, is optimized to achieve extended battery life in portable measurement applications. The device features a powerful 16-bit RISC CPU, 16-bit registers, and constant generators that contribute to maximum code efficiency.The digitally controlled oscillator (DCO) allows wake-up from low-power modes to active mode in less than 1 µs.
The MSP430x21x1 series is an ultra-low-power mixed signal microcontroller with a built-in 16-bit timer, versatile analog comparator, and sixteen I/O pins.
Typical applications include sensor systems that capture analog signals, convert themto digital values, and then process the data for display or for transmission to a host system. Stand-alone RF sensor front end is another area of application. The analog comparator provides slope A/D conversion capability. |
| Microcontrollers | 9 | Active | |
MSP430F213116 MHz MCU with 8KB Flash, 256B SRAM, timer, comparator | Microcontrollers | 14 | Active | The Texas Instruments MSP430 family of ultra-low-power microcontrollers consist of several devices featuring different sets of peripherals targeted for various applications. The architecture, combined with five low-power modes, is optimized to achieve extended battery life in portable measurement applications. The device features a powerful 16-bit RISC CPU, 16-bit registers, and constant generators that contribute to maximum code efficiency.The digitally controlled oscillator (DCO) allows wake-up from low-power modes to active mode in less than 1 µs.
The MSP430x21x1 series is an ultra-low-power mixed signal microcontroller with a built-in 16-bit timer, versatile analog comparator, and sixteen I/O pins.
Typical applications include sensor systems that capture analog signals, convert themto digital values, and then process the data for display or for transmission to a host system. Stand-alone RF sensor front end is another area of application. The analog comparator provides slope A/D conversion capability.
The Texas Instruments MSP430 family of ultra-low-power microcontrollers consist of several devices featuring different sets of peripherals targeted for various applications. The architecture, combined with five low-power modes, is optimized to achieve extended battery life in portable measurement applications. The device features a powerful 16-bit RISC CPU, 16-bit registers, and constant generators that contribute to maximum code efficiency.The digitally controlled oscillator (DCO) allows wake-up from low-power modes to active mode in less than 1 µs.
The MSP430x21x1 series is an ultra-low-power mixed signal microcontroller with a built-in 16-bit timer, versatile analog comparator, and sixteen I/O pins.
Typical applications include sensor systems that capture analog signals, convert themto digital values, and then process the data for display or for transmission to a host system. Stand-alone RF sensor front end is another area of application. The analog comparator provides slope A/D conversion capability. |
| Integrated Circuits (ICs) | 9 | Active | |